Buckling Load Equation for Eccentrically Loaded Rectangular Solid Column

Click For Summary
SUMMARY

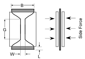
The discussion focuses on the derivation of the buckling load equation for an eccentrically loaded rectangular solid column. The transition from equation (1) to equation (2) is clarified through substitutions involving the geometry of the specimen, specifically the cross-sectional area (A), eccentricity (e), and the dimensions B and t. The last term in equation (2), 6e/t, is derived by replacing the distance from the neutral axis to the outer fiber (c) with t/2 and substituting the radius of gyration (r²) with the moment of inertia (I) over the area (A). This derivation is essential for understanding the behavior of short eccentrically loaded columns.

PREREQUISITES
  • Understanding of buckling load concepts in structural engineering
  • Familiarity with the equations of mechanics of materials
  • Knowledge of moment of inertia calculations
  • Basic principles of eccentric loading in columns
NEXT STEPS
  • Study the derivation of the moment of inertia for various cross-sectional shapes
  • Learn about the Euler-Bernoulli beam theory for buckling analysis
  • Explore the effects of eccentric loading on different column geometries
  • Investigate numerical methods for analyzing buckling in structural elements
USEFUL FOR

Structural engineers, mechanical engineers, and students studying mechanics of materials who are involved in the design and analysis of columns under eccentric loading conditions.

mhajinaw
Messages
2
Reaction score
0

Homework Statement


I'm reading a paper and I'm trying to understand how does the author arrived from equation (1) to the following buckling load equation (2). I know that the author substitutes equation (1) with the dimensions of the geometry but I still could not understand how he comes to last term 6e/t in equation (2).
Geom.PNG

Homework Equations


P=Aσmax / [1+ec/r2] (1)

P=Btσy / [1+6e/t] (2)

where;
A=cross-sectional area of column
e=eccentricity
B,t=geometry of specimen (refer to attached figure)
c= distance from neutral axis to the outer fiber where σmax occurs
r, radius of gyration, r2=I/A where I is the moment of inertia computed about the bending axis

The Attempt at a Solution


I tried to play around by substituting r2 with I/A. But I don't know how can I expand the results afterwards. Maybe there are some simplifications that I missed.
 
Physics news on Phys.org
mhajinaw said:

Homework Statement


I'm reading a paper and I'm trying to understand how does the author arrived from equation (1) to the following buckling load equation (2). I know that the author substitutes equation (1) with the dimensions of the geometry but I still could not understand how he comes to last term 6e/t in equation (2).
View attachment 111853

Homework Equations


P=Aσmax / [1+ec/r2] (1)

P=Btσy / [1+6e/t] (2)

where;
A=cross-sectional area of column
e=eccentricity
B,t=geometry of specimen (refer to attached figure)
c= distance from neutral axis to the outer fiber where σmax occurs
r, radius of gyration, r2=I/A where I is the moment of inertia computed about the bending axis

The Attempt at a Solution


I tried to play around by substituting r2 with I/A. But I don't know how can I expand the results afterwards. Maybe there are some simplifications that I missed.
The first equation represents loading on a relatively short eccentric/ compression loaded column; the second appears to be that same formula when the max stress reaches yield on a eccentrically loaded rectangular solid column of width B and depth t (found by replacing c with t/2, the distance from section centroid to outer fiber, and by replacing r^2 with I/A, where I is Bt^3/12, and A is Bt). That's the only sense I can make of the 2nd equation.
 
Last edited:

Similar threads

  • · Replies 3 ·
Replies
3
Views
2K
  • · Replies 3 ·
Replies
3
Views
2K
Replies
10
Views
4K
  • · Replies 24 ·
Replies
24
Views
5K
  • · Replies 12 ·
Replies
12
Views
2K
  • · Replies 4 ·
Replies
4
Views
3K
Replies
2
Views
3K
  • · Replies 7 ·
Replies
7
Views
6K
Replies
1
Views
3K
  • · Replies 1 ·
Replies
1
Views
5K