Force of impact when dropping an object on the floor

  • Thread starter Thread starter fog37
  • Start date Start date
  • Tags Tags
    Force Impact
Click For Summary

Discussion Overview

The discussion revolves around calculating the force of impact when dropping an object, specifically a metal dumbbell, onto a concrete floor. Participants explore the complexities of impact forces, including the inelastic nature of the collision and the challenges in determining the time or distance over which the object comes to rest.

Discussion Character

  • Exploratory
  • Technical explanation
  • Debate/contested
  • Experimental/applied

Main Points Raised

  • Some participants note that the force of impact is not constant and varies with distance and time.
  • One participant suggests that to compute a single numerical value of force, one must consider the maximum force rather than just the average force.
  • There is a discussion about the difficulty of estimating the time of impact or distance of impact for materials like concrete and steel.
  • One participant proposes conducting simple experiments to observe the effects of dropping a dumbbell on different surfaces to estimate peak force based on damage.
  • Another participant shares their experience with accelerometers, indicating that a 50G accelerometer is insufficient for measuring such impacts, while a 500G accelerometer might be adequate.
  • A participant references a specific patent application to illustrate the magnitude of impact forces and discusses their experience with measuring dynamic phenomena, including the use of high-speed video to analyze impacts.

Areas of Agreement / Disagreement

Participants generally agree on the complexity of calculating impact forces and the variability of these forces. However, there is no consensus on the best method to determine the time or distance of impact, and multiple viewpoints on experimental approaches and theoretical calculations remain present.

Contextual Notes

Participants acknowledge the limitations of hand calculations for estimating impact forces due to the complexity of the system and the dependence on material properties and deformation characteristics.

fog37
Messages
1,566
Reaction score
108
Hello,

I understand that when we drop an object from a certain height on the floor, there is a force of impact (action reaction) once the object reaches the ground. I can easily calculate the final speed of the dropped object before the impact but I need to know either the time or the distance over which the dropped object is brought to rest by the floor to determine the force of impact.

If a metal dumbbell was dropped on a concrete floor, how could I determine the impact force? The collision is clearly inelastic since the dumbbell does not bounce back up. All the kinetic energy is converted into heat of the floor and dumbbell. The coefficient of restitution of the two materials would be zero. How can I know how much the concrete floor and dumbbell deform?

Thanks
 
Engineering news on Phys.org
fog37 said:
I understand that when we drop an object from a certain height on the floor, there is a force of impact (action reaction) once the object reaches the ground.
It isn't "a" force in the sense of being a constant force. It would vary with distance and time.

I can easily calculate the final speed of the dropped object before the impact but I need to know either the time or the distance over which the dropped object is brought to rest by the floor to determine the force of impact.
That would allow you calculate an average force with respect to distance or an average force with respect to time, but the numerical value of the two averages need not be the same. If you are trying to compute a single numerical value of force, what would you use that numerical value for? For example, if you were trying to design a floor to resist the impact of a dumbbell, you might have to worry about the maximum force , not just the average force.
 
Thanks Stephen Tashi,
I can see how the force of impact would vary and it would be sensible to compute the max force. But given the change in momentum, the force is F= Delta_v / Delta_t which means I need the time of impact (or the distance of impact)...How do I get to that for materials like concrete and steel?
 
Short answer is that you can't. Even a rough estimate is difficult because the system is too complex to analyze using hand calculations. I do know that attempting to measure a similar impact with a 50G accelerometer will not work, and a 500G accelerometer might work. But don't count on it.

You could try some simple experiments. Drop a dumbbell on the floor or on an object such as a penny. Does the floor dent the dumbbell? Does the dumbbell chip the floor or dent the penny? If so, you can estimate peak force from the size of the damage and material properties. Such an estimate, while rough, will be more accurate than a theoretical calculation.
 
  • Like
Likes   Reactions: Dr.D
JRMichler said:
I do know that attempting to measure a similar impact with a 50G accelerometer will not work, and a 500G accelerometer might work.
Mostly out of curiosity... how do you happen to know this?
 
Short answer: BTDT.

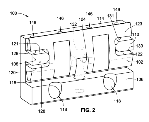
Slightly longer answer: I've done a lot of work with measuring dynamic phenomena: forces, stresses, vibrations, speed, acceleration. I don't have a good example of an impact that saturated a 500 G accelerometer, but the figure below is an interesting example of just how large impact forces can be. It's from US Patent Application 20130184139. You can look up the application at patft.uspto.gov. Click on Number Search under AppFT: Applications, then enter the number. Part 102 is about 3/16" thick, slightly over 1" wide, about 2" long, and made of steel. Part 106 was made from Nylatron. Spring 104 is about the size and stiffness of a ball point pen spring. In use, part 102 is pushed down about 1/16", then released. The spring pushes it outward until part 102 hits the stops at 120 and 122. That impact broke pins 108 and 110. We were able to observe the impact using high speed video at 10,000 frames per second, and measure the impact velocity and duration. From that, and assuming elastic impact, the peak impact force was calculated at slightly over 100 lbs. Some FEA work with part 106 showed stresses that completely explained the failures.

upload_2017-10-6_8-21-4.png
 

Similar threads

  • · Replies 5 ·
Replies
5
Views
3K
Replies
1
Views
2K
Replies
13
Views
4K
  • · Replies 4 ·
Replies
4
Views
3K
Replies
11
Views
5K
  • · Replies 7 ·
Replies
7
Views
1K
  • · Replies 2 ·
Replies
2
Views
2K
  • · Replies 3 ·
Replies
3
Views
11K
Replies
14
Views
4K
  • · Replies 5 ·
Replies
5
Views
2K