Improving Flawed Scooter Models: Identifying and Fixing Design Issues

  • Thread starter Thread starter Mordrago
  • Start date Start date
  • Tags Tags
    Scooter
Click For Summary
SUMMARY

The discussion focuses on identifying and improving design flaws in scooter models. Participants emphasize the absence of bearings as a significant issue, suggesting that multiple design problems exist. The conversation encourages thorough analysis and documentation of flaws to facilitate effective solutions. Engaging with peers for feedback and hints is also highlighted as a crucial step in the improvement process.

PREREQUISITES
  • Understanding of mechanical design principles
  • Familiarity with scooter components and their functions
  • Basic problem-solving skills in engineering contexts
  • Ability to analyze and document design flaws
NEXT STEPS
  • Research common design flaws in scooter models
  • Learn about bearing types and their roles in mechanical systems
  • Explore methods for conducting design reviews and evaluations
  • Investigate tools for prototyping and testing scooter designs
USEFUL FOR

Engineering students, product designers, and anyone involved in mechanical design and improvement of scooter models.

Mordrago

Homework Statement


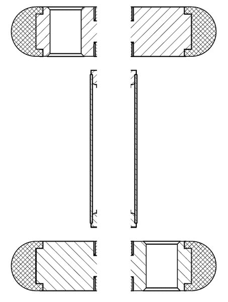
I have models of scooter with some flawes made on purpos. I must improve this, and point all flaws.

Homework Equations


Lack of equations.

The Attempt at a Solution


In my opinion, we do not have bearings here. However I think it's not just one problem.
 

Attachments

  • hulajnoga.png
    hulajnoga.png
    6.4 KB · Views: 475
  • hulajnoga_rysunek.png
    hulajnoga_rysunek.png
    17.6 KB · Views: 515
  • hulajnoga_rysunek_czysty.png
    hulajnoga_rysunek_czysty.png
    15.5 KB · Views: 520
Physics news on Phys.org
Mordrago said:

Homework Statement


I have models of scooter with some flawes made on purpos. I must improve this, and point all flaws.

Homework Equations


Lack of equations.

The Attempt at a Solution


In my opinion, we do not have bearings here. However I think it's not just one problem.
Welcome to the PF. :smile:

What does the 2nd drawing represent?

Also, please try a bit more to find and post some flaws. After you can post 3-4 more (if there are that many), we may be able to offer some hints or ask some questions. It's important for you to show lots of effort on your schoolwork problems here at the PF. Thanks.
 

Similar threads

Replies
1
Views
2K
  • · Replies 6 ·
Replies
6
Views
2K
  • · Replies 3 ·
Replies
3
Views
2K
  • · Replies 1 ·
Replies
1
Views
2K
  • · Replies 3 ·
Replies
3
Views
3K
  • · Replies 13 ·
Replies
13
Views
7K
  • · Replies 1 ·
Replies
1
Views
3K
  • · Replies 5 ·
Replies
5
Views
3K
  • · Replies 7 ·
Replies
7
Views
3K
  • · Replies 6 ·
Replies
6
Views
3K