What effect would a 500lb-horizontal force have on a strut at a 90 degree angle?

  • Thread starter Thread starter spotty
  • Start date Start date
  • Tags Tags
    Force
Click For Summary
SUMMARY

The discussion centers on a MATLAB programming exercise involving the analysis of forces acting on a strut at a 90-degree angle. The problem requires determining the angle ø such that a 500-lb horizontal force has a component of 600-lb directed from point A towards point C. The participant's initial solution utilized a right triangle approach, calculating the angle phi as cos(x) = 500 / 600 = 33.56 degrees. However, the correct method involves applying the law of sines, emphasizing that the three forces acting on point A must sum to zero, indicating a misunderstanding in the initial approach.

PREREQUISITES
  • Understanding of vector forces and components
  • Knowledge of the law of sines in trigonometry
  • Familiarity with MATLAB for programming exercises
  • Basic principles of static equilibrium in physics
NEXT STEPS
  • Study the application of the law of sines in force analysis
  • Learn about static equilibrium and the conditions for forces to balance
  • Explore MATLAB functions for vector calculations
  • Investigate right triangle trigonometry and its applications in physics
USEFUL FOR

Students in engineering or physics courses, particularly those focusing on statics and force analysis, as well as anyone using MATLAB for similar programming exercises.

spotty
Messages
1
Reaction score
0
the problem is actually for a MATLAB programming exercise. the math is really simple but I want to know if my alternate solution works compared to the "hints" the prof gave us. (sorry if we aren't supposed to put images directly into threads but I'm in a hurry and I didn't see anything relevant in the rules)

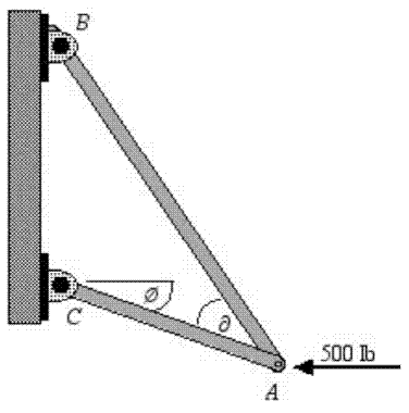
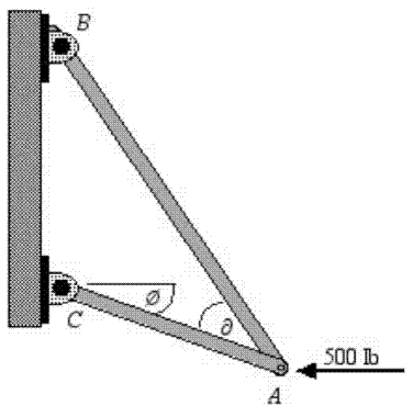
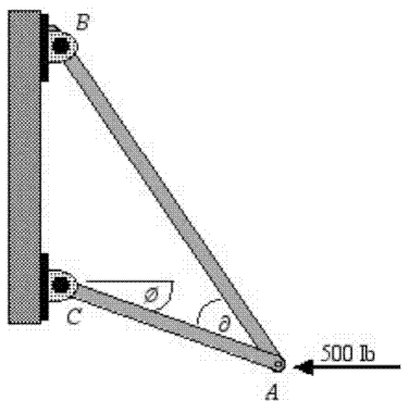
Homework Statement


"As shown in the following figure, we know the angle between the two struts, denoted by ∂, in the range 0-90 degrees. Determine the angle ø so that a 500-lb horizontal force has a component of 600-lb directed from A towards C. Also, you need to determine how much the component of force acting along member BA is."

sm8r54.gif



2. The attempt at a solution
I figure that the horizontal force must form a right triangle with the force along AC, so the angle between them (phi) must be cos (x) = 500 / 600 = 33.56 degrees.
2s1roew.gif


the solution given to us (below) was to use the law of sines, which makes sense to me, but what is wrong about my solution?
21o7ef.gif


the difference seems to be that when using the right-angle method, a steeper angle = greater force. The closer the angle is to being horizontal, the closer the force is to 500- makes sense to me. My real question is, what effect would a 500lb-horizontal force have on the strut if it hit it at 90 degrees? 0lb (0/500), or 500(500/1)?
 

Attachments

  • sm8r54.gif
    sm8r54.gif
    8 KB · Views: 652
Physics news on Phys.org
The key to the problem is to realize that the three forces acting on point A must add up to zero, because that point is not accelerating. In the second solution, these forces are arranged in head-to-tail fashion beginning and ending at A so the total is zero. It is unfortunate that the arrowhead on the A to C vector is backwards so it is hard to see this.

In your first solution, I do not see anything to indicate that the 3 forces are adding to zero. The AB vector is not even shown. It does not seem to have anything to do with the problem at all.
 

Similar threads

  • · Replies 14 ·
Replies
14
Views
3K
  • · Replies 4 ·
Replies
4
Views
2K
Replies
5
Views
8K
Replies
1
Views
2K
  • · Replies 1 ·
Replies
1
Views
4K
Replies
2
Views
3K
  • · Replies 9 ·
Replies
9
Views
5K
  • · Replies 24 ·
Replies
24
Views
4K
  • · Replies 4 ·
Replies
4
Views
5K
  • · Replies 8 ·
Replies
8
Views
3K