How Does a DAC Converter Work?

  • Thread starter Thread starter akkex
  • Start date Start date
  • Tags Tags
    Converter Works
Click For Summary
SUMMARY

This discussion centers on the operation and analysis of Digital-to-Analog Converters (DACs), specifically addressing the concept of a WATERFALL converter, which is likely a misnomer for a known type of converter. Key problems include deducing output voltage (Vo) based on input voltage (Vb) and binary values (B), as well as determining the necessary sampling rates and bit depth for a signal with a maximum frequency of 10 MHz and a signal-to-noise ratio of 60 dB. The conversation emphasizes the importance of providing detailed explanations and block diagrams for clarity in understanding DAC operations.

PREREQUISITES
  • Understanding of Digital-to-Analog Conversion principles
  • Familiarity with signal processing concepts, including sampling rates and bit depth
  • Knowledge of Thévenin's theorem in circuit analysis
  • Experience with block diagram representation of electronic systems
NEXT STEPS
  • Research the operation of standard DACs and their applications in electronics
  • Learn about sampling theory and the Nyquist-Shannon sampling theorem
  • Explore the characteristics and design of various types of DACs, including R-2R ladder and sigma-delta converters
  • Study the implications of signal-to-noise ratio in digital signal processing
USEFUL FOR

Electronics engineers, students in electrical engineering, and professionals involved in the design and analysis of digital-to-analog conversion systems.

akkex
Messages
3
Reaction score
0
Hi guys! I´m doing a project of electronics if anyone can help me to realize it or to see the theory questions i can try to do it.

1. Homework Statement


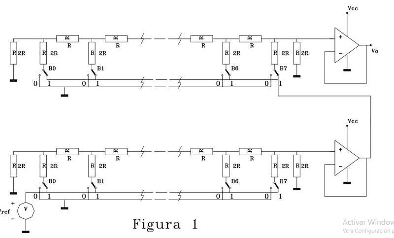
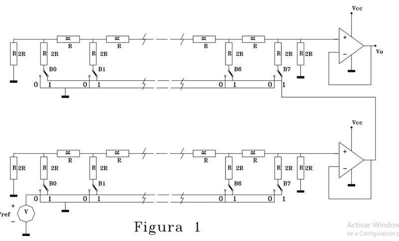
Problem one (figure 1)

1)Two DACs are connected in the manner indicated in figure 1:
a)Deduce Vo based on Vb and B (t).
b)For what values of B is V0 defined?

2)Explain in detail the operation of a WATERFALL converter. Use a block diagram indicating how to carry out the conversion.

3)The digital conversion of a signal with the following characteristics is desired: Maximum frequency: 10 Mhz. Signal noise ratio S / N = 60dB. a) How many samples should be taken? b) What is the minimum number of bits of the conversion? Argue your answers

Problem two (figure 2)

1)Explain in detail the operation of a waterfall converter. Show that the conversion takes place

2)In the circuit of figure 1 determine Vo in terms of B and Vref

3)In an industrial installation it is necessary to send to the process control five signals of a chemical reaction. The signals and their specifications are as follows:

Sign # 1: Reaction temperature (Tr). The maximum frequency of the same one is of 10 Hz. 8 bits of conversion. Signal # 2: Pressure in the reactor (Pr). The maximum frequency of the same one is of 10 MHz. 8 bits of conversion. Signal # 3: Inlet flow # 1 (Qi1). The maximum frequency of the same is 10 KHz. 8 bits of conversión.

Homework Equations



Thévenin !

The Attempt at a Solution



I do not know
 

Attachments

  • Figure 1.jpg
    Figure 1.jpg
    24.2 KB · Views: 385
  • Figure 2.jpg
    Figure 2.jpg
    26.1 KB · Views: 353
Physics news on Phys.org
Welcome to PF.

Our homework helpers can give you hints, or they can show where your work is wrong, but they are not allowed to just give you the answer. If you want help, attempt a solution and show us your work.
 
Could you also post the figures? I design data converters for a living and I've never heard of a WATERFALL converter. It must be another name for something else, but I can't help if I don't know what the problem is asking.
 

Similar threads

  • · Replies 7 ·
Replies
7
Views
4K
  • · Replies 1 ·
Replies
1
Views
3K
  • · Replies 10 ·
Replies
10
Views
4K
Replies
6
Views
2K
  • · Replies 4 ·
Replies
4
Views
1K
  • · Replies 1 ·
Replies
1
Views
2K
  • · Replies 3 ·
Replies
3
Views
2K
  • · Replies 6 ·
Replies
6
Views
2K
Replies
17
Views
6K