Is moment of inertia only for rotating objects?

Click For Summary

Homework Help Overview

The discussion revolves around a problem involving a rod and a disc system performing simple harmonic motion (SHM). The inquiry focuses on comparing the restoring torque and angular frequency in two scenarios: one where the disc cannot rotate and another where it can rotate about its center. Participants are exploring the implications of moment of inertia in both cases.

Discussion Character

  • Mixed

Approaches and Questions Raised

  • Participants are debating the effects of moment of inertia on the system's behavior in both cases. Some believe the restoring torques are the same, while others suggest that hinge forces and the rotational state of the disc will impact the restoring torque and frequency. Questions about the nature of moment of inertia and its relevance when the disc does not rotate are also raised.

Discussion Status

The discussion is active, with various interpretations being explored. Some participants are questioning the assumptions regarding the moment of inertia and its application in non-rotating scenarios. There is no explicit consensus, but several participants are providing insights and clarifications about the concepts involved.

Contextual Notes

Participants are grappling with the definitions and implications of moment of inertia, particularly in relation to objects that do not rotate. The wording of the problem has led to some confusion regarding the conditions of rotation and the role of hinge forces.

Titan97
Gold Member
Messages
450
Reaction score
18

Homework Statement


A rod attached to a ceiling at one end and a disc on the other end is performing SHM. In case (1) the disc cannot rotate. In case (2) the disc can rotate about its centre. Compare the restoring torque and angular frequency in both cases.

Homework Equations


$$T=2\pi\sqrt{\frac{I}{MgL}}$$

The Attempt at a Solution


I think the restoring torques are same. But my friend says there will be hinge forces that will affect the restoring torque in case (2) because of rotation of disc which causes centripetal force on disc.

In the second question, again we got different answers. Using the formula specified above, the frequency will be different because of an additional moment of inertia in case (2). My friend told that even if the disc is not rotating in case (1), it's moment of inertia is still ##\frac{Mr^2}{2}##. So he says the the frequency is same.
I am confused now. Is moment of inertia only for rotating objects?

(Both my answers match with the given solution)
 
Physics news on Phys.org
Friend has things mixed up: in case (2) disk can rotate and if there is no friction at the axis of rotation, disk does not rotate (since there is nothing that can make it do so). It behaves as a weight concentrated at its center.
Titan97 said:
I think the restoring torques are same.
So do I. You probably even have an expression for it from which that can be seen.
Titan97 said:
Using the formula specified above, the frequency will be different because of an additional moment of inertia in case (2).
Difficult to stay consistent here, eh ? In case (1) the disk rotates. In case (2) it does not. See above. Anyway, friend is wrong.
 
  • Like
Likes   Reactions: Titan97 and gracy
So moment of inertia is only for rotating objects? Also, can you elaborate on hinge forces that act when the disc rotates? The hinge force can have a component along the perpendicular to the rod which can exert torque.
 
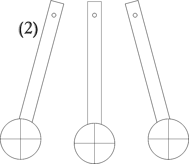
upload_2016-2-29_19-27-7.png


Case (1) requires the disk to rotate: pins or glue at the red dots exercise torque.

In case (2) that is not so

upload_2016-2-29_19-26-31.png


And I don't know about hinge forces. What's that :smile: ?
 
  • Like
Likes   Reactions: Titan97
The wording of the question is a little unfortunate. I assume case 1 means the disc cannot rotate relative to the rod, and therefore it does rotate relative to the rod's pivot.
I believe a hinge force refers to the radial force when an object rotates about a hinge, i.e. the tension providing the centripetal force. If so, it has no relevance to this question.
 
  • Like
Likes   Reactions: CrazyNinja and Titan97
@haruspex won't the moment of inertia be same in both cases?
 
No. That's the whole point of the exercise !
 
@BvU those diagrams are clear. Nice job. In the second case, the disc is not rotating. But even if it does not raotate, the moment of inertia of a disc is ##\frac{mr^2}{2}##
 
Titan97 said:
@BvU those diagrams are clear. Nice job. In the second case, the disc is not rotating. But even if it does not raotate, the moment of inertia of a disc is ##\frac{mr^2}{2}##
Not sure what point you are making. Yes, that's the moment of inertia of a disk about its centre, but if it is not going to rotate about its centre it might as well be a point mass.
 
  • #10
So moment of inertia of an object that does not rotate about any point is zero?
 
  • #11
Titan97 said:
So moment of inertia of an object that does not rotate about any point is zero?
No, that's not what I wrote. The moment of inertia (about a given axis) is an intrinsic property, regardless of the state of motion, somewhat like mass. But it is not of interest in an arrangement in which it never actually rotates. In such an arrangement, it might as well be a point mass.
 
  • Like
Likes   Reactions: Titan97
  • #12
Titan97 said:

Homework Statement


A rod attached to a ceiling at one end and a disc on the other end is performing SHM. In case (1) the disc cannot rotate. In case (2) the disc can rotate about its centre. Compare the restoring torque and angular frequency in both cases.

Homework Equations

$$T=2\pi\sqrt{\frac{I}{MgL}}$$

The Attempt at a Solution


I think the restoring torques are same. But my friend says there will be hinge forces that will affect the restoring torque in case (2) because of rotation of disc which causes centripetal force on disc.

In the second question, again we got different answers. Using the formula specified above, the frequency will be different because of an additional moment of inertia in case (2). My friend told that even if the disc is not rotating in case (1), it's moment of inertia is still ##\frac{Mr^2}{2}##. So he says the the frequency is same.
I am confused now. Is moment of inertia only for rotating objects?

(Both my answers match with the given solution)
Moment of Inertia is useful for analyzing the motion of a rigid body. All portions of a rigid body have a single uniform value for angular velocity at all times.

In case 1, you do have a single rigid body.

In case 2 you have two rigid bodies, one of which (the disc) does not rotate. The disc does indeed have a Moment of Inertia, but its rotational energy and angular momentum don't change. (As I read it they're both zero.) In the end the disc can be treated as a point mass as haruspex pointed out.
 
  • Like
Likes   Reactions: Titan97

Similar threads

Replies
2
Views
2K
  • · Replies 13 ·
Replies
13
Views
3K
  • · Replies 3 ·
Replies
3
Views
3K
  • · Replies 28 ·
Replies
28
Views
2K
  • · Replies 8 ·
Replies
8
Views
1K
  • · Replies 9 ·
Replies
9
Views
3K
Replies
7
Views
2K
  • · Replies 4 ·
Replies
4
Views
2K
  • · Replies 4 ·
Replies
4
Views
2K
  • · Replies 7 ·
Replies
7
Views
2K