Continuous slab / freely supported slab

  • Thread starter Thread starter tzx9633
  • Start date Start date
  • Tags Tags
    Continuous
Click For Summary
SUMMARY

The discussion clarifies misconceptions regarding continuous slabs and freely supported slabs in civil engineering. It establishes that continuous slabs can indeed be one-way slabs, contrary to the belief that they are exclusively two-way slabs. The ratio of Ly/Lx is critical, where Ly/Lx > 2 indicates a one-way slab, while Ly/Lx < 2 indicates a two-way slab. This distinction is essential for accurate structural analysis and design.

PREREQUISITES
  • Understanding of slab types in structural engineering
  • Knowledge of Ly/Lx ratio calculations
  • Familiarity with continuous slab design principles
  • Basic concepts of structural support systems
NEXT STEPS
  • Research the design criteria for continuous slabs in ACI 318
  • Study the differences between one-way and two-way slab systems
  • Learn about the implications of Ly/Lx ratios in slab design
  • Explore software tools for structural analysis, such as SAP2000 or ETABS
USEFUL FOR

Civil engineers, structural designers, and students studying slab design principles will benefit from this discussion, particularly those looking to deepen their understanding of continuous and freely supported slabs.

tzx9633

Homework Statement


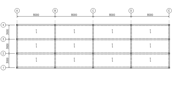
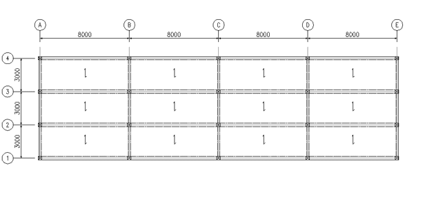
I was told that for continuous slab , it can be only for 2 ways slab. While for freely supported slab , it can be either 2 ways or 1 way slab.
P/s : for one way slab , the Ly/Lx <2 . For 2 ways slab , Ly/Lx > 2 .

Homework Equations

The Attempt at a Solution


I think it's wrong . The continuous slab can be also one way slab. I have an example here showing that for continuous slab , the slab is one way slab. In this case , Ly/Lx >2 , so , it's 1 way slab.
 

Attachments

  • 699.PNG
    699.PNG
    5.7 KB · Views: 601
  • 700.PNG
    700.PNG
    9.5 KB · Views: 531
Physics news on Phys.org
Any civil engineers have ideas about it ?
 

Similar threads

  • · Replies 2 ·
Replies
2
Views
3K
Replies
1
Views
2K
  • · Replies 33 ·
2
Replies
33
Views
2K
  • · Replies 6 ·
Replies
6
Views
4K
  • · Replies 1 ·
Replies
1
Views
2K
  • · Replies 3 ·
Replies
3
Views
2K
  • · Replies 2 ·
Replies
2
Views
4K
  • · Replies 2 ·
Replies
2
Views
1K
Replies
1
Views
2K
  • · Replies 2 ·
Replies
2
Views
3K