Calculating Beam Load for One Way Slab: Analysis and Solutions

  • Thread starter Thread starter tzx9633
  • Start date Start date
  • Tags Tags
    Beam Load
Click For Summary
SUMMARY

The discussion centers on calculating beam load for one-way slabs, specifically addressing the author's use of the formula 0.5nIx. It is established that the correct load calculation should be 8 x 0.5nIx, taking into account the load distribution from both sides of the beam as illustrated in the provided photos. The participants emphasize the importance of accurately accounting for the slab loads in structural analysis.

PREREQUISITES
  • Understanding of one-way slab design principles
  • Familiarity with beam load calculations
  • Knowledge of structural analysis terminology
  • Ability to interpret engineering diagrams and photos
NEXT STEPS
  • Research the principles of one-way slab design in structural engineering
  • Learn about load distribution methods for beams
  • Study the application of the formula 0.5nIx in beam load calculations
  • Examine case studies involving slab load analysis
USEFUL FOR

Civil engineers, structural analysts, and students studying structural engineering who are involved in beam load calculations and one-way slab design.

tzx9633

Homework Statement



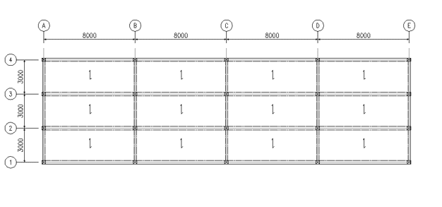
In this question , i think the author is wrong . In the question , the author use 0.5nIx , i know it's for one way slab .
P/ s : Photo 701-703 is for first case . Photo 704 to 706 are for 2nd case .

Homework Equations

The Attempt at a Solution


But , i think the load from slab should be 8 x 0.5nIx , because we can see that at the first example , the load is from both the left / right of the beam ...So , the same things go to the 2nd example , there's should be load due to the 8 slab ... ( Just like i shown in photo )
 

Attachments

  • 701.PNG
    701.PNG
    21 KB · Views: 569
  • 702.PNG
    702.PNG
    12.2 KB · Views: 494
  • 703.PNG
    703.PNG
    9.5 KB · Views: 534
  • 704.PNG
    704.PNG
    5.3 KB · Views: 503
  • 705.PNG
    705.PNG
    9.5 KB · Views: 561
  • 706.png
    706.png
    12.1 KB · Views: 551
Physics news on Phys.org
Can anyone help ?
 

Similar threads

  • · Replies 2 ·
Replies
2
Views
3K
  • · Replies 6 ·
Replies
6
Views
1K
  • · Replies 1 ·
Replies
1
Views
2K
  • · Replies 4 ·
Replies
4
Views
3K
  • · Replies 1 ·
Replies
1
Views
1K
Replies
1
Views
1K
  • · Replies 1 ·
Replies
1
Views
3K
  • · Replies 2 ·
Replies
2
Views
4K
  • · Replies 5 ·
Replies
5
Views
2K
  • · Replies 2 ·
Replies
2
Views
4K