Optimal Steel Profile and Hook Design for Crane Beam Project

Click For Summary
SUMMARY

The discussion focuses on designing an optimal steel profile and hook for a crane beam project, specifically addressing the requirements for a fixed-end profile with a hook that has two ears welded on either side. The critical dimensions include a distance of 2400mm from the point of restraint to the hook attachment, a hook weight of 3000kg, and ear dimensions of 140mm apart with a thickness of 15mm. Participants are tasked with determining the best profile, material, and pin specifications to ensure structural integrity and facilitate Finite Element Method (FEM) simulations.

PREREQUISITES
  • Understanding of structural engineering principles
  • Familiarity with welding techniques and specifications
  • Knowledge of material properties for steel profiles
  • Experience with Finite Element Method (FEM) simulations
NEXT STEPS
  • Research optimal steel profiles for crane applications
  • Explore material selection criteria for high-load applications
  • Learn about welding techniques suitable for crane components
  • Study Finite Element Method (FEM) simulation software options
USEFUL FOR

Mechanical engineers, structural designers, and students involved in crane design projects or those interested in optimizing load-bearing structures.

gras
Messages
2
Reaction score
0
while study i have been given a task from mine teacher to make the beam for the crane...

https://www.physicsforums.com/attachment.php?attachmentid=68016&stc=1&d=1395850228

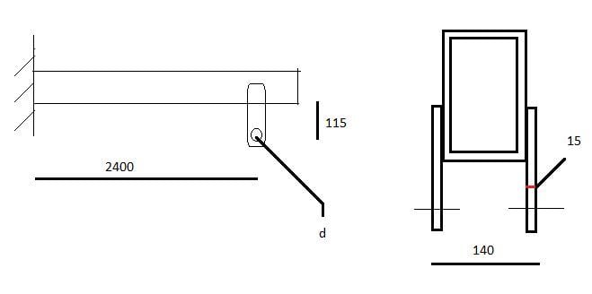
The steel profile is fix one end. The other end, ends with a hook which takes the form of two ears, welded on both sides of the profile. The distance from the point of restraint to the point of attachment Hook is 2400mm. Distance attachment point of the hook from the lower edge of the profile This 115mm. suggest optimal section of profile provided that in the point of attachment hook through the pin the diameter is d and the hook weight will be like 3000kg. You know that the distance between the 'ears' of hook is 140mm and the thickness of each ear is 15mm - you shoud suggest the best pin who will transmit the load. Determine the optimal size of the ears and the size and length of the weld that will connect ears with the profile. The profile MUST be possible to preform by the bending and welding technique - suggest material and type of treatment pin.

Can anyone help me about chose the best profile for the beam? and the steel material? that's mine problem coz next i must do the Finite element method simulation etc
 

Attachments

  • Clipboard02.jpg
    Clipboard02.jpg
    9.5 KB · Views: 632
Last edited:
Physics news on Phys.org
Sorry, the link in the OP is invalid.
 
Sorry, now it should be correct
 

Similar threads

  • · Replies 16 ·
Replies
16
Views
8K
Replies
3
Views
3K
Replies
2
Views
3K
  • · Replies 1 ·
Replies
1
Views
2K
  • · Replies 10 ·
Replies
10
Views
2K