Representation of a threaded section

  • Context: Engineering 
  • Thread starter Thread starter Amaelle
  • Start date Start date
  • Tags Tags
    Representation Section
Click For Summary
SUMMARY

The discussion centers on the necessity of additional views in technical drawings, specifically regarding a cross section of a metal body. Participants agree that a single cross section may suffice if the diameter symbol is correctly applied and a note for a lateral hole is included. The consensus indicates that while a top view may enhance clarity, it is not strictly required if all necessary dimensions are adequately represented in the existing views.

PREREQUISITES
  • Understanding of technical drawing conventions
  • Familiarity with cross-sectional views in engineering design
  • Knowledge of dimensioning standards in CAD software
  • Proficiency in interpreting isometric drawings
NEXT STEPS
  • Research best practices for dimensioning in technical drawings
  • Explore CAD software tools for creating cross sections
  • Learn about the importance of auxiliary views in engineering design
  • Study the application of symbols in technical drawings
USEFUL FOR

Engineers, technical illustrators, and students in mechanical design who are involved in creating or interpreting technical drawings and need to understand the implications of view selection and dimensioning.

Amaelle
Messages
309
Reaction score
54
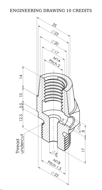
Homework Statement
look at the image
Relevant Equations
engineering drawing
Greetings!
I´m trying to solve the following exercice
1656950390227.png

1656950426899.png
I have done the following drawing for the cross section
1656954791464.jpeg
and I want to know if I need to add a top view or any other additional view? (is the cross section enough)

thank you!
 
Physics news on Phys.org
Just imagine that you have to build that body from a chunk of metal.
What dimensions would you need?
Is any of the dimensions shown in the isometric drawing not needed to be included in your side or elevation view?

I believe that I could do it using that single view, as long as the symbol for diameter is properly used where needed, and a note specifying one single lateral hole is added.
 
  • Love
Likes   Reactions: Amaelle
Lnewqban said:
Just imagine that you have to build that body from a chunk of metal.
What dimensions would you need?
Is any of the dimensions shown in the isometric drawing not needed to be included in your side or elevation view?

I believe that I could do it using that single view, as long as the symbol for diameter is properly used where needed, and a note specifying one single lateral hole is added.
thanks a million!
 
  • Like
Likes   Reactions: Lnewqban

Similar threads

  • · Replies 4 ·
Replies
4
Views
3K
  • · Replies 4 ·
Replies
4
Views
2K
  • · Replies 4 ·
Replies
4
Views
2K
  • · Replies 6 ·
Replies
6
Views
1K
  • · Replies 1 ·
Replies
1
Views
1K
Replies
11
Views
2K
Replies
1
Views
2K
  • · Replies 1 ·
Replies
1
Views
2K
Replies
22
Views
4K
  • · Replies 3 ·
Replies
3
Views
3K