The mechanism of bendable headrest of seats on airplane

Click For Summary
SUMMARY

The discussion centers on the mechanism of flexible headrests in airplane seats, specifically referencing patent US10315773B1. The headrest employs vertically articulated friction joints with torque inserts that provide specific torque in one direction while allowing less in the opposite direction. Friction hinges, also known as torque hinges, are crucial in this design, controlling motion and maintaining positions through engineered tolerances and additional materials like springs and lubricants. The conversation highlights the complexity and customization involved in friction hinge design for various applications.

PREREQUISITES
  • Understanding of friction hinges and their applications
  • Familiarity with torque inserts and their functionality
  • Knowledge of mechanical engineering principles related to motion control
  • Awareness of patent documentation and its relevance in product design
NEXT STEPS
  • Research the specifications and applications of friction hinges in various industries
  • Explore the design principles of torque inserts and their impact on hinge performance
  • Investigate the customization options for friction hinges in specialized environments
  • Learn about the manufacturing processes involved in creating friction hinges and torque inserts
USEFUL FOR

Mechanical engineers, product designers, aerospace engineers, and anyone involved in the design and functionality of seating mechanisms in aircraft.

Leo Liu
Messages
353
Reaction score
156
When I flew on a plane not long ago I started wondering about how flexible headrest works. This kind of headrest is reliable and still holds up well after several years of constant bending. I speculate it employs the same design as gooseneck lamp, but after some Google digging I cannot seem to find any information on it. Could someone tell me the answer, which I would appreciate?
 
Engineering news on Phys.org
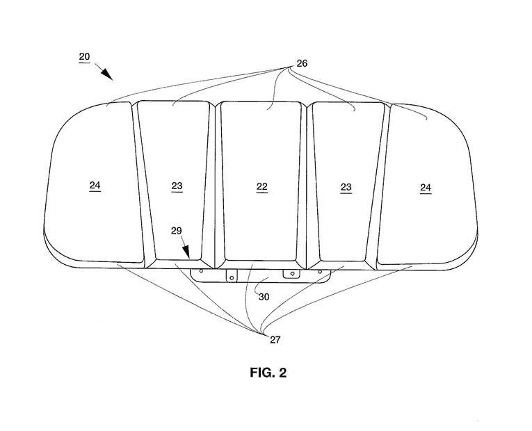
From the patent for the headrest in the video (US10315773B1):
(b) a plurality of vertically articulated friction joints each including a torque insert, each of said friction joints separating each of said pairs one from another, and wherein said torque insert provides 100% of a specified torque in one direction, and less than 100% of said specified torque in the opposite direction;
headrest.png
A torque insert is what is used in a friction hinge:
https://torqmaster.com/resources/what-is-a-friction-hinge/ said:

What Is A Friction Hinge?​

A friction hinge, or torque hinge, is a specialty hinge that gives resistance to the pivoting motion. These hinges are typically used to control motion or hold a pivoting object opened or closed. The most common and relatable application is that of a “laptop hinge”. These motion control hinges are also known as:
  • Free position hinge
  • Positioning hinge
  • Torque hinge
  • Constant torque hinge
  • Friction clutch
  • Free-stop hinge
  • Stop hinge … if designed with an added torsion spring they are also called counterbalanced hinges or equilibrated hinges.

How Does A Friction Hinge Work?​

Friction hinges achieve their function by engineering the specific tolerances between the mechanical components. Additional material such as springs and lubricant are often employed to achieve the desired degree of resistance or damping to the hinge movement.
In some cases, the goal is for the object on the hinge to close completely at a desired degree of speed. In others, the torque is used to hold one or both objects to which the hinges are secured to in a specific position, not necessarily on a fully opened or closed position. When used to hold one of the pivoting members in place, they are designed to be moved by a force of a specific amount of torque greater than its rated torque.
Friction hinges are often customized or custom designed to meet the exact torque requirements of critical applications. Custom designs can provide one-way hinges, in which all the resistance is only in one direction; two-way hinges that have equal damping in both directions, or a combination of both. Design variables include lubricant viscosity, construction material, and degree of space tolerance between components to meet specific applications, such as medical, rugged, high or low temperature, or hazardous environments.
This company sells those torque inserts that you can see here:


This guy explains it a little bit more, but everything seems to be very secretive in the friction hinge world:

 
  • Like
  • Informative
Likes   Reactions: russ_watters, Leo Liu, Lnewqban and 1 other person

Similar threads

Replies
9
Views
2K
  • · Replies 14 ·
Replies
14
Views
2K
Replies
7
Views
2K
  • · Replies 1 ·
Replies
1
Views
4K
  • · Replies 8 ·
Replies
8
Views
28K
  • · Replies 25 ·
Replies
25
Views
4K
  • · Replies 9 ·
Replies
9
Views
2K
  • · Replies 5 ·
Replies
5
Views
3K
  • · Replies 1 ·
Replies
1
Views
4K
  • · Replies 10 ·
Replies
10
Views
3K