Can Induced Back-EMF Be Maintained with Increased Input Power?

  • Thread starter Thread starter Dash-IQ
  • Start date Start date
  • Tags Tags
    Current
Click For Summary

Discussion Overview

The discussion revolves around the feasibility of maintaining a constant current in the presence of induced back electromotive force (back-EMF) when additional input power is applied. Participants explore theoretical and practical aspects of constant-current sources and their ability to counteract back-EMF in electrical circuits.

Discussion Character

  • Exploratory
  • Technical explanation
  • Debate/contested
  • Mathematical reasoning

Main Points Raised

  • Some participants propose that using a constant-current source can maintain the same current despite back-EMF, which typically reduces current.
  • Others argue that a constant-current source adjusts voltage to keep current constant, but specifics of the circuit design are necessary for meaningful answers.
  • A participant mentions that maintaining a fixed current is theoretically possible, but practical limitations exist regarding the range of operation.
  • One participant describes a scenario involving a circuit with a specific current and voltage, questioning how a constant-current source could maintain that current against a back-EMF of 5V.
  • Another participant explains that a proper constant-current source would increase its output voltage to counteract back-EMF, but confusion exists between constant-current sources and current-limiting sources.
  • Some contributions discuss the behavior of inductors and the implications of back-EMF, including the need for protective measures like diodes and resistors to manage energy return and prevent damage.
  • Participants share experiences with circuit designs and the challenges faced when dealing with inductive loads and back-EMF, emphasizing the importance of circuit protection and energy management.

Areas of Agreement / Disagreement

Participants express a mix of agreement and disagreement regarding the principles of maintaining current in the presence of back-EMF. While some acknowledge the theoretical possibility of achieving this with constant-current sources, others highlight practical challenges and the need for specific circuit designs. The discussion remains unresolved with multiple competing views on the topic.

Contextual Notes

Limitations include the need for specific circuit schematics to provide tailored answers, as well as the dependence on definitions of constant-current versus current-limiting sources. Unresolved mathematical steps and assumptions about circuit behavior under varying conditions are also present.

Dash-IQ
Messages
106
Reaction score
1
Is it possible to maintain, the same current when there is induced back-EMF(that is supposed to reduce it)? I assumed at the cost of more input electrical power it could be done. Am I correct? If I am how can this be done?
 
Engineering news on Phys.org
Dash-IQ said:
Is it possible to maintain, the same current when there is induced back-EMF(that is supposed to reduce it)? I assumed at the cost of more input electrical power it could be done. Am I correct? If I am how can this be done?
The most direct way of keeping current at some fixed level is to power the circuit via a constant-current source, a circuit that can adjust the voltage to cause current to stay constant. For a more specific answer, you will have to provide the schematic of the circuit you are involved with.
 
NascentOxygen said:
The most direct way of keeping current at some fixed level is to power the circuit via a constant-current source, a circuit that can adjust the voltage to cause current to stay constant. For a more specific answer, you will have to provide the schematic of the circuit you are involved with.

Knowing that the principle is possible, is the most important to me. I assumed such an idea would be impossible to maintain the same current while back-emf is induced.
 
Dash-IQ said:
Knowing that the principle is possible, is the most important to me. I assumed such an idea would be impossible to maintain the same current while back-emf is induced.
An electronic circuit can be constructed to achieve almost anything you desire. :smile:

Maintaining a fixed current in the face of changing conditions is not difficult, in principle. Of course, this can not happen over an unlimited range. But you could readily devise a fast-acting circuit that varies its voltage over a range of, say, 1V to 200V, in order to try to keep a constant current flowing through some path.
 
Dash-IQ said:
Is it possible to maintain, the same current when there is induced back-EMF(that is supposed to reduce it)? I assumed at the cost of more input electrical power it could be done. Am I correct? If I am how can this be done?

If you were a bit more specific about the particular circuit you have in mind, answers could be more meaningful, I think.
 
Constant-current sources are something you can buy off-the-shelf. No magic involved. A very simple implementation just measures the current and adjusts the voltage as necessary.
 
This is an example to help my understanding, hope you all can contribute!

We have a circuit, that has 1 A of current flowing, at 12Volts, the resistance is 12 ohms power consumed is 12W. Back-emf is induced, and its 5V, so now the current is reduced due to that Back-emf. By using a constant-current source how can this be solved to maintain a current of 1 A even when there is 5v of Back-emf?

This is is a very simple example to help understand how such a circuit would manage the current. I just want to understand the principle more.
 
If it is a constant source, its output volts will increase (to 17V) to force 1A through the device, against your back emf. If the power supply cannot do this then it is not a content current source. It may be a 'Current Limiting Source', like many commercial power supplies and there can be confusion here..
 
If you are considering a situation where inductance is present, the voltage across the inductor will be; V = L * di/dt.
Back EMF suggests that V becomes negative. For that to occur, the current must be falling with time, di/dt is negative.

If you place a diode across the inductor to clamp the back EMF, the inductor voltage will be smaller, but it will still be the forward biassed diode voltage plus the inductor's series resistance, Lr, times the current, I. That will reduce di/dt.

Alternatively you can connect a positive voltage across the inductor, V = I * Lr, which will exactly cancel the resistive component.

If you used a superconducting inductor, you would only need to short it's terminals to elliminate the back EMF and so maintain the current without change.
 
  • #10
You would need to produce a circuit diagram so we are all singing from the same hymn sheet, I think.
 
  • #11
Baluncore said:
Back EMF suggests that V becomes negative. For that to occur, the current must be falling with time, di/dt is negative.

At switch on of +DC, the back emf will be, as Lenz's law tells us, 'negative' as current is increasing , so it will 'tend to' reduce the current (slow the increase), for a given applied voltage. A 'proper' current source will ramp up the volts to ensure that the current is what was wanted, despite the emf. In an AC situation, the applied voltage (phase and amplitude) will be appropriate to provide the wanted current (phase and amplitude). Not hard in principle and observable with the appropriate probes etc if this is achieved with a feedback system.
 
  • #12
My experiments with feedback-based constant current sources and inductors is:
your design must allow for return of energy to the source.

My classic 7800 series regulator wired for constant one ampere current was immediately destroyed by connection to a substantial inductor. I had to parallel it with a resistor that supplied ~ half the desired current and let the IC trim current to one amp.
 
Last edited:
  • #13
It doesn't surprise me that a beefy inductor can take out a weedy bit of silicon. dI/dy can be very high if you aren't careful. A relay coil can cause havock if you don't use a catching diode.
 
  • #14
In the post#7 example given, one amp flows through the inductor because of the 12 ohm series resistance and the long application of +12V. The situation is stable. Energy is being dissipated in the inductor series resistance.

At the instant the +12V is reduced, inductor current starts to fall because, the inductive component will produce a back EMF. The 1A current will still be dropping +12V across the series resistance. Something must be preventing a huge reverse excursion of the EMF and holding it to 5V. If the current remains stable at 1 amp then there will be no back EMF to counter, the external constant current circuit will be a +12V supply.


sophiecentaur said:
It doesn't surprise me that a beefy inductor can take out a weedy bit of silicon. dI/dy can be very high if you aren't careful. A relay coil can cause havock if you don't use a catching diode.
If you want to turn off the current quickly, then it pays to install a dump resistor in series with the flyback diode. That allows more back EMF, a larger di/dt, so less time. The possibilities are limited by the voltage rating of the switch.

jim hardy said:
your design must allow for return of energy to the source.
My experience is that you must prevent a damaging back EMF from destroying the switch. The joules should preferably go somewhere else, such as the source if it is rechargeable, or a resistive dump load.

I prefer to dump inductive energy into a resistive load to quickly reduce the current. But in one example, when the dump load often failed to high resistance, the voltage exceeded –1200V. I installed a crowbar TRIAC that fired at –600V to short out the inductor when the dump load failed. It then took significantly longer for the current in the inductor to fall because there was less back EMF while the current is being circulated through the inductor series resistance alone, without the additional external series resistive load.

My problem was that I needed one of those newfangled digital storage oscilloscopes to see what was happening. The image on the old oscilloscope was useless, because while the inductor was conducting more than half an amp, the image slid sideways clear off the CRT. It was only a 10 henry inductor, but it had a huge air gap. Without my crowbar circuit, when the dump load failed, a green plasma genii would rise from the switchgear. The green colour confirming that the previous contactor set had once been made from copper.
 
  • #15
sophiecentaur said:
If it is a constant source, its output volts will increase (to 17V) to force 1A through the device, against your back emf. If the power supply cannot do this then it is not a content current source. It may be a 'Current Limiting Source', like many commercial power supplies and there can be confusion here..

Hows fast is this process? Of stabilizing current with the presences of back-emf?
 
  • #16
@ Dash-IQ.
You have not told us what produces the back EMF.

If it is an inductor with series resistance, then maintain the DC voltage to keep the current constant.

If it is a DC motor, then maintaining the current will maintain the torque no matter what the RPM. If the motor is powered from a current regulator then the current will remain the same. You can regulate current very rapidly, 10 usec is easy, 10 nsec is possible if you use a series RF inductor in the circuit.
 
  • #17
Dash-IQ said:
Hows fast is this process? Of stabilizing current with the presences of back-emf?

To be sure that we are all talking about the same circuit, the OP should post a circuit diagram and a precise description of the situation. It has confused me because there will not be any 'back emf' if there is a 'Constant" current (i.e. DC).
We are talking in terms of an ideal (or spend as much money as necessary on it) source. I am assuming that the source will react as fast as necessary (instantly), which is not a problem because we are not talking about a fast change of current; just a modification of supply PD. without the inductance.

If a back emf value is being quoted then, either this must refer to an RMS voltage with AC or the result of a steadily increasing current supplied - DC does not apply here (of course). If you want a current ramp of steady slope, the required supply voltage will need to be a ramp also and will just need to be increased by the stated 5V of back emf that was quoted. If it's AC, then the AC supply needs to be 5V RMS higher than without the inductance.

People seem to have assumed that the thread is about Power distribution but isn't that just adding extra complexity when initially discussing a basic idea? Practical details can mask the basic principle.
 
  • #18
Im sorry for creating a confusing matter, I didn't attach a diagram because this is more of a general problem.
I wanted to know how to deal with back-emf that's induced by the change in magnetic flux. I wanted to know if it was ever possible to maintain the same current where there is change in the flux(and back-emf is induced).

@sophiecentaur, and @NascentOxygen perfectly answered that general question for me.
I thank the rest for all for their contributions, I don't think I need to attach a diagram and go on with this subject, because what I understood is there is indeed a way to maintain the same current even when back-emf is induced.
 
  • #19
Dash-IQ said:
Im sorry for creating a confusing matter, I didn't attach a diagram because this is more of a general problem.
I wanted to know how to deal with back-emf that's induced by the change in magnetic flux. I wanted to know if it was ever possible to maintain the same current where there is change in the flux(and back-emf is induced).

@sophiecentaur, and @NascentOxygen perfectly answered that general question for me.
I thank the rest for all for their contributions, I don't think I need to attach a diagram and go on with this subject, because what I understood is there is indeed a way to maintain the same current even when back-emf is induced.

I think we started off on the wrong foot here. 'Back emf' is, afaik, a term used to describe the effect of varying current in a component. Varying magnetic flux by some other means is hardly 'back emf'. It is just an emf, induced by an outside agency. Like I said: a back emf will not be there for an unchanging current.
Kirchoff 2 shows that emfs around a circuit to add together and will equal the sums of the IRs. That implies you can add or subtract volts to make up for the existence of 'back (or any other) emf'.
 
  • #20
What will we observe if current is held fixed but L is made to vary with time? This could be achieved by tap-changing, or by partly withdrawing the solenoid's core.
 
  • #21
NascentOxygen said:
What will we observe if current is held fixed but L is made to vary with time? This could be achieved by tap-changing, or by partly withdrawing the solenoid's core.

Changing the position of the solenoid's core will involve an outside agency - energy supplied or removed, which is not a 'back emf' - it will just involve an induced emf due to a change in reluctance. I don't see why this extra, temporary emf cannot be countered by a suitable change of supply emf.

Tap changing is not fair! :-p (Above my pay scale) That involves a step change in inductance which will mean a change in the amount of magnetic energy. You could argue that no (virtually) energy is required for a tap changing switch. The magnetic energy in the inductor will change, though, and an emf will be generated due to dB/dT. During the switching time, there will be an emf spike (or two) which the supply would need to deal with (equal and opposite), to keep the current the same. How ideal / instantaneous is the tap change? We are instantly into practicalities here so the equivalent circuit would need fleshing out, I think.
 
  • #22
Hm, well there are a few example in my head that "Back-emf" is a key aspect. True, that varying magnetic field induces emf, but in some cases it can be emf acting against the source-emf, so that's what I mean by back-emf(or -emf, -V). Still the principle applies, that we can maintain the same current by supplying more source-emf, and what Kirchoff answered is perfect for a "general question" that I believe fits for all cases.
 
  • #23
If there is a source of emf that is introduced independently from what any passive circuit component would cause then it seems strange to give it a special name like back emf if you can't also have a 'forward emf'. Isn't it just a plain old emf? Everything you are saying about a back emf, in your use of the term, could just as easily be in the other direction. That doesn't seem to be consistent, to me.

When you have multiple generators on a power network, one of them can be so much out of phase that its emf acts in the same sense (around the circuit) as to cause a very high circulating current. That would not be a back emf.
 
  • #24
The answer to the OP is that, given any particular situation, a circuit can be designed to maintain the current.

Without a specification of one particular situation, we cannot Shadow Box every possible situation, nor Tilt at every possible Windmill. There are just too many possibilities and not enough time.
 
  • #25
Dash-IQ said:
Still the principle applies, that we can maintain the same current by supplying more source-emf, and what Kirchoff answered is perfect for a "general question" that I believe fits for all cases.

Varying inductance with constant current is just something we don't encounter in everyday electronics.

Sophie and Kirchoff are two good sources to believe in...great minds run together.

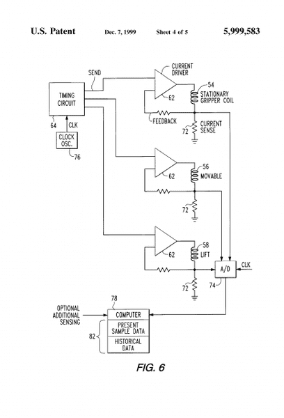
Here's a real world example from a system i used to work on
http://racks.ams-corp.com/ams_new/p...012/07/CRDM-Automated-Rod-Movement-Timing.pdf
(i tried to paste in the image but am unable, even with nitro-reader)

the system provides controlled DC current to electromagnetic solenoids that move the control rods in a reactor
it rectifies three phase, modulating the firing angle to force current to whatever the system commands - zero, low or high amps..


look at the three brown traces mid page left side
center trace
system calls for high current and advances firing angle to apply full voltage, so current starts ramping up from zero according to e = Ldi/dt
just before reaching full current the solenoid moves which reduces its air gap
which let's flux increase ,
producing more counter-emf
causing that brief "dip" in the current wave
when there's a microphone on the mechanism you hear a distinct "clank" as it snaps into place

the system controls applied voltage to place current at the commanded level
as you see, changing inductance briefly perturbs it.
But the closed loop prevails in the end.
You can see ripple in the current waveform at high current - raggedy looking top more visible in the shaded section at top of page. That's because it's just rectified three phase with no smoothing capacitors.

images from patent on the 'new improved digital' system(i worked on the old unimproved analog one):
http://www.google.com/patents/US5999583

closed loop current regulator
crdmbllockdiaUS5999583-4_zps1186a5d5.png


current waveforms expected during rod motion
crdmcurrentUS5999583-3_zpsc83296f9.png
 
  • #26
sophiecentaur said:
If it is a constant source, its output volts will increase (to 17V) to force 1A through the device, against your back emf. If the power supply cannot do this then it is not a content current source. It may be a 'Current Limiting Source', like many commercial power supplies and there can be confusion here..

sophiecentaur, the total voltage in the circuit would be...? 17V, or 12V?
How is the voltage increased? By using resistors? Wouldn't that change the current at 12V if it we're 12V. Something about PD's basics that I struggle with at times.
 
  • #27
Dash-IQ said:
sophiecentaur, the total voltage in the circuit would be...? 17V, or 12V?
How is the voltage increased? By using resistors? Wouldn't that change the current at 12V if it we're 12V. Something about PD's basics that I struggle with at times.

I think your difficulty may be with the idea that something (a current source) could 'produce a particular current', whatever you connect it to. 'We' feel that a constant voltage source (i.e. 12V, whatever resistor you connect across it) is ok, intuitively. You need to ask yourself why one of those sources is acceptable but the other is 'difficult'. It has to be because the voltage source is very common - you can buy one (or a good approximation to one) in the local shop. Familiarity makes things sound reasonable; the first reaction, when someone talks of a battery, is not to question how the battery works - you just 'use' it in your mind.

There are two halves to this thing. Firstly there is the idea that a device can (be assumed to) exist that provides a known amount of current and secondly, how you can make one. The concept of a current source is just the same as the concept of a voltage source or, in mechanics, an 'applied force' or 'maintained temperature' or a 'fixed point on the Earth'.

The 'total voltage in the circuit' is Zero. Kirchoff tells you that adding up all the IRs will give a value that's equal and opposite to the total value of emfs. So, the back emf that we attribute to the Inductor will depend on the rate of change of current (zero for DC, of course). If you want the current to be exactly what you specify, you have to make sure that the PD across the inductive load is always equal to the required IR component PLUS the LdI/dt component, which is due to the changing current.
How to make this happen? The simplest (conceptually) way is to have an enormous resistor in series with an enormous voltage (swamping any back emf and IR drop). The current will then be independent of the value of any sensible value of load R and L. If you can accept this for purely resistive circuits then you should accept it when an L (sensible value) is included.
Having made and accepted the above circuit, you can reproduce this by having a more modest supply voltage that is engineered to follow the same voltage variations as the high voltage/resistor circuit - achieving it with a circuit that has feedback and can work fas enough to do what you want.
 
Last edited:
  • #28
But the problem to me is with the increase of resistance, to maintain current.
An example:
We have a circuit that's total resistance is 1 Ohm, and V = 5V, I = 5A, P = 25W(and it's changeable to increase voltage). So now, due to the change in the exterior magnetic flux(By a magnet/electromagnet etc...), back-emf is induced and it's 2V.

So, we need a voltage of 7V is required to maintain current of 5A, and a power source must now be 35W. But let's assume we increased the resistance, its R = V/I = 1.4Ohms, here is "my problem":

The total-emf = 7V - 2V = 5V, I = 5/1.4Ohms = 3.5A, current is now reduced isn't it due to the increase of resistance to try and increase voltage?

Some basics that I struggle with.
 
Last edited:
  • #29
I think you need to look at this another way - you seem to be putting the cart before the horse.
First, just assume that an actual current source exists. This will (by definition) put the required current through your Inductor (plus its resistance). What Volts are you going to measure across this Inductor? Answer: I(R+jL).
Now all you need to do , to achieve this in practice, is to provide those volts from some other (real circuit), which can be just a very high resistance in series with a high voltage source OR it can involve a supply that will maintain the wanted current by (possibly) varying volts somewhere, by means of a control loop. As the replacement circuit is producing exactly the correct current, the volts will be just what you measured in the original experiment with an ideal source.
There is a small matter of Phase / time lag to be considered here if you want to analyse it completely.

BTW, you keep referring to a steady current - you do mean AC? That's not very good for a electromagnet. Could you make it clearer for me?

Remember that there will be a phase between AC current and voltage waveforms so you need to consider the VA as well as the Watts if you now are wanting to look at the Power situation. This is how Power Factor affects the use of reactive loads.

Of course you will need to change the supply volts if you change the coil resistance but when the current is what you want, the back emf will be the same (unless you are changing the inductance too). Phase will be different again.
 
  • #30
We have a circuit that's total resistance is 1 Ohm, and V = 5V, I = 5A, P = 10W

25W :wink:
 

Similar threads

Replies
7
Views
3K
Replies
10
Views
2K
  • · Replies 1 ·
Replies
1
Views
2K
Replies
2
Views
1K
Replies
3
Views
938
  • · Replies 15 ·
Replies
15
Views
2K
Replies
64
Views
8K
  • · Replies 2 ·
Replies
2
Views
4K
Replies
23
Views
2K
  • · Replies 38 ·
2
Replies
38
Views
5K