Clarifying the Definition Total/Stagnation Pressure (p₀) in Bernoulli'

Click For Summary
SUMMARY

The discussion clarifies the concept of total pressure (p₀) in the context of Bernoulli's Equation as it applies to hot air balloons. The total pressure is defined as the sum of static pressure and dynamic pressure, excluding the gravitational potential energy (GPE) term. The user correctly identifies that while static pressure varies with altitude, total pressure remains constant across points A, B, C, and D when considering the same reference datum. This distinction is crucial for understanding lift generation in hot air balloons.

PREREQUISITES
  • Understanding of Bernoulli's Equation and its components: static pressure, dynamic pressure, and gravitational potential energy.
  • Knowledge of fluid dynamics principles, particularly in relation to lift and buoyancy.
  • Familiarity with the behavior of gases, specifically heated air in the context of hot air balloons.
  • Ability to perform calculations involving pressure, density, and height in fluid systems.
NEXT STEPS
  • Study the implications of Bernoulli's Equation in various fluid dynamics scenarios.
  • Explore the concept of static vs. total pressure in different contexts, such as aviation and hydrodynamics.
  • Learn about the effects of temperature differences on gas density and buoyancy in hot air balloons.
  • Investigate how reference datums affect pressure calculations in fluid mechanics.
USEFUL FOR

This discussion is beneficial for physics students, aerospace engineers, and anyone involved in the design and operation of hot air balloons or similar aerial vehicles. It provides insights into the fundamental principles of lift and pressure dynamics.

John1704
Messages
1
Reaction score
0
Homework Statement
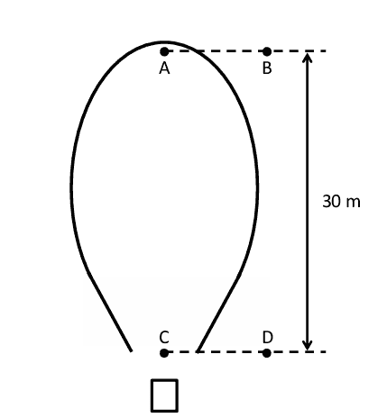
Question From Paper: A hot air balloon has an envelope which has height h = 30 m high (see below). The balloon is always operated with a temperature difference between the heated gas and the atmosphere of 100K. For simplicity, assume that the envelope contains heated air only (that is, ignore combustion products).

With reference to the figure, when points C and D are at an altitude of 2 km, calculate the static and total pressures at A, B, C and D. Describe how these pressures lead to lift.
Relevant Equations
Bernoulli's Equation
Question From Paper: A hot air balloon has an envelope which has height h = 30 m high (see below). The balloon is always operated with a temperature difference between the heated gas and the atmosphere of 100K. For simplicity, assume that the envelope contains heated air only (that is, ignore combustion products).

With reference to the figure, when points C and D are at an altitude of 2 km, calculate the static and total pressures at A, B, C and D. Describe how these pressures lead to lift.

Hot Air Balloon Schematic

My Question:

I have trouble understanding what exactly is "total pressure". In Bernoulli's Equation, total pressure seems to be the sum of the static, dynamic, and gravitational potential term.
If I apply that definition, I will come to the conclusion that total pressure at A, B, C, and D is equal, while static pressure varies depending on location.

Assuming relative velocity of air, v, = 0 at all points since the balloon moves with the same velocity as the surrounding air; and also take the reference datum of Z = 0 at C and D, we get:

Ptotal,C = Pstatic,C + ρg(0)

Ptotal,D = Pstatic,D + ρg(0)

Since C and D are both exposed to the atmosphere, Pstatic,C = Pstatic,D and so Ptotal,C = Ptotal,D.

Considering point A inside the balloon,

Pstatic,A = Pstatic,C - ρhot airgh

Similarly,

Pstatic,B = Pstatic,D - outside airgh

Hence,

Ptotal,A = Pstatic,C - ρhot airgh + ρhot airgh

And

Ptotal,B = Pstatic,D - ρoutside airgh + ρoutside airgh

The last bolded terms are the GPE terms in Bernoulli's equation)

Hence I get the conclusion that total pressure at A, B, C, and D are the same.

The solution seems to use a different definition of total pressure which disregards the GPE per volume term and hence come to the conclusion that the total pressure at points A, B, C and D are different.

Does my line of reasoning make sense? Or is the solution correct?

Based on the formula of total pressure, it seems that the value of total pressure will vary depending on where we define the reference datum since the ρgZ term in Bernoulli's equation depends on the height from the datum. Is this true?
Thank you very much for reading and helping with my confusion.

Screenshot 2025-04-17 161940.png
 
Last edited by a moderator:
Physics news on Phys.org
John1704 said:
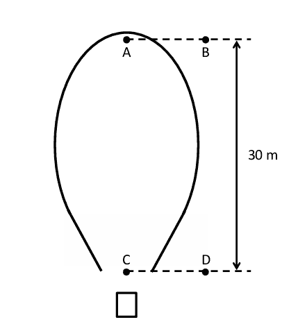
Homework Statement: Question From Paper: A hot air balloon has an envelope which has height h = 30 m high (see below). The balloon is always operated with a temperature difference between the heated gas and the atmosphere of 100K. For simplicity, assume that the envelope contains heated air only (that is, ignore combustion products).

With reference to the figure, when points C and D are at an altitude of 2 km, calculate the static and total pressures at A, B, C and D. Describe how these pressures lead to lift.
Relevant Equations: Bernoulli's Equation

Question From Paper: A hot air balloon has an envelope which has height h = 30 m high (see below). The balloon is always operated with a temperature difference between the heated gas and the atmosphere of 100K. For simplicity, assume that the envelope contains heated air only (that is, ignore combustion products).

With reference to the figure, when points C and D are at an altitude of 2 km, calculate the static and total pressures at A, B, C and D. Describe how these pressures lead to lift.

Hot Air Balloon Schematic

My Question:

I have trouble understanding what exactly is "total pressure". In Bernoulli's Equation, total pressure seems to be the sum of the static, dynamic, and gravitational potential term.
If I apply that definition, I will come to the conclusion that total pressure at A, B, C, and D is equal, while static pressure varies depending on location.

Assuming relative velocity of air, v, = 0 at all points since the balloon moves with the same velocity as the surrounding air; and also take the reference datum of Z = 0 at C and D, we get:

Ptotal,C = Pstatic,C + ρg(0)

Ptotal,D = Pstatic,D + ρg(0)

Since C and D are both exposed to the atmosphere, Pstatic,C = Pstatic,D and so Ptotal,C = Ptotal,D.

Considering point A inside the balloon,

Pstatic,A = Pstatic,C - ρhot airgh

Similarly,

Pstatic,B = Pstatic,D - outside airgh

Hence,

Ptotal,A = Pstatic,C - ρhot airgh + ρhot airgh

And

Ptotal,B = Pstatic,D - ρoutside airgh + ρoutside airgh

The last bolded terms are the GPE terms in Bernoulli's equation)

Hence I get the conclusion that total pressure at A, B, C, and D are the same.

The solution seems to use a different definition of total pressure which disregards the GPE per volume term and hence come to the conclusion that the total pressure at points A, B, C and D are different.

Does my line of reasoning make sense? Or is the solution correct?

Based on the formula of total pressure, it seems that the value of total pressure will vary depending on where we define the reference datum since the ρgZ term in Bernoulli's equation depends on the height from the datum. Is this true?
Thank you very much for reading and helping with my confusion.

View attachment 359992
Bernoulli equation: $$p+\frac{1}{2}\rho v^2+\rho g z=Const.$$

p="static pressure"

##\frac{1}{2}\rho v^2## = "dynamic pressure"

##p+\frac{1}{2}\rho v^2## = "total pressure"

It seems to me your assessment was correct. The gravitational term is not included in what they conventionally define as the total pressure. I might add that I have a very low regard for use of this type of terminology, but, of course, you need to know it since many people employ it.
 
  • Like
Likes   Reactions: haruspex

Similar threads

  • · Replies 11 ·
Replies
11
Views
3K
  • · Replies 48 ·
2
Replies
48
Views
6K
  • · Replies 31 ·
2
Replies
31
Views
5K
  • · Replies 10 ·
Replies
10
Views
3K
  • · Replies 11 ·
Replies
11
Views
3K
  • · Replies 3 ·
Replies
3
Views
2K
  • · Replies 7 ·
Replies
7
Views
8K
Replies
1
Views
3K
  • · Replies 5 ·
Replies
5
Views
3K
Replies
5
Views
6K