Finding current through in a specific part of a parallel circuit.

Click For Summary
SUMMARY

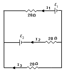
The discussion centers on calculating the current I1 in a parallel circuit with two voltage sources, E1 = 5.98 volts and E2 = 4.45 volts. The user has identified the equivalent resistance (Req) as 20/3 ohms but struggles with the circuit configuration due to the presence of multiple batteries. The conversation highlights the importance of Kirchhoff's Laws in analyzing circuits where resistors are not purely in parallel. Understanding the correct application of these laws is crucial for solving such problems accurately.

PREREQUISITES
  • Understanding of Ohm's Law (V=IR)
  • Familiarity with Kirchhoff's Laws
  • Knowledge of calculating equivalent resistance in circuits
  • Basic circuit analysis skills
NEXT STEPS
  • Study Kirchhoff's Voltage Law and its applications in circuit analysis
  • Learn how to calculate equivalent resistance for complex circuits
  • Explore series and parallel circuit configurations in detail
  • Practice problems involving multiple voltage sources and their effects on current
USEFUL FOR

Students studying electrical engineering, circuit designers, and anyone looking to enhance their understanding of circuit analysis involving multiple voltage sources and resistors.

aliciao
Messages
1
Reaction score
0

Homework Statement



In this circuit E1 = 5.98 volts and E2 = 4.45 volts. To the nearest hundredth of an amp what is I1?

I have attatched a picture
Physics problem.gif



Homework Equations



V=IR

1/Req=1/R1+ 1/R2+ 1/R3

The Attempt at a Solution



Well I think I know that resistance for the whole system is 20/3... But I really don't know how to set it all up because I have never used more than one battery in a problem before and it really doesn't look like this would make a correct circuit.
 
Physics news on Phys.org
Are you familiar with Kirchhoff's Laws? The resistors are not connected in parallel, as only one terminal of them is common with that of an other resistor, the other is connected to a battery. ehild
 

Similar threads

Replies
5
Views
2K
  • · Replies 4 ·
Replies
4
Views
2K
Replies
7
Views
1K
  • · Replies 42 ·
2
Replies
42
Views
6K
  • · Replies 1 ·
Replies
1
Views
2K
  • · Replies 10 ·
Replies
10
Views
3K
  • · Replies 1 ·
Replies
1
Views
954
  • · Replies 6 ·
Replies
6
Views
2K
Replies
8
Views
19K
  • · Replies 13 ·
Replies
13
Views
2K