What kind of magnetic sensor is used in my wristwatch?

  • Thread starter Thread starter ffp
  • Start date Start date
  • Tags Tags
    Magnetic Sensor
Click For Summary

Discussion Overview

The discussion centers around the type of magnetic sensor used in a Casio Edifice wristwatch, specifically focusing on the workings of magnetoimpedance sensors and their circuitry. Participants explore various sensor technologies, including Hall Effect sensors and fluxgate sensors, and their applicability in wristwatches.

Discussion Character

  • Exploratory
  • Technical explanation
  • Debate/contested

Main Points Raised

  • One participant inquires about the workings and circuitry of magnetoimpedance sensors, questioning whether they use coils.
  • Another participant suggests searching for information on magnetoimpedance and Hall Effect sensors, emphasizing the need for specific questions based on the readings.
  • Some participants express uncertainty about the necessity of coils in magnetoimpedance sensors and whether they are used in the wristwatch.
  • Discussion includes the observation that the watch requires a change in position to give readings, leading to speculation about the sensor's operation and design.
  • One participant notes that coils do not generate voltage unless the magnetic flux changes, contrasting this with Hall Effect sensors which can detect static magnetic fields.
  • There is a suggestion that the use of coil-based sensors may be motivated by lower power consumption in portable devices.
  • Another participant proposes that magnetoresistive sensors might be used in a bridge configuration, similar to other resistive sensors.
  • Some participants express skepticism about the feasibility of fluxgate sensors in watches due to size and complexity concerns.
  • There are discussions about the potential for Casio to miniaturize and integrate sensor technology for their products, with differing opinions on the implications of this capability.

Areas of Agreement / Disagreement

Participants do not reach a consensus on the specific type of sensor used in the wristwatch, with multiple competing views on the applicability and design of various sensor technologies.

Contextual Notes

Participants express uncertainty about the specific circuitry involved in the sensors and the assumptions regarding the operational principles of the discussed technologies. There are also limitations in the available information regarding the exact components used in the wristwatch.

ffp
Messages
96
Reaction score
5
I'm trying to figure out what kind of magnetic sensor is used in my wristwatch (Casio Edifice twin sensor) a d how it works. Just out of curiosity.
After some research, I got some clues. So, the first thing I'd like to know is how a magnetoimpedance sensor works? How is its circuitry? Some figures to explain would be good. Also, does it use coils?
 
Engineering news on Phys.org
ffp said:
magnetoimpedance sensor

A Google search on that phrase turns up lots of good hits. Also do a search on Hall Effect Sensor.

Once you've done that reading, please post links to what you have been reading and ask specific questions about that reading. Thanks.
 
  • Like
Likes   Reactions: phinds
berkeman said:
A Google search on that phrase turns up lots of good hits. Also do a search on Hall Effect Sensor.

Once you've done that reading, please post links to what you have been reading and ask specific questions about that reading. Thanks.
I couldn't find a good explanation about how it works other than the inpedance changes in the presence of a magnetic field. Similar to magnetoresistance.
I couldn't find a circuit either. I don't know if this sensor requires a coil or not.
Could you provide a link with a good explanation, then?

Hall effect has o kot more good material. I already know how it works, more or less. It doesn't seem to be used in the watch, since the Casio description talks about "two rectangular coils". Here's the link:
https://www.casio-europe.com/euro/products/watches/technology/digital-compass/
 
ffp said:
It doesn't seem to be used in the watch, since the Casio description talks about "two rectangular coils". Here's the link:
https://www.casio-europe.com/euro/products/watches/technology/digital-compass/
Interesting. Does the watch come with any directions for how to use the compass? Like, does it suggest that you rotate it or maybe lift it up from below and give it a second or two to give a reading? Using coils would seem to only give information for changes in position...
 
berkeman said:
Interesting. Does the watch come with any directions for how to use the compass? Like, does it suggest that you rotate it or maybe lift it up from below and give it a second or two to give a reading? Using coils would seem to only give information for changes in position...
The watch does takes a couple seconds to give readings after the button is pressed. It also requires the watch to be parallel to the ground, which makes sense, since 2 coils could only get 2 axis readings. Why coils need a change in position to give readings?
I guess they would work similar to fluxgate sensors? Those doesn't require change in position.

I wonder if they doesn't use integrated circuits for compass, since the watch doesn't seem to have room for a big coil like that. Nor dors it seem to have one, judging by a video of batteries changes of my model (can see the circuit board, though, the metal protection was covering it).
 
Coils don't generate a voltage ("tension" in the watch link) unless the magnetic flux through them is changing. They are not DC magnetic field sensors -- that's what a Hall Effect sensor is used for. But as long as the orientation of the watch changes a bit before it settles for the reading, the microprocessor should be able to figure out the direction of the Earth's magnetic field (in 2-D with only 2 coils).

The only reason I could see for using a coil-based sensor instead of a DC B-field sensor would be lower power, which is a big advantage in portable devices especially watches.
 
  • Informative
Likes   Reactions: Klystron
Something like this:
https://media.digikey.com/pdf/Data%20Sheets/Honeywell%20PDFs/HMC1051,52,53.pdf

Since the name is magnetoresistive, I would bet it's used in a bridge configuration. Like all of the other resistive sensors (strain gauges, etc.).
 
BTW, if you're interested in B-field sensors, read about flux gates. I think they're cool. Although I doubt you'd ever find one in a watch. Plus, yes, they have real circuitry associated with them.
 
berkeman said:
Coils don't generate a voltage ("tension" in the watch link) unless the magnetic flux through them is changing. They are not DC magnetic field sensors -- that's what a Hall Effect sensor is used for. But as long as the orientation of the watch changes a bit before it settles for the reading, the microprocessor should be able to figure out the direction of the Earth's magnetic field (in 2-D with only 2 coils).

The only reason I could see for using a coil-based sensor instead of a DC B-field sensor would be lower power, which is a big advantage in portable devices especially watches.
Oh, yeah. I was considering there was a current and a circuit to interact with the magnetic field. Just like Hall sensors also need a flowing current so the field can affect it. I don't think the watch use the changes in position by the user. If you keep the watch completely imobile and push the button, it will still give a reading.
So, it probably has a circuit to sork with the sensor, just like a fluxgate: you have to have a circuit there for the drive winding. And another one for the sense winding.

Another Casio page about technologies, this time about the triple sensors, describe it sinilarly to the one I posted, but the picture has a "MI element", which I believe it's a magnetoimpedance. However does MI need coils too?

Here's the picture (sensor 1):

SmartSelect_20220403-000429_Discord.jpg
 
  • #10
DaveE said:
BTW, if you're interested in B-field sensors, read about flux gates. I think they're cool. Although I doubt you'd ever find one in a watch. Plus, yes, they have real circuitry associated with them.
I already did. I didn't about magnetoimpedance, sonce I couldn't find good material.
Why you doubt there would be fluxgate in watches? Because of the size of the core?
To be honest, I'm not sure if they really have cos like the ones in the pictures. I'd figured those watches all use microchips for everything...
 
  • #11
ffp said:
Because of the size of the core?
Yes. And the complexity of two orthogonal windings, which is a great determinant of their accuracy, IIRC. They just aren't cheap, and EVERYTHING in your watch must be cheap.

ffp said:
like the ones in the pictures
Don't confuse either the packaging of an IC or the target market in the documents. A company like Casio will integrate the correct technology themselves. Don't mistake how big a part is with how small (or cheap) it can be when a mass-market consumer product manufacturer decides to invest in miniaturization and cost reduction for high volume production.
 
  • #12
DaveE said:
Don't confuse either the packaging of an IC or the target market in the documents. A company like Casio will integrate the correct technology themselves. Don't mistake how big a part is with how small (or cheap) it can be when a mass-market consumer product manufacturer decides to invest in miniaturization and cost reduction for high volume production.
I don't get your point. Are you saying they are snall chips and the webpage picture doesn't fit reality or are you saying that all Casio watches with compass indeed have a coil like that?
 
  • #13
ffp said:
I don't get your point. Are you saying they are snall chips and the webpage picture doesn't fit reality or are you saying that all Casio watches with compass indeed have a coil like that?
I'm saying that Casio has the ability to redesign and repackage that technology to fit in their watch, to fit their manufacturing processes, and to fit their market segment. It's not about how big it is when Honeywell sells it to a customer that wants an SMT package, it's about how small (or cheap) it could be made if you care to miniaturize and/or integrate it. MR sensors can be miniaturized; hall effect sensors, even more so; flux gates, not so much.
 
  • #14
DaveE said:
I'm saying that Casio has the ability to redesign and repackage that technology to fit in their watch, to fit their manufacturing processes, and to fit their market segment. It's not about how big it is when Honeywell sells it to a customer that wants an SMT package, it's about how small (or cheap) it could be made if you care to miniaturize and/or integrate it. MR sensors can be miniaturized; hall effect sensors, even more so; flux gates, not so much.
Oh, I see. That's good information. I didn't know which ones can be miniaturized.
But both Casio pages that I posted have pictures of the coils and they look big. You think the watches really have one inside or is it there in the site just for kind of explaining how it works? Maybe the tech varies from watch to watch?
 
  • #15
Ok, got some news about that. I contacted Casio and they said that my model has a sensor that uses a magnetic impedance element (MI element). So the question is answered.

Now, if anyone could explain how a MI sensor works and what exactly the two rectangular coils do that would be awesome.
 
  • #17
anorlunda said:
What coils? Did you do any of your own research? For example, this:
https://en.wikipedia.org/wiki/Gyrator–capacitor_model#Magnetic_impedance
The coils that Casio talks about in their description of the compass sensor:
"The sensor consists of two rectangular coils that detect slight tensions created by the Earth's magnetic field. Depending on the position and direction, these tensions vary in intensity. There is a non-magnetic resistance between the two coils, which absorbs the subtle changes in tension."

This is in the link I posted before. I don't know how the magnetoimpedance enters this circuit.
 
  • #18
ffp said:
This is in the link I posted before. I don't know how the magnetoimpedance enters this circuit.
Apologies. I missed that.

It might be something like this:
https://www.intechopen.com/chapters/56475

or this:
https://www.jst.go.jp/chizai/en/cips_details/pdf_2/3-8.pdf

or this:
https://www.techbriefs.com/component/content/article/adt/tech-briefs/electronics-and-computers/4590

There are several ways to skin the cat. But in general, if you have a circuit component (any component) whose properties change as a function of external influence (like temperature or magnetic field), then the circuit's voltages and currents will also change. Those changes can be measured. One way to make it sensitive it to use a bridge circuit. Those are generalities applicable to any sensor circuit. They are not specific to magneto impedance sensors.
 
  • #19
OK. It sounds like they are using the same technology used in those battery powered clamp-on Ammeters, the ones that can measure both AC & DC current.

They are using 2 coils at 90° to each other and using the ratio of the magnetic fields on two axes. This eliminates the errors caused by non-constant field strength over the Earths surface. (and local interference or shielding)

Th coil inductance changes as the metal cores of the coils near saturation. This causes a phase shift of the AC current thru the coil versus the applied voltage.

Comparing the two phase shifts then yields the relative strengths of the external fields, and thus the direction of the ambient field.

Cheers,
Tom

p.s. By the way, you have to be careful using those clamp-on Ammeters for milliampere currents, the do react to the Earths magnetic field and can give erroneous readings. Either orient them for a null to the the ambient field or take two readings, running the wire thru in the opposite direction while maintaining meter orientation, and then averaging the readings.
 
Last edited:
  • Like
Likes   Reactions: ffp
  • #20
Tom.G said:
OK. It sounds like they are using the same technology used in those battery powered clamp-on Ammeters, the ones that can measure both AC & DC current.

They are using 2 coils at 90° to each other and using the ratio of the magnetic fields on two axes. This eliminates the errors caused by non-constant field strength over the Earths surface. (and local interference or shielding)

Th coil inductance changes as the metal cores of the coils near saturation. This causes a phase shift of the AC current thru the coil versus the applied voltage.

Comparing the two phase shifts then yields the relative strengths of the external fields, and thus the direction of the ambient field.

Cheers,
Tom

p.s. By the way, you have to be careful using those clamp-on Ammeters for milliampere currents, the do react to the Earths magnetic field and can give erroneous readings. Either orient them for a null to the the ambient field or take two readings, running the wire thru in the opposite direction while maintaining meter orientation, and then averaging the readings.
Thanks for your answer. You're saying that each "rectangular coil" that they said in the description *is* the MI element (magnetoimpedance)? Or the core is the MI element? All the examples I've seen have the MI element as a piece of amorphous wire where the AC current flows, but without a coil.
Also, by your explanation, there should be two MI elements, right?
Well I'm starting to think Casio's dewceiption is wrong or simply incomplete. According to them, there are just 2 coils and a non-magnetic resistance between them. Which means the MI elemnt must be the coils per se, or at least inside them, as the core.

@anorlunda
What I don't get is why they need the coil at all? Why don't use the MI just like a thermistor, like the one used in the thermometer sensor? The bridge circuit don't have coils.

Now, I remembered that I had an old, broken SGW-500H watch that also have the twin sensor (compass and thermometer), probably the same as my Edifice. So, out of curiosity, I opened it. Here are the pictures:

Back
20220404_223116.jpg


Front of the board:
20220404_224616.jpg


We can see that there is no big ass coil ass they shownin the website description and pictures, at least not for those twin sensor models.
I believe the left gray cilinder is the quartz crystal. So, the right round box with the black square on top must be the compass sensor? And maybe that little yellow component on top right is the thermistor? Anyway, if there are coils, they are really, really small and inside that little box.
What you think?
 
  • #21
Nice photos! Much better than we usually see here. :smile:

ffp said:
You're saying that each "rectangular coil" that they said in the description *is* the MI element (magnetoimpedance)? Or the core is the MI element?
The combination, or assembly, of coil and core would be the MI element.
ffp said:
So, the right round box with the black square on top must be the compass sensor?
I see a black square on the front of the board near one edge, I would consider that a prime suspect of being the MI sensor. I can't find a 'round box with the black square' in the photos.

Cheers,
Tom
 
  • #22
Tom.G said:
Nice photos! Much better than we usually see here. :smile:The combination, or assembly, of coil and core would be the MI element.

I see a black square on the front of the board near one edge, I would consider that a prime suspect of being the MI sensor. I can't find a 'round box with the black square' in the photos.

Cheers,
Tom
Thanks! Ok, so the coil is around the MI. And there are probably two sets of coils-MI to get teo axis and give directions (the watch doesn't hsve 3 axis conpass and must be parallel to the ground for accurate reading). Now, what does the coil do exactly? Why can't the MI be used line a thermistor?

And yes, that's exactly the box I was talking about. In the sngle of the photo you can't see, but underneath the black square there is a roundish metalic component. It is mostnlikely the MI sensor (idk if the thermistor is inside too or is the yellow thing above it). I can take others pictures from other angles if you like.
 
  • #23
Because the characteristic of the MI material that changes can not be measured as an electrical quantity. Its magnetic characteristic changes.

The coil would create an changing magnetic field that is then modified by the MI. This modified magnetic field then interacts with the coil, inducing a voltage that can be sensed as a change in electrical characteristics.

Here is a rather poor analogy:
Consider you have a sealed can, perhaps a soda can.
You want to know if it is full, half full, or empty.
Since the can is sealed, you have no way of measuring the depth of liquid in it.
You can weigh it though to get an idea of how much it contains.

Cheers,
Tom
 
  • #24
Tom.G said:
Because the characteristic of the MI material that changes can not be measured as an electrical quantity. Its magnetic characteristic changes.

The coil would create an changing magnetic field that is then modified by the MI. This modified magnetic field then interacts with the coil, inducing a voltage that can be sensed as a change in electrical characteristics.

Here is a rather poor analogy:
Consider you have a sealed can, perhaps a soda can.
You want to know if it is full, half full, or empty.
Since the can is sealed, you have no way of measuring the depth of liquid in it.
You can weigh it though to get an idea of how much it contains.

Cheers,
Tom
Don't MI change the impedance (an electrical quantity)? Magnetic quantity would be permissivity.

The coil isn't to pick up the field?
I thought it would work like this:
There is an AC source that will feed the MI element. That AC will induce a voltage in the coils that are around it. That induced voltage is measured. When there is an external field present, the voltage will be different. With that difference we can calculate the external field.
Is that right?
 
  • #25
ffp said:
Is that right?

OK, I did some more research and you are right. I found an explanation of the
Magneto-Impedance Sensor here:
https://www.jst.go.jp/chizai/en/cips_details/pdf_2/3-8.pdf

The technology itself has a claimed dynamic range, 10-8 to 102 Gauss. The assembled device claims a range of ±4Gauss, resolution 0.1mG, and sensitivity of 500mV/G. WOW!

The link above gives the theory as you described and the sensitivity equations, it also has the (Japanese) patent numbers for those wishing a more detailed description.

Patent license is available.[/color]
Patent No. : JP-3091413,JP-3126642,JP-3197414 et al.
Patent owner contact: Masaru OZAKI (JST)
Tel:+81-3-5214-8486, e-mail: license@jst.go.jp

Thanks @ffp, for being persistent and leading all of us here to learn something new.

Cheers,
Tom
 
  • #26
Tom.G said:
OK, I did some more research and you are right. I found an explanation of the
Magneto-Impedance Sensor here:
https://www.jst.go.jp/chizai/en/cips_details/pdf_2/3-8.pdf

The technology itself has a claimed dynamic range, 10-8 to 102 Gauss. The assembled device claims a range of ±4Gauss, resolution 0.1mG, and sensitivity of 500mV/G. WOW!

The link above gives the theory as you described and the sensitivity equations, it also has the (Japanese) patent numbers for those wishing a more detailed description.

Patent license is available.
Patent No. : JP-3091413,JP-3126642,JP-3197414 et al.
Patent owner contact: Masaru OZAKI (JST)
Tel:+81-3-5214-8486, e-mail: license@jst.go.jp

Thanks @ffp, for being persistent and leading all of us here to learn something new.

Cheers,
Tom
Hey, I should thank you all for helping and not getting bored of my persistence.

This link here also describes the MI very clearly:
https://www.freepatentsonline.com/7278219.html

It's a big text, and the only part that matters is this one:
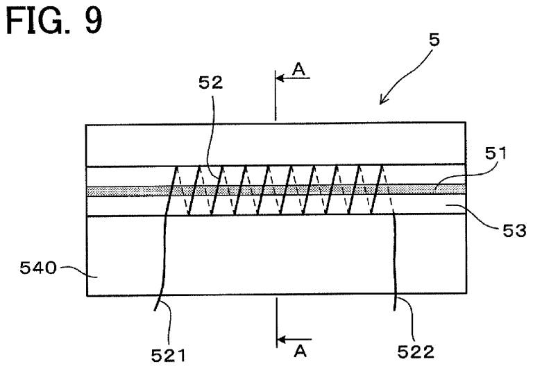
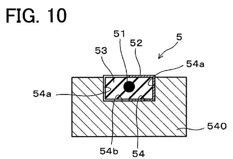
SmartSelect_20220406-134313_Chrome.jpg

SmartSelect_20220406-125131_Moon+ Reader Pro.jpg


SmartSelect_20220406-125141_Moon+ Reader Pro.jpg

TL;DR: There is an AC current in the MI (51 in the figures). As the AC current is changing over time, a magnetic field around that wire+MI will appear. That changing field will induce a voltage on the coil (52) that is around the MI. That voltage is measured. When there is an external magnetic field, the MI impedance changes and hence the AC current changes. And then the magnetic field changes and consequently the induced voltage on the pickup coil (52) also changes. That difference can be used to calculate the external field.

In this patent there are 3 MI elements used in a car. The watch has 2, so it needs to be parsllel to the ground.
The MI is needed because a regular resistance would not change the current enough in the presence of the mag field. The MI gives a lot of sensibility to the sensor. And a simple coil of that tiny, tiny size without an excited core would also no have enough juice to get a sensitive reading. Also, if there was only a coil, there would be no induced voltage, since Earth's magnetic field is practically constant.

Now, I only have one question:

1- The mag. field created by the AC current through the MI will be circles around it. The pickup coil is also circles around it. So the coil and the mag. field are parallel to each other. There would be no induced voltage in a coil parallel to the field (there must be an angle between them). Is my understanding wrong? Maybe the coil isn't just a wire wonded around the MI, but a spiral wonded around it? English is not my native tongue and I couldn't be sure reading the explanation posted or the images. Could someone confirm if the coil is in fact an spiral? If that's the case, then there would be an angle of 90º between the field and the area of the spiral, right?
 
  • #27

Similar threads

  • · Replies 20 ·
Replies
20
Views
4K
  • · Replies 37 ·
2
Replies
37
Views
5K
  • · Replies 20 ·
Replies
20
Views
2K
Replies
6
Views
2K
  • · Replies 21 ·
Replies
21
Views
2K
  • · Replies 1 ·
Replies
1
Views
2K
Replies
10
Views
3K
  • · Replies 1 ·
Replies
1
Views
3K
  • · Replies 30 ·
2
Replies
30
Views
4K
  • · Replies 20 ·
Replies
20
Views
3K