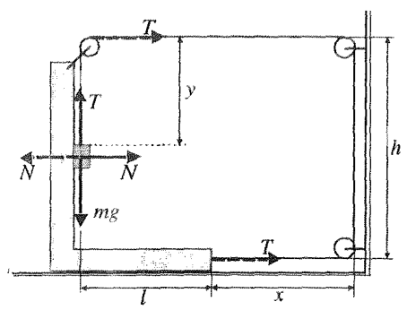
Why is 2Δx = Δy in this problem?

  • Thread starter Thread starter UniqUnicJohni
  • Start date Start date
Click For Summary

Homework Help Overview

The discussion revolves around a physics problem related to pulleys, specifically addressing the relationship between changes in position, represented as 2Δx = Δy. Participants are exploring the mechanics of pulley systems and the implications of rope length changes.

Discussion Character

  • Exploratory, Assumption checking, Conceptual clarification

Approaches and Questions Raised

  • Participants discuss visualizing the problem through diagrams to understand the relationship between Δx and Δy. There are inquiries about the effects of changing the system and the importance of identifying the type of pulleys involved.

Discussion Status

The conversation is ongoing, with participants offering insights into drawing diagrams and considering the mechanics of the pulley system. There is recognition of the need to clarify assumptions about the setup and the roles of different pulleys.

Contextual Notes

Some participants mention the importance of understanding the direction of forces and the signs associated with the variables involved in the problem. There is also an acknowledgment of the complexity of pulley systems and their varying functions.

UniqUnicJohni
Messages
1
Reaction score
0
Homework Statement
Find accelerations of the two bodies.
Relevant Equations
Constant rope length.
Hi, I've been practicing some physics for my competition and the pulley problems seemed the hardest to me. This one seemed similar to the others I have already done, but I can't seem to find the reason why 2Δx = Δy. Can you please explain why?

Sorry for the poor English.
screen.png
 
Physics news on Phys.org
What happens if you draw another picture showing the situation after the system has changed by ##\Delta x##?
 
Hello johni, :welcome: !

UniqUnicJohni said:
Can you please explain why?
Yes.
What I do is draw the setup with a visible ##\Delta x## (e.g. half-way to the wall) and then I check which pieces of rope have changed length.

You also have to worry about signs. Which way is positive in x and y ?

[edit] slower than @PeroK but it's good to see that great minds think alike :wink:
 
UniqUnicJohni said:
... This one seemed similar to the others I have already done, but I can't seem to find the reason why 2Δx = Δy.
All pulleys look alike, but some serve only for changing the direction of the rope/cable/chain, while others act as levers, reducing the pulling effort in half and doubling the length of rope to pull.
Try identifying what type each of the pulleys in your diagram is.

pully4a.gif
 
  • Like
Likes   Reactions: bagasme and vanhees71
Very nice picture !
 
  • Like
Likes   Reactions: Lnewqban

Similar threads

  • · Replies 4 ·
Replies
4
Views
3K
  • · Replies 7 ·
Replies
7
Views
963
  • · Replies 6 ·
Replies
6
Views
2K
Replies
7
Views
2K
  • · Replies 2 ·
Replies
2
Views
2K
Replies
3
Views
1K
Replies
2
Views
2K
  • · Replies 3 ·
Replies
3
Views
4K
  • · Replies 10 ·
Replies
10
Views
3K
Replies
3
Views
2K