How to determine the number of turns of the winding?

Click For Summary

Homework Help Overview

The discussion revolves around determining the number of turns of winding in a magnetic circuit, specifically involving the relationship between magnetic flux density, magnetic field strength, and the dimensions of the core. The original poster attempts to calculate the number of turns based on given values and a magnetization curve from a textbook.

Discussion Character

  • Conceptual clarification, Assumption checking, Problem interpretation

Approaches and Questions Raised

  • Participants explore the necessity of using magnetic flux density (B) and magnetic field strength (H) in the calculations. Some question the need for B when H is provided, while others emphasize the importance of the magnetization curve for determining H from B.

Discussion Status

The discussion is ongoing, with participants providing insights into the calculations and the relevance of the magnetization curve. There is recognition of a potential misunderstanding regarding the initial assumptions about the given values, and some participants suggest verifying the data against different references.

Contextual Notes

There is mention of a discrepancy between the calculated number of turns and the textbook answer, prompting further exploration of the assumptions made in the calculations. The term "electrical steel" is also discussed, indicating a need for clarity on material properties relevant to the problem.

Leonid92
Messages
45
Reaction score
2
Homework Statement
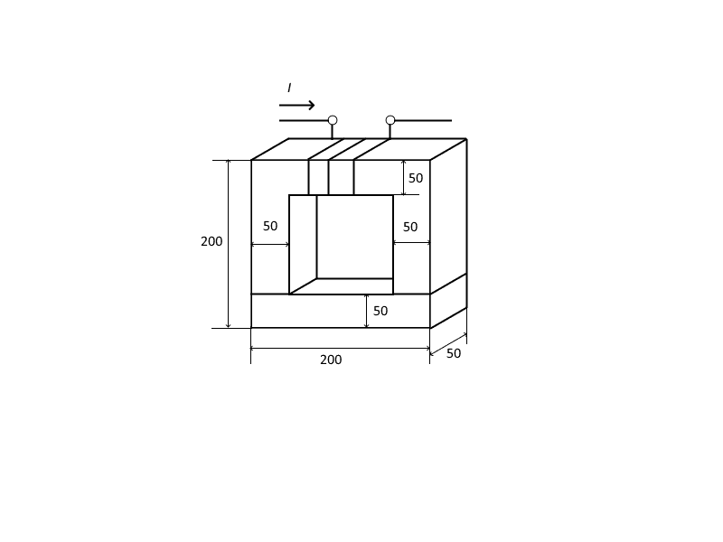
In the core made of electrical steel (Fig. 1), it is required to create a magnetic flux Φ = 4.2*10^(-3) Wb. Determine the number of turns of the winding, if the current is I = 5 A, and the dimensions of the core are specified in millimeters.
Relevant Equations
Φ = B*S
I*w = H*L
1) B = Φ/S = (4.2*10^(-3) Wb)/(2.5*10^(-3) m^2) = 1.68 T
2) Using electrical steel magnetization curve given in the textbook: magnetic field strength H corresponding to magnetic flux density 1.68 T is equal to 6000 A/m.
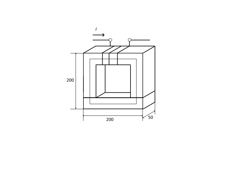
3) L is a length of the middle magnetic line of the core (Fig. 2).
L = 2*(200 - 50 + 200 - 50) = 600 mm = 0.6 m
4) According to Kirchhoff's second law for a magnetic circuit:
I*w = H*L,
where w is a number of turns of the winding.
Then:
w = (H*L)/I = 720.

Is it right solution?

The problem is that true answer given in the textbook is w = 240.

Could you please advise good reference book where one can find electrical steel magnetization curve? I'd like to check H value in another book.
 

Attachments

  • Problem_8_3_figure1.png
    Problem_8_3_figure1.png
    2.7 KB · Views: 305
  • Problem_8_3_figure2.png
    Problem_8_3_figure2.png
    3.2 KB · Views: 300
Last edited:
Physics news on Phys.org
If H is given as 6000 A/m then you don't need any B information. No permeability, no B flux - just the dimensions of the core: Hd = NI where d is path distance (Ampere's law).
 
  • Like
Likes   Reactions: Leonid92
rude man said:
If H is given as 6000 A/m then you don't need any B information. No permeability, no B flux - just the dimensions of the core: Hd = NI where d is path distance (Ampere's law).

Thank you for reply!
When posting the thread, I made a mistake. Actually, H is not given. One should determine H using calculated B value and electrical steel magnetization curve.
 
Leonid92 said:
Thank you for reply!
When posting the thread, I made a mistake. Actually, H is not given. One should determine H using calculated B value and electrical steel magnetization curve.
Makes more sense!
So determine B then divide by mu.
You need to use your textbook magnetization data or you'll get the wrong answer. There are many different kinds of steel, even "electrical steel" (never heard that term before), each with its unique data.
 
  • Like
Likes   Reactions: Leonid92
rude man said:
"electrical steel" (never heard that term before)
It's a term sometimes used to refer to Silicon Steel, typically as used in transformer laminations.
 

Similar threads

Replies
4
Views
2K
  • · Replies 4 ·
Replies
4
Views
3K
Replies
6
Views
2K
  • · Replies 5 ·
Replies
5
Views
2K
  • · Replies 4 ·
Replies
4
Views
2K
  • · Replies 2 ·
Replies
2
Views
2K
Replies
2
Views
5K
  • · Replies 2 ·
Replies
2
Views
6K
  • · Replies 3 ·
Replies
3
Views
2K
  • · Replies 15 ·
Replies
15
Views
3K