Imminence of movement with movable pulleys

  • Thread starter Thread starter A13235378
  • Start date Start date
  • Tags Tags
    Movement Pulleys
Click For Summary
SUMMARY

The discussion focuses on the mechanics of movable pulleys and their impact on tension and movement. Key equations are presented, including the relationship between tension (T), gravitational force (mg), and electric force (Eq). The analysis reveals that the system provides a mechanical advantage of 4:1, indicating that the sliding block experiences a tension four times greater than that felt by the stem. A critical observation is the necessity of a solid connection between the two lower pulleys to ensure proper function.

PREREQUISITES
  • Understanding of basic physics concepts such as tension and gravitational force.
  • Familiarity with pulley systems and mechanical advantage.
  • Knowledge of vector components in physics, particularly in relation to angles.
  • Basic mathematical skills for solving equations involving forces and motion.
NEXT STEPS
  • Study the principles of mechanical advantage in pulley systems.
  • Learn about the dynamics of tension in multi-pulley systems.
  • Explore the effects of angle on force components in physics.
  • Investigate the role of electric forces in mechanical systems, particularly in relation to pulleys.
USEFUL FOR

Physics students, mechanical engineers, and anyone interested in the principles of pulley systems and their applications in mechanics.

A13235378
Messages
50
Reaction score
10
Homework Statement
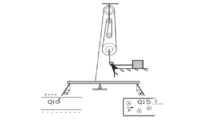
In a study on body balance, a physicist assembles an experimental apparatus, consisting of two bodies Q1 and Q2, of the same mass m, with charges + 2q and + q, respectively, separated by a distance of connected by strings of length l, to one with a thin, small stem of negligible mass. This stem is attached to a wire, which passes through four pulleys, the last of which is fixed to a rope that adheres to a block of mass M, which is on a surface with a friction coefficient µ. If the system does not reach equilibrium, the physicist adds plates to the body Q1 that generate a uniform electric field of value E, and to Q2 a magnetic field B, in addition to putting it in motion with a speed v, thus reaching , to static. However, when the wires that support the loads, by electrical repulsion, reach the same angle α with the vertical, the system is on the verge of movement
Consider:
- Gravity : g
- Middle electrical constant: K
- The threads are inextensible and of negligible mass
Which expression determines the value of the friction coefficient µ in the imminence of movement?
Relevant Equations
F=qvb
Fat=umg
1604755989007.png
Sem título.png

Answer: E

My solution:

1) Load 2q:

1604756167837.png

Y direction:

$$ T_1cos\alpha=mg + 2Eq$$

2) Load q:

1604756451439.png

Radial direction:

$$ T_2-\frac{Fel}{sen\alpha}-\frac{Fmag}{cos\alpha}-\frac{mg}{cos\alpha}=\frac{mv^2}{l}$$

$$T_2cos\alpha=\frac{Fel}{tg\alpha}+Fmag+mg+\frac{mv^2cos\alpha}{l}$$

3) Stem connected to the wire

1604756680868.png


$$T=T'+T''=T_1cos\alpha+T_2cos\alpha= mg + 2Eq+\frac{Fel}{tg\alpha}+Fmag+mg+\frac{mv^2cos\alpha}{l} $$

$$ T= 2mg+2Eq+qvB+\frac{2Kq^2}{d^2tg\alpha}+\frac{mv^2cos\alpha}{l}$$

On the imminence of movement:

$$M\mu g=2T=4mg+4Eq+2qvB+\frac{4Kq^2}{d^2tg\alpha}+\frac{2mv^2cos\alpha}{l}$$

$$\mu=\frac{4mg+2q(2E+vB)}{Mg}+\frac{2}{tg\alpha Mg}(\frac{2Kq^2}{d^2}+\frac{mv^2sen\alpha}{l})$$

Where am I missing?
 
  • Like
Likes   Reactions: Delta2
Physics news on Phys.org
Regarding the two lower pulleys:
The diagram is missing a necesary solid connection between both pulleys.
That system should give a mechanical advantage of 4:1 ratio.

Please, see:
https://roperescuetraining.com/physics_calcma_counting.php

The sliding block is "feeling" a tension four times greater than the tension that the stem is "feeling".
Because of that, the block would move only a quarter of the distance the stem-string point of connection would move.
 
Last edited: