Observers in circular orbit-Schwarzschild space-time

  • Context: Graduate 
  • Thread starter Thread starter WannabeNewton
  • Start date Start date
  • Tags Tags
    Circular Space-time
Click For Summary

Discussion Overview

The discussion revolves around the behavior of observers in circular orbits within the Schwarzschild geometry, particularly focusing on the relationship between angular velocity and 3-velocity for both orbiting and static observers. Participants explore the implications of curved spacetime on these relationships, addressing concepts such as gravitational time dilation and the definition of the Schwarzschild radial coordinate.

Discussion Character

  • Exploratory
  • Technical explanation
  • Conceptual clarification
  • Debate/contested

Main Points Raised

  • One participant questions why the relation ##v = \omega_R R##, which is typical in flat spacetime, holds in the curved Schwarzschild geometry.
  • Another participant suggests that an observer in a spherical shell at a fixed Schwarzschild coordinate would not perceive gravity or time dilation, implying a different understanding of spacetime geometry.
  • A participant expresses difficulty in picturing the relationship ##v = \omega R## in the context of Schwarzschild coordinates, noting that the interpretation of ##R## differs from flat space.
  • There is a correction regarding the relationship between the period of the circular orbit as measured by static observers and those at infinity, with some confusion about the correct expression for ##T_R##.
  • Participants discuss the definition of the Schwarzschild radial coordinate and its implications for understanding distances and geometry in curved spacetime.
  • Some participants argue that the Schwarzschild coordinate ##r## is defined to maintain certain Euclidean relationships, despite the underlying non-Euclidean nature of the spacetime.
  • There is a suggestion that the relationship ##v = \omega_R R## may not hold in alternative formulations of the Schwarzschild metric.
  • Participants note that while radial distances cannot be measured directly, the geometry of spheres at constant ##r## can still be analyzed using stationary rulers.

Areas of Agreement / Disagreement

Participants express differing views on the interpretation of the Schwarzschild radial coordinate and its implications for understanding circular orbits. There is no consensus on the intuitive understanding of the relationship between angular velocity and 3-velocity in this context.

Contextual Notes

Participants highlight limitations in measuring radial distances in Schwarzschild geometry and the potential for different coordinate systems to alter the interpretation of relationships like ##v = \omega_R R##.

WannabeNewton
Science Advisor
Gold Member
Messages
5,850
Reaction score
553
Hi guys! I have a rather brief question regarding circular free fall orbits in the Schwarzschild geometry. Consider an observer in a circular orbit in the equatorial plane at some allowed ##r = R##. The angular velocity as measured by an observer at infinity is given by ##\omega^2 = \frac{M}{R^3}## and the 4-velocity of the observer in Schwarzschild coordinates can then be written as ##u = (1 - \frac{2M}{R} - R^2\omega^2)^{-1/2}(\partial_t + \omega \partial_{\phi})##.

Consider now a static observer at ##r = R## whose worldline intersects that of the circularly orbiting observer at some event; the static observer has a Lorentz frame ##\{e_t,..,e_{\phi}\}##. We boost in the ##e_{\phi}## direction to write the 4-velocity of the orbiting observer relative to the static observer's frame: ##u = \gamma e_t + \gamma v e_{\phi}##. We know ##(1 - \frac{2M}{R} - R^2\omega^2)^{-1/2}\partial_t = \frac{(1 - \frac{2M}{R})^{1/2}}{(1 - \frac{2M}{R} - R^2\omega^2)^{1/2}}e_0 = \frac{e_0}{(1 - \frac{\omega^2R^2}{1 - \frac{2M}{R}})^{1/2}}## so ##v = (1 - \frac{2M}{R})^{-1/2}\omega R##. Now if ##T_R## is the period of the circular orbit as measured by the static observer (between events on the static observer's worldline) then it is related to the period measured at infinity by ##T_R = (1 - \frac{2M}{R})^{1/2}T## so the angular velocity as measured by the static observer is ##\omega_R = (1 - \frac{2M}{R})^{-1/2}\omega## hence ##v = \omega_R R##.

Why is the result ##v = \omega_R R##, an otherwise flat space-time relation, still holding in this curved space-time for the 3-velocity of the observer in circular orbit on the equatorial plane relative to a local static observer hovering at the same altitude as the orbit? Thanks in advance!
 
Last edited:
Physics news on Phys.org
Suppose you are an ant living on a spherical shell at Schwarzschild coordinate ##r = R##. Then your world is is spatially curved but you observe nothing else strange about it and probably would not invent general relativity. In particular you know of no such thing as gravity and definitely no such thing as gravitational time dilation. If you like you can think of your 2+1 dimensional world as being embedded in 3+1 dimensional Minkowski space and you will get all the right physics (as long as you don't leave the sphere).

More formally, take the Schwarzshild line element, fix the ##r## coordinate to ##r=R##, and rescale ##t## by a constant factor so that you get the line element

##ds^2 = -dt^2 + R^2 (d\theta^2 + d \phi^2 \sin^2 \theta )##

This is the same thing you would get for a the line element of a 2-sphere embedded in Minkowski space.
 
Last edited:
Thanks for the reply! That makes sense to me but what is irking me is that in flat space the relation ##v = \omega R## comes from the fact that the arc-length subtended by sweeping out an angle ##\phi## by a radius ##R## from some central point (say the origin of a coordinate system) is given by ##s = \phi R## and so I can picture the orbit in the usual way by relating the 3-velocity to the rate at which the radius from the center sweeps out the azimuthal angle. In the Schwarzschild case the ##R## coordinate in particular can't be interpreted/pictured in the same way so I can't really get an intuitive picture of the relation ##v = \omega R## for the circularly orbiting observer relative to the nearby static observer.
 
WannabeNewton said:
... so ##T_R = (1 - \frac{2M}{R})^{-1/2}T##.
Should that be ##T_R = (1 - \frac{2M}{R})^{1/2}T##?

As for the bigger question, I guess the answer is related to the fact that r in the Schwarzschild metric is defined as having the Euclidean relationship Circumference = 2*pi*r. This is despite the fact that the distance between two shells with radius r2 and r1 is not (r2-r1) as measured either by radar method or rulers. The way r is defined is just a convenient convention and I guess there are other ways of reformulating the Schwarzschild metric in coordinates where r does not have the Euclidean relationship and then the relationship ##v = \omega_RR## would no longer hold. For example the isotropic formulation of the Schwarzschild metric (possibly).
 
Last edited:
yuiop said:
Should that be ##T_R = (1 - \frac{2M}{R})^{1/2}T##?
Yes sorry, I'll fix that. Thanks.

yuiop said:
As for the bigger question, I guess the answer is related to the fact that r in the Schwarzschild metric is defined as having the Euclidean relationship Circumference = 2*pi*r. This is despite the fact that the distance between two shells with radius r2 and r1 is not (r2-r1) as measured either by radar method or rulers. The way r is defined is just a convenient convention and I guess there are other ways of reformulating the Schwarzschild metric in coordinates where r does not have the Euclidean relationship and then the relationship ##v = \omega_RR## would no longer hold. For example the isotropic formulation of the Schwarzschild metric (possibly).

Right that's definitely true. So I suppose there is no meaningful way of getting an intuitive picture of said relationship with regards to the circular orbit and the stationary observer then?
 
WannabeNewton said:
Right that's definitely true. So I suppose there is no meaningful way of getting an intuitive picture of said relationship with regards to the circular orbit and the stationary observer then?
Hmmmm ... have to think about that...

I think your main question could be encapsulated more starkly as 'why does the Euclidean relationship Circumference = 2*pi*r still hold in the Schwarzschild metric, when curved spacetime is definitely non Euclidean?'.
 
WannabeNewton said:
I can't really get an intuitive picture of the relation ##v = \omega R## for the circularly orbiting observer relative to the nearby static observer.
I think that is essentially the definition of the Schwarzschild r coordinate. It is defined so that all of the geometry in that shell is exactly the same as the geometry on a shell of radius r in flat space.
 
WannabeNewton said:
Why is the result ##v = \omega_R R##, an otherwise flat space-time relation, still holding in this curved space-time

Because, following on from what DaleSpam said, ##r## is not the actual radial distance from the center; it's a label that's put on a 2-sphere at ##r## so that relations like ##v = \omega r## that only involve tangential quantities can be written in terms of ##r## and will look like their flat-spacetime counterparts, without having to raise the thorny issue of what the actual radial distance from the center is, or whether that concept even has meaning (which it arguably doesn't in a black hole spacetime).
 
You can't measure r with radial rulers, so you could think of the period of the circular orbit as being one method for measuring it.
 
  • #10
DaleSpam said:
You can't measure r with radial rulers

You can't measure the full distance to the center of a black hole with radial rulers, true. (Which is one reason for doubting that the concept "distance to the center of a black hole" is meaningful.) But you can measure the radial distance between nearby 2-spheres at coordinates ##r## and ##r + dr## (i.e., having areas ##4 \pi r^2## and ##4 \pi \left( r + dr \right)^2##) using stationary rulers (provided that ##r > 2M##), and verify that it is larger than ##dr##, i.e., larger than it would be if the spacetime were flat. So clearly, whatever ##r## measures, it isn't radial distance.
 
  • #11
DaleSpam said:
I think that is essentially the definition of the Schwarzschild r coordinate. It is defined so that all of the geometry in that shell is exactly the same as the geometry on a shell of radius r in flat space.

PeterDonis said:
...it's a label that's put on a 2-sphere at ##r## so that relations like ##v = \omega r## that only involve tangential quantities can be written in terms of ##r## and will look like their flat-spacetime counterparts, without having to raise the thorny issue of what the actual radial distance from the center is, or whether that concept even has meaning (which it arguably doesn't in a black hole spacetime).

DaleSpam said:
You can't measure r with radial rulers, so you could think of the period of the circular orbit as being one method for measuring it.

Awesome, thanks! My problem is that I keep picturing ##\rho = \int _{0}^r (1 - \frac{2M}{r'})^{-1/2}dr'## when imagining the circular orbit but all the relations for the kinematical quantities associated with the orbital motion are given in terms of ##r## in a manner resembling the relations in flat space so the intuitive picture in my head is acting as a mental block in a sense.

But for ##r >> 2M##, where things are asymptotically flat, can we imagine ##r## as being the distance from the center of spherical symmetry to wherever we are far away from the source, to zeroth order, as if we were using regular flat polar coordinates? The reason I ask is the following passage from Hartle's GR text (p. 206): http://postimg.org/image/vqsn8hbkr/

At infinity, Hartle interprets ##r## and ##\phi## as if they were the usual polar coordinates on flat space. He then deduces that ##\frac{d}{r} = sin\phi \approx \phi## but ##\frac{d}{r} = sin\phi## only makes sense if we can think of ##r## as the distance from the center of spherical symmetry to wherever we are in the far field region and ##\phi## as the angle ##r## makes with the ##x##-axis, which Hartle says passes through the center of spherical symmetry. So can we actually do this?

I'm getting confused because I thought the Schwarzschild coordinates being flat at spatial infinity meant that they were flat locally in that region as opposed to what Hartle seem's to be saying, which is that at infinity we can replace the Schwarzschild coordinates with regular Cartesian polar coordinates whose origin is at the center of spherical symmetry-this doesn't seem local to me because it basically extends all the way from infinity to the center of spherical symmetry.
 
  • #12
WannabeNewton said:
for ##r >> 2M##, where things are asymptotically flat, can we imagine ##r## as being the distance from the center of spherical symmetry to wherever we are far away from the source, to zeroth order, as if we were using regular flat polar coordinates?

If you ignore that the source is a black hole, and just regard it as a "point source", you can get away with this, as long as you don't try to interpret it too literally physically.

WannabeNewton said:
At infinity, Hartle interprets ##r## and ##\phi## as if they were the usual polar coordinates on flat space. He then deduces that ##\frac{d}{r} = sin\phi \approx \phi## but ##\frac{d}{r} = sin\phi## only makes sense if we can think of ##r## as the distance from the center of spherical symmetry to wherever we are in the far field region and ##\phi## as the angle ##r## makes with the ##x##-axis, which Hartle says passes through the center of spherical symmetry. So can we actually do this?

Yes, this is one of the cases where you can get away with it. :wink: As long as the trajectory of the light ray doesn't take it too close to the hole's horizon, this dodge works fine. But it is a dodge: it only works, as I said, if you can ignore the actual nature of the source and pretend it's just a point source with no internal structure.
 
  • #13
Alrighty! So just for clarification, when we replace the Schwarzschild coordinates with regular Cartesian polar coordinates in the far field region, it's not like we're just replacing a small patch localized at infinity but rather we're replacing the entirety of Schwarzschild coordinates with Cartesian polar coordinates whose origin is at the center of spherical symmetry, with the source now construed as a point source (which is fine if we're in the far field region), and which extends all the way to infinity, assuming crucially that all the calculations we are doing are in fact at infinity?
 
  • #14
WannabeNewton said:
So just for clarification, when we replace the Schwarzschild coordinates with regular Cartesian polar coordinates in the far field region, it's not like we're just replacing a small patch localized at infinity but rather we're replacing the entirety of Schwarzschild coordinates with Cartesian polar coordinates whose origin is at the center of spherical symmetry, with the source now construed as a point source (which is fine if we're in the far field region), and which extends all the way to infinity, assuming crucially that all the calculations we are doing are in fact at infinity?

That's the way I understand it, yes.
 
  • #15
WannabeNewton said:
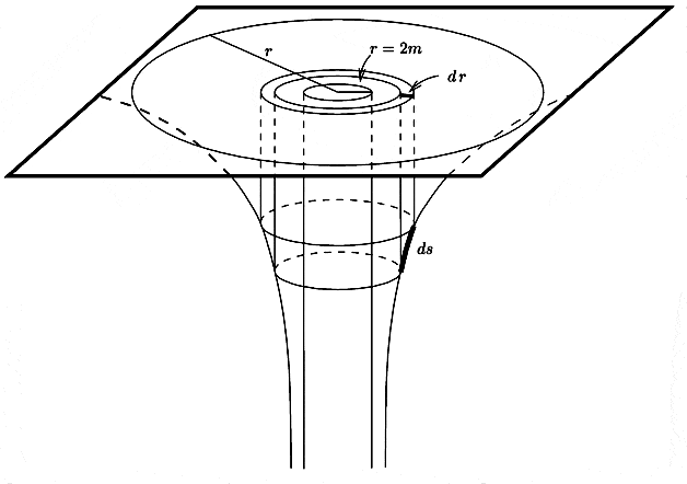
So I suppose there is no meaningful way of getting an intuitive picture of said relationship with regards to the circular orbit and the stationary observer then?

I don't know if that is the intuitive picture you are looking for. But you can think of the Schwarzschild coordinate as the projection of the actual radial distance onto flat space, represented by the plane in this picture:

image001.gif

From: http://ion.uwinnipeg.ca/~vincent/4500.6-001/Cosmology/Black_Holes.htm

Since the Schwarzschild coordinate gives you the distances within that flat plane, it has a Euclidean relationship to the circumference.
 
  • #16
Basically the circumference measured by a static observer is, by definition, 2 pi R, because of the way Schwarzschild coordinates are defined.

So the distance traveled during an orbit, the circumference (as measured by a static observer) divided by the period (as measured by a static observer) gives the velocity (as measured by a static observer). It's not surprising at all to me, I find it intuitive.

We do need in addition that the notion that all clocks at a constant value of R "tick at the same rate", a condition to easily state informally but that Id have to be more awake to frame formally.
 
  • #17
Something I noticed some time ago while doing the circular orbit frame field in the Schwarzschild vacuum was this - the worldline of the orbit is ##\sqrt{\frac{r}{r-3M}}\partial_t+\frac{\sqrt{M}}{r\,\sqrt{r-3\,M}}\partial_\phi## so can we say that ##d\phi/dt =(d\phi/d\tau)/(dt/d\tau)= \sqrt{M/r^3}## ? This is equal to the vorticity of the local frame and the Newtonian value. If these were not the same the two observers would count a different number of complete revolutions. Ouch.
 
  • #18
PeterDonis said:
That's the way I understand it, yes.

Thanks Peter!

A.T. said:
Since the Schwarzschild coordinate gives you the distances within that flat plane, it has a Euclidean relationship to the circumference.

That's actually exactly the kind of picture I was looking for, thank you!

Mentz114 said:
Something I noticed some time ago while doing the circular orbit frame field in the Schwarzschild vacuum was this - the worldline of the orbit is ##\sqrt{\frac{r}{r-3M}}\partial_t+\frac{\sqrt{M}}{r\,\sqrt{r-3\,M}}\partial_\phi## so can we say that ##d\phi/dt =(d\phi/d\tau)/(dt/d\tau)= \sqrt{M/r^3}## ? This is equal to the vorticity of the local frame and the Newtonian value. If these were not the same the two observers would count a different number of complete revolutions. Ouch.

Yes ##\frac{d\phi}{dt} = \omega = \sqrt{\frac{M}{r^3}}## but as far as I know the fact that this matches Kepler's law is just a coincidence arising from our use of Schwarzschild coordinates. It doesn't hold for elliptical orbits I think, which have more complicated properties such as the failure to close after each complete orbit.
 
  • #19
WannabeNewton said:
Yes ##\frac{d\phi}{dt} = \omega = \sqrt{\frac{M}{r^3}}## but as far as I know the fact that this matches Kepler's law is just a coincidence arising from our use of Schwarzschild coordinates. It doesn't hold for elliptical orbits I think, which have more complicated properties such as the failure to close after each complete orbit.
Yes, the exect elliptical solution has the Weierstrass elliptic function ##\wp##, which is modular like sin, cos but has 2 frequencies the minor of which gives the precession frequency. So I guess the circular orbit is special. Platonic perfection ?
 
  • #20
Mentz114 said:
So I guess the circular orbit is special. Platonic perfection ?

Well I would say it's not just the circular orbit but rather the circular orbit combined with the fact that we're talking about the angular velocity as measured by an observer at infinity. The angular velocity as measured by an observer following the circular orbit does not have the Keplerian form for example.
 
  • #21
WannabeNewton said:
Well I would say it's not just the circular orbit but rather the circular orbit combined with the fact that we're talking about the angular velocity as measured by an observer at infinity. The angular velocity as measured by an observer following the circular orbit does not have the Keplerian form for example.
Also (as implied by your first sentence) the angular velocity according to a local static observer is not Keplarian, i.e.

##\omega_R = \sqrt{\frac{M}{R^3(1-2M/R)}}##

All physical processes measured by a local static observer occur faster by a factor gamma relative to the measurements made by an observer at infinity. For example:

##\omega_R = \frac{\omega}{\sqrt{1-2M/R}}##

and

##v_R = \frac{v}{\sqrt{1-2M/R}}##

so it is not surprising that the ratio ##v_R/\omega_R## is the same for any any static observer, (not just a local one).
 

Similar threads

  • · Replies 5 ·
Replies
5
Views
3K
  • · Replies 15 ·
Replies
15
Views
2K
  • · Replies 87 ·
3
Replies
87
Views
7K
  • · Replies 18 ·
Replies
18
Views
5K
  • · Replies 1 ·
Replies
1
Views
788
  • · Replies 5 ·
Replies
5
Views
2K
  • · Replies 4 ·
Replies
4
Views
2K
  • · Replies 0 ·
Replies
0
Views
3K
  • · Replies 12 ·
Replies
12
Views
3K
  • · Replies 9 ·
Replies
9
Views
4K