Substation main xformer earthing?

Click For Summary

Discussion Overview

The discussion revolves around the connection of the fourth terminal on the low side of a substation transformer, specifically in the context of modeling for a game. Participants explore the technical aspects of transformer earthing and grounding practices in substations, considering both theoretical and practical implications.

Discussion Character

  • Exploratory
  • Technical explanation
  • Debate/contested

Main Points Raised

  • One participant inquires about the typical connection of the fourth terminal, suggesting it is likely the neutral connected to protective earth to prevent overvoltage, while noting that this may vary by country and standards.
  • Another participant expresses a desire for practical insights, questioning what the fourth connection would look like in a real substation setting, specifically whether it connects to the ground or the transformer case.
  • A later reply describes the grounding setup in substations, indicating that the fourth connection is typically connected to a grid of copper straps earthed in the ground, with the transformer chassis bonded separately.
  • Participants discuss the importance of specifying the operating mode of the neutral conductor (TN-C or TN-S) when designing, although one participant clarifies they are not actually designing anything but want their model to be accurate.
  • Some participants share links to articles on substation grounding, but express that the content is more theoretical than practical, indicating a preference for real-world applications.

Areas of Agreement / Disagreement

There is no clear consensus on the specifics of the fourth terminal's connection, with multiple viewpoints presented regarding its practical implementation and grounding practices. Participants express varying degrees of uncertainty and seek clarification on practical aspects.

Contextual Notes

Participants acknowledge that the grounding practices may depend on national standards and that the discussion includes both theoretical and practical considerations, which may not be fully resolved.

Ryoko
Messages
149
Reaction score
10
I'm modeling a substation for a game. I would like it to be generally technically correct. Currently, I'm modeling the main xformer and I noticed they have 4 terminals on the low side. I can guess these are for phases A/B/C plus a neutral. My question is where would this 4th terminal normally be connected in a substation setting?
 
Engineering news on Phys.org
Ryoko said:
My question is where would this 4th terminal normally be connected in a substation setting?
I would expect it to be the neutral, at the centre of the three-phase star, connected to protective earth. It is there to protect the insulators from overvoltage.

It might depend on the country and national standard.
 
  • Like
Likes   Reactions: Ivan Nikiforov
berkeman said:
I saw those articles. But unfortunately it was more theoretical than practical. I guess what I'm asking if I walked into a substation, what would that 4th connection look like? Is it just strapped to an earthing connection in the ground or tied to the xformer case?
 
Hmm, is this article any better?

1738606601084.jpeg

https://eepower.com/technical-artic...tion-grounding-parts-of-the-grounding-system/
 
  • Like
Likes   Reactions: Ivan Nikiforov
Ryoko said:
Is it just strapped to an earthing connection in the ground or tied to the xformer case?
The floor of the sub-station will have a grid of flat copper straps on the surface, earthed through deep holes in the ground. The 4th connection, as an earthed neutral, will be connected to that grid with a strap. The chassis of the transformer will be separately bonded to the earth grid.
 
  • Like
Likes   Reactions: Ivan Nikiforov and berkeman
Ryoko said:
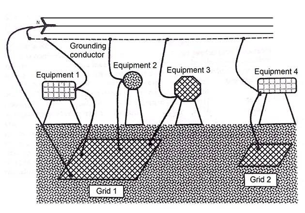
I saw those articles. But unfortunately it was more theoretical than practical. I guess what I'm asking if I walked into a substation, what would that 4th connection look like? Is it just strapped to an earthing connection in the ground or tied to the xformer case?
1738608651112.png

Hello! The ground wire is shown with a red arrow. This connection must be made at the transformer terminal at the neutral connection point. The transformer housing is connected to the ground loop by a separate conductor. When designing, please specify the operating mode of the neutral conductor - TN-C or TN-S.
 
  • Informative
  • Like
Likes   Reactions: berkeman and DaveE
Ivan Nikiforov said:
View attachment 356772
Hello! The ground wire is shown with a red arrow. This connection must be made at the transformer terminal at the neutral connection point. The transformer housing is connected to the ground loop by a separate conductor. When designing, please specify the operating mode of the neutral conductor - TN-C or TN-S.
Not actually designing anything. I just want the model to be reasonably accurate. Though admittedly 99.9% of people playing a game looking at it would never see anything wrong even when it is totally messed up. I've played games with power distribution as part of the modeled environment and it drives me nuts just how horribly wrong it is most of the time. But the art guys like it.
 
  • Like
Likes   Reactions: Ivan Nikiforov

Similar threads

Replies
4
Views
4K
Replies
15
Views
2K
  • · Replies 32 ·
2
Replies
32
Views
4K
Replies
31
Views
6K
  • · Replies 83 ·
3
Replies
83
Views
8K
  • · Replies 13 ·
Replies
13
Views
7K
  • · Replies 16 ·
Replies
16
Views
40K
  • · Replies 6 ·
Replies
6
Views
13K
Replies
14
Views
3K
  • · Replies 9 ·
Replies
9
Views
2K