DaveC426913
Gold Member
2025 Award
- 24,492
- 8,792
- TL;DR
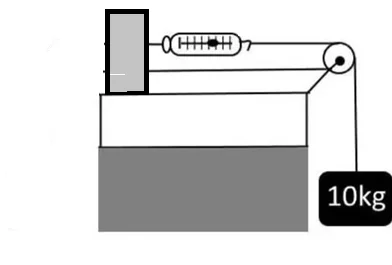
- What does the scale read in this diagram?
My learning is a bit rusty. I can intuit the answer but I can't formalize it.
What does the scale read?
I say the scale reads 10kg.
My logic is this:
But what is a more elegant way of getting the answer?
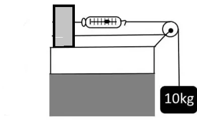
What does the scale read?
I say the scale reads 10kg.
My logic is this:
- Fix the left cable and pulley in place with a giant glob of glue.
- Cut the cable holding the left weight.
- The scale is holding up a 10kg weight. Nothing has changed as far as the scale is concerned.
But what is a more elegant way of getting the answer?
Last edited:
