Why are the forces on torque tension and not the weight of the mass?

Click For Summary

Homework Help Overview

The discussion revolves around understanding the forces acting on a system involving a disk and hanging masses, specifically focusing on why tension is considered in torque calculations instead of the weight of the masses. The subject area includes concepts of torque, tension, and rotational dynamics.

Discussion Character

  • Conceptual clarification, Assumption checking

Approaches and Questions Raised

  • Participants explore the relationship between tension and weight in the context of torque, questioning why tension is used in calculations instead of the weight of the blocks. Some express confusion about the role of tension as an opposing force and its relation to the motion of the system.

Discussion Status

The discussion is ongoing, with participants offering insights into the nature of forces acting on the system. Some guidance has been provided regarding the implications of static versus dynamic conditions, and the necessity of using tension values in non-equilibrium situations is being emphasized.

Contextual Notes

There are assumptions about the system's state, with references to static and dynamic conditions, and the need for clarity on how forces interact in the context of torque and motion. Participants are encouraged to consider the implications of different accelerations on tension.

j04015
Messages
8
Reaction score
1
Homework Statement
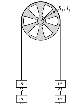
Check image attached
I have a hard time understanding why the F in T=FR is tension and not the weight of the blocks

Isn't weight the force that's making the disk rotate? I thought tension was just an opposing force.
Relevant Equations
T=Iα
Screenshot 2023-12-10 3.46.18 PM.png

Let the left string be T1 and the right string be T2. Pretend that the masses are NOT equal and that the total mass on the left is 3mg and the total mass on the right is 2mg.

My first thought: Net torque = 3mgR1-2mgR1

Actual solution: Net torque = (T1-T2)*R

Once again, the force that's used is tension and not the weight of the mass (which I'm assuming is what makes the system move). I just need some advice on understanding why that's the case.
 
Physics news on Phys.org
j04015 said:
Homework Statement: Check image attached
I have a hard time understanding why the F in T=FR is tension and not the weight of the blocks

Isn't weight the force that's making the disk rotate? I thought tension was just an opposing force.
Relevant Equations: T=Iα

View attachment 337044
Let the left string be T1 and the right string be T2. Pretend that the masses are NOT equal and that the total mass on the left is 3mg and the total mass on the right is 2mg.

My first thought: Net torque = 3mgR1-2mgR1
That's not a bad first thought. But, are you sure it's your final answer?
j04015 said:
Actual solution: Net torque = (T1-T2)*R
That must be true, because only the string is attached to the wheel.
j04015 said:
Once again, the force that's used is tension and not the weight of the mass (which I'm assuming is what makes the system move). I just need some advice on understanding why that's the case.
The mass difference is the cause of the motion, but you need to make sure that all the relevant equations are satisfied. For example, if ##T_1 = 3mg##, what does Newton's second law say about the motion of the ##3m## mass?
 
  • Like
Likes   Reactions: Lnewqban
j04015 said:
Homework Statement: Check image attached
I have a hard time understanding why the F in T=FR is tension and not the weight of the blocks

Isn't weight the force that's making the disk rotate? I thought tension was just an opposing force.
Relevant Equations: T=Iα

Once again, the force that's used is tension and not the weight of the mass (which I'm assuming is what makes the system move). I just need some advice on understanding why that's the case.
Your first guess tacitly assumes that the system is static and that will lead to the incorrect answer. Slow and steady solves the problem.
 
hutchphd said:
Your first guess tacitly assumes that the system is static and that will lead to the incorrect answer.
Not quite right. If the net torque is τnet = 3mgR1 - 2mgR1, the system cannot be static because the net torque is not zero. The system is static if it is at rest and remains at rest. This value of τnet is the initial value of the net torque at the moment of release before the string stretches a bit when the angular velocity is zero and the angular acceleration is ##\alpha = \tau_{\text{net}}/I.##
 
  • Like
Likes   Reactions: MatinSAR
My statement was perhaps too nuanced. His (tacit) intuition about tension was, I believe, predicated upon this misapprehension somewhere in his chain of thought (trying to work it out in his head). A common source of error for people used to intuiting the answers without recourse to their ongoing education
 
j04015 said:
Once again, the force that's used is tension and not the weight of the mass (which I'm assuming is what makes the system move). I just need some advice on understanding why that's the case.
Try this. A block has mass =2kg and hangs from a string. Take g=10N/kg.
What is the tension when:
a) the block's acceleration is zero?
b) the block's acceleration is 3m/s² upwards?
c) the block's acceleration is 3m/s² downwards?

The forces directly acting on the wheel are the tensions. So in a non-equilibrium (unequal hanging masses) situation, you must use the values of the tensions, not the values of the weights.

Minor edits.
 
  • Like
Likes   Reactions: MatinSAR
kuruman said:
Not quite right. If the net torque is τnet = 3mgR1 - 2mgR1, the system cannot be static because the net torque is not zero. The system is static if it is at rest and remains at rest. This value of τnet is the initial value of the net torque at the moment of release before the string stretches a bit when the angular velocity is zero and the angular acceleration is ##\alpha = \tau_{\text{net}}/I.##
I assumed @hutchphd meant held static.
j04015 said:
why the F in T=FR is tension and not the weight of the blocks
This is a common error.
The disc is an inanimate object. Unlike you, it cannot see the source of the tension. It can only react to those forces that act directly on it.
Since the masses will move, there is a net force on them. Consequently their weights cannot equal the tension.
 
  • Like
Likes   Reactions: MatinSAR
hutchphd said:
My statement was perhaps too nuanced. His (tacit) intuition about tension was, I believe, predicated upon this misapprehension somewhere in his chain of thought (trying to work it out in his head). A common source of error for people used to intuiting the answers without recourse to their ongoing education
I agree. I posted for the record.
haruspex said:
I assumed @hutchphd meant held static.
I thought about that, but I wasn't sure. After all, if the system is held static there must be a third entity, in addition to the two weights, holding it static.
 
  • Like
Likes   Reactions: MatinSAR and hutchphd

Similar threads

  • · Replies 22 ·
Replies
22
Views
1K
  • · Replies 5 ·
Replies
5
Views
3K
Replies
12
Views
1K
  • · Replies 10 ·
Replies
10
Views
3K
Replies
6
Views
3K
  • · Replies 12 ·
Replies
12
Views
4K
Replies
3
Views
2K
  • · Replies 47 ·
2
Replies
47
Views
4K
  • · Replies 45 ·
2
Replies
45
Views
4K
  • · Replies 7 ·
Replies
7
Views
3K