Buoyancy,volume of air inside barrel

  • Thread starter Thread starter Kqwert
  • Start date Start date
  • Tags Tags
    Air Fluid statics
Click For Summary
SUMMARY

The discussion centers on calculating the volume of air required to raise an anchor from the seabed using a 200L plastic barrel. The key equation involves balancing forces: the gravitational force on the anchor and barrel against the buoyant force generated by the displaced water volume, represented as V,air. The solution manual omits the barrel's mass, suggesting it is negligible compared to the anchor's mass. The reasoning aligns with Archimedes' principle, confirming that displacing water is essential for buoyancy.

PREREQUISITES
  • Understanding of Archimedes' principle
  • Basic knowledge of buoyant and gravitational forces
  • Familiarity with force balance equations
  • Concept of volume displacement in fluids
NEXT STEPS
  • Study Archimedes' principle in detail
  • Learn about buoyancy calculations in fluid mechanics
  • Explore force balance equations in physics
  • Research the properties of different fluids and their densities
USEFUL FOR

Students in physics or engineering, particularly those studying fluid mechanics, as well as anyone involved in marine engineering or underwater operations.

Kqwert
Messages
160
Reaction score
3

Homework Statement


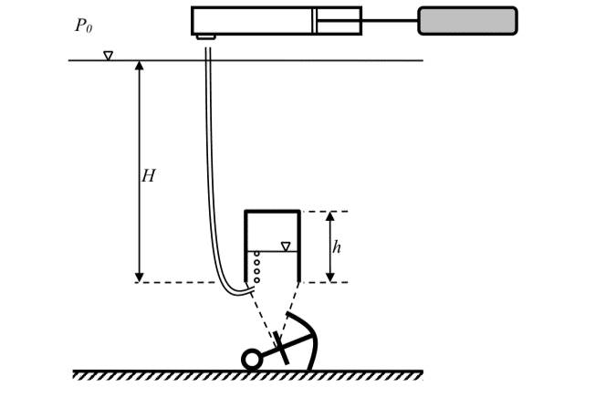
We are using a device(as shown in the image) to blow air into a 200L plastic barrel. We want to know how much air (volume) that is needed to raise the anchor from the seabed.
Dbl8JQA.png


Homework Equations

The Attempt at a Solution


The anchor will start moving upwards when the sum of forces on it is zero. We have gravitational and buoyant forces. We need to "displace" an unknown amount of water inside the barrel by pumping air into the barrel, corresponding to V,air.

My force balance:
rho, water * g * V,anchor + rho, water*g*V,air - m,anchor*g - m, barrel*g = 0

The solution manual does not include the last term, i.e. m, barrel*g. I guess this is only possible because m, barrel is assumed very small compared to the anchor? Also: Is my reasoning regarding "displacing" an unknown amount of water inside the barrel correct, using Archimede´s principle?
 

Attachments

  • Dbl8JQA.png
    Dbl8JQA.png
    5.3 KB · Views: 933
Physics news on Phys.org
If the mass of the barrel is not given, then you must assume that it is negligible. Your reasoning is correct.
 

Similar threads

  • · Replies 6 ·
Replies
6
Views
858
Replies
26
Views
2K
  • · Replies 12 ·
Replies
12
Views
2K
  • · Replies 1 ·
Replies
1
Views
2K
Replies
170
Views
9K
  • · Replies 11 ·
Replies
11
Views
2K
Replies
19
Views
1K
  • · Replies 2 ·
Replies
2
Views
3K
  • · Replies 19 ·
Replies
19
Views
2K
  • · Replies 19 ·
Replies
19
Views
3K