Calculating the torque of the Laplace force on this coil

Click For Summary

Homework Help Overview

The discussion revolves around calculating the torque of the Laplace force acting on a coil within a magnetic field. The problem involves determining the Laplace force for various angles and calculating the resulting torque, while also considering the influence of the number of coils on the electromagnetic forces involved.

Discussion Character

  • Exploratory, Assumption checking, Conceptual clarification

Approaches and Questions Raised

  • Participants explore the calculation of the Laplace force and torque, questioning the significance of the number of coils and the interpretation of terms like "couples" and "spire." There are inquiries about the specific forces acting on different sections of the coil and the derivation of certain values used in the calculations.

Discussion Status

Participants are actively engaging with the problem, raising questions about the definitions and assumptions involved. Some guidance has been offered regarding the relationship between the number of coils and the resulting forces, as well as clarifications on the torque calculations. Multiple interpretations of terms and concepts are being explored without reaching a consensus.

Contextual Notes

There is a noted lack of clarity regarding the definitions of terms used in the problem, such as "spire" and "couples," which may affect understanding. Additionally, the discussion highlights the challenges faced due to perceived inadequacies in instructional support.

merdeka
Messages
6
Reaction score
0
Homework Statement
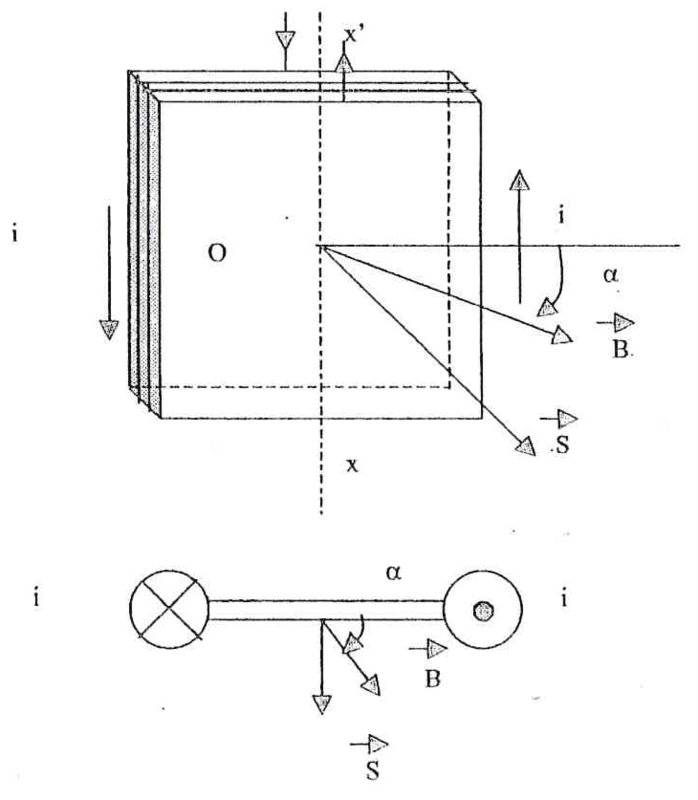
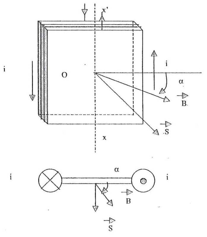
A non-deformable movable frame with square sides ##a = 30## cm has ##N = 20## spires with an electric current ##i = 5## A flowing through them. The frame is placed in a magnetic field ##\vec{B}##, with ##B = 0.4## T where the field lines make an angle ##\alpha_{i}## with the plane of the mobile frame.

What is the moment (torque) of the couples ##C_i## of the electromagnetic forces in the rotation axis ##x\prime Ox## for the four proposed values ##\alpha_i = \{0, \frac{\pi}{3}, \frac{\pi}{2}, \pi\}##?
Relevant Equations
##\mathbf{F} = i \boldsymbol{\ell} \times \mathbf{B}##
##F = i \ell B \sin(\alpha)##
exo_5.jpg


We first determine the Laplace force for each value ##\alpha##.

$$F_{\alpha} = 5(0.3)(0.4)\sin(\alpha) = 0.6\sin(\alpha) \ \text{N}$$

We then calculate the torque at angle ##\alpha##.

$$\tau_{\alpha} = \frac{a}{2} F_{\alpha} = 2.5 F_{\alpha} \ \text{N.m}$$

Then we just plug in ##\alpha## and we should three different values (since ##\sin(0) = \sin(\pi) = 0##). But I don't understand why the numbers of spires/coils is noted here, I have the notion that the strength of the electomagnetic field is proportional to the number of coils but we haven't reached that point in class, yet. The teacher I have is very poor when it comes to correcting questions, let alone explain them. Can anyone help me understand?
 
Last edited by a moderator:
Physics news on Phys.org
merdeka said:
We first determine the Laplace force for each value ##\alpha##.

$$F_{\alpha} = 5(0.3)(0.4)\sin(\alpha) = 0.6\sin(\alpha) \ \text{N}$$
What force is this? Is it the force acting on some particular part of the square? If so, which part?

We then calculate the torque at angle ##\alpha##.

$$\tau_{\alpha} = \frac{a}{2} F_{\alpha} = 2.5 F_{\alpha} \ \text{N.m}$$
What torque is this? Have you obtained the net torque due to all of the forces acting on all of the straight sections of wire? It is important to draw the direction of the force on each section of wire if you are going to get the correct expression for the torque about axis ##xOx'## due to the force.
 
Last edited:
merdeka said:
Homework Statement: A non-deformable movable frame with square sides ##a = 30## cm has ##N = 20## spires with an electric current ##i = 5## A flowing through them. The frame is placed in a magnetic field ##\vec{B}##, with ##B = 0.4## T where the field lines make an angle ##\alpha_{i}## with the plane of the mobile frame.

What is the moment (torque) of the couples ##C_i## of the electromagnetic forces in the rotation axis ##x\prime Ox## for the four proposed values ##\alpha_i = \{0, \frac{\pi}{3}, \frac{\pi}{2}, \pi\}##?
Homework Equations: ##\mathbf{F} = i \boldsymbol{\ell} \times \mathbf{B}##
##F = i \ell B \sin(\alpha)##

View attachment 250431

We first determine the Laplace force for each value ##\alpha##.

$$F_{\alpha} = 5(0.3)(0.4)\sin(\alpha) = 0.6\sin(\alpha) \ \text{N}$$

We then calculate the torque at angle ##\alpha##.

$$\tau_{\alpha} = \frac{a}{2} F_{\alpha} = 2.5 F_{\alpha} \ \text{N.m}$$
Could you explain where that "2.5" came from? Isn't [itex]a = 0.3 \ \mathrm{m}[/itex] here?

Then we just plug in ##\alpha## and we should three different values (since ##\sin(0) = \sin(\pi) = 0##). But I don't understand why the numbers of spires/coils is noted here, I have the notion that the strength of the electomagnetic field is proportional to the number of coils but we haven't reached that point in class, yet. The teacher I have is very poor when it comes to correcting questions, let alone explain them. Can anyone help me understand?

The number of turns in the coil do affect the forces, and thus the overall torque. For example, if you had two current carrying wires right next to each other, together they would (together) produce twice the force of a single current carrying wire, all else the same (same current in the each, single wire; same magnetic field, etc.) Each section of wire contributes its own force.

Also, if you are meant to calculate the total torque, don't forget that not only do you have [itex]N[/itex] current carrying wires on one side, but also another [itex]N[/itex] current carrying wires on the other side of the frame (carrying current in the opposite direction).

---------------------
A couple of other thoughts:

I'm not familiar with the use of the word "spire" in this situation. I'm assuming you mean "loop" or "turn" of the wire in a coil. But that's an assumption on my part. If I'm incorrect here, I apologize. It might be a translation thing.

Also, I'm not quite sure how to interpret the meaning of "Couples [itex]C_i[/itex]." Does that represent a single section of wire of length [itex]a[/itex], or instead a single loop of wire?

Also, I'm not quite sure how to interpret the "rotation axis [itex]x'Ox.[/itex]" I assume that means the axis of rotation goes through the center of the loop, parallel to the plane of the loop.
 
collinsmark said:
Could you explain where that "2.5" came from? Isn't [itex]a = 0.3 \ \mathrm{m}[/itex] here?
The number of turns in the coil do affect the forces, and thus the overall torque. For example, if you had two current carrying wires right next to each other, together they would (together) produce twice the force of a single current carrying wire, all else the same (same current in the each, single wire; same magnetic field, etc.) Each section of wire contributes its own force.

Also, if you are meant to calculate the total torque, don't forget that not only do you have [itex]N[/itex] current carrying wires on one side, but also another [itex]N[/itex] current carrying wires on the other side of the frame (carrying current in the opposite direction).

---------------------
A couple of other thoughts:

I'm not familiar with the use of the word "spire" in this situation. I'm assuming you mean "loop" or "turn" of the wire in a coil. But that's an assumption on my part. If I'm incorrect here, I apologize. It might be a translation thing.

Also, I'm not quite sure how to interpret the meaning of "Couples [itex]C_i[/itex]." Does that represent a single section of wire of length [itex]a[/itex], or instead a single loop of wire?

Also, I'm not quite sure how to interpret the "rotation axis [itex]x'Ox.[/itex]" I assume that means the axis of rotation goes through the center of the loop, parallel to the plane of the loop.
My apologies it's ##\frac{0.3}{2}=0.15 \ \text{m}##.
 

Similar threads

Replies
46
Views
7K
Replies
1
Views
1K
  • · Replies 14 ·
Replies
14
Views
4K
Replies
15
Views
2K
  • · Replies 5 ·
Replies
5
Views
2K
  • · Replies 7 ·
Replies
7
Views
5K
  • · Replies 16 ·
Replies
16
Views
3K
  • · Replies 30 ·
2
Replies
30
Views
4K
  • · Replies 4 ·
Replies
4
Views
3K
  • · Replies 6 ·
Replies
6
Views
3K