Constrained Plane of Motion Problem

  • Thread starter Thread starter RoyalFlush100
  • Start date Start date
  • Tags Tags
    Motion Plane
Click For Summary

Homework Help Overview

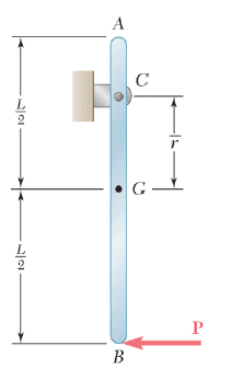
The problem involves a uniform slender rod suspended from a hinge, with a horizontal force applied at one end. The objective is to determine the distance at which the horizontal component of the reaction at the hinge is zero. The discussion revolves around concepts of angular acceleration, forces, and torques in the context of rigid body dynamics.

Discussion Character

  • Exploratory, Conceptual clarification, Mathematical reasoning

Approaches and Questions Raised

  • Participants discuss the relationship between angular acceleration and linear acceleration, questioning how to relate forces to these accelerations. There are attempts to derive equations involving torque and moment of inertia, as well as discussions about the direction of accelerations.

Discussion Status

Participants are actively engaging with the problem, exploring various equations and relationships. Some guidance has been offered regarding the need to select a reference axis for torque calculations, and there is an ongoing examination of the moment of inertia. Multiple interpretations of the setup are being considered, with no explicit consensus reached yet.

Contextual Notes

There are uncertainties regarding the correct application of formulas for torque and moment of inertia, as well as the implications of the assumptions made about accelerations. Participants are also navigating the constraints of the problem setup and the physical meanings of the variables involved.

RoyalFlush100
Messages
56
Reaction score
2

Homework Statement


A uniform slender rod of length L = 1180 mm and mass m = 5.4 kg is suspended from a hinge at C. A horizontal force P of magnitude 75 N is applied at end B.

Determine the distance
13252705286110469&Q_13252705286110469_rnd=1%3D7%3B1%284%29%3D71%3B1%281%29%3D1180%3B1%282%29%3D5.gif
for which the horizontal component of the reaction at C is zero.

I have attached the image below.

Homework Equations


M = Iα

The Attempt at a Solution


FBD:
W = mg = (5.4)(9.81) = 52.974 downwards, at G
Cy at C
75 N left, at B (already on the diagram)
Angular Acceleration at B?
Angular Velocity at B?

I'm kind of stuck at the setup and don't really know how to proceed beyond this.
 

Attachments

  • Q2.png
    Q2.png
    3.3 KB · Views: 509
Physics news on Phys.org
RoyalFlush100 said:
Angular Velocity at B?
The question is only concerned with the instantaneous circumstance, so there is as yet no velocity at B.
The will be accelerations. If the angular acceleration is α, what will be the linear acceleration of the mass centre?
What equations can you write relating forces to accelerations and torques to angular accelerations?
 
haruspex said:
The question is only concerned with the instantaneous circumstance, so there is as yet no velocity at B.
The will be accelerations. If the angular acceleration is α, what will be the linear acceleration of the mass centre?
What equations can you write relating forces to accelerations and torques to angular accelerations?
-Since there is no angular velocity the normal acceleration will be equal to 0.
-Likewise, the tangential acceleration will be equal to the product of r and α. However, I am unsure of the direction it will move in.
-Also since that is the total net force, ma = mrα = summation of all forces.
-Also, the torque will equal Iα + mad (the perpendicular d).

So I'm assuming I solve for I, which I think would be equal to (1/12)mL^2 = (1/12)(5.4 kg)(1.180 m)^2 = 0.531 kg*m^2. And that would act at the bar's center.
For the net force, I'm assuming I use this to solve for alpha (in terms of r). Also, I assume the tangental acceleration will be completely to the left, in which case:
mrα = P --> α = P/m/r = (75)/(5.4)/r = 13.889/r.

However, I'm not sure what else I can do from here. Was my assumption about the direction of the acceleration wrong? Was my inertia calculation wrong?
 
RoyalFlush100 said:
the normal acceleration will be equal to 0.
I guess you mean the radial acceleration.
RoyalFlush100 said:
the tangential acceleration will be equal to the product of r and α.
That will be the linear acceleration of the rod's mass centre, yes.
RoyalFlush100 said:
mrα = P
Correct.

Not sure what you meant by your discussion of torque. For angular accelerations and torques you need to pick a reference axis. It can be any stationary point or the mass centre. If we take the pivot as reference, what is the torque from P about that? What is the moment of inertia of the rod about that? What equation does that give you?
 
haruspex said:
For angular accelerations and torques you need to pick a reference axis. It can be any stationary point or the mass centre. If we take the pivot as reference, what is the torque from P about that? What is the moment of inertia of the rod about that? What equation does that give you?
Okay so if I understand correctly, we need to sum the torques at C, to solve for r. So now two formulas:
mrα = P --> α = P/(mr)
τ = Iα + mar = (IP)/(mr) + P = (r+L/2)P
Is this setup correctly? Also, I'm unsure about how to calculate the moment of inertia. Is it simply (1/12)mr^2?
 
RoyalFlush100 said:
Iα + mar = (IP)/(mr) + P
P=mrα, not mra.
RoyalFlush100 said:
moment of inertia. Is it simply (1/12)mr^2?
Yes.
 
haruspex said:
P=mrα, not mra.

Okay so in that case:
Iα + mar = (r+L/2)P
(1/12)(mr^2)α + mar = rP + PL/2
a = rα
(1/12)(mr^2)α + mαr^2 = rP + PL/2
α = P/(mr)
(1/12)(mr^2)P/(mr) + mPr^2/(mr) = rP + PL/2
(1/12)rP + rP = rP + PL/2
(1/12)r = L/2
r = 6L

Obviously that's not possible, so what did I mess up?
 
RoyalFlush100 said:
Is it simply (1/12)mr^2?
Sorry, I did not check that properly. You do not mean r there. What should it be?
 
  • #10
haruspex said:
Sorry, I did not check that properly. You do not mean r there. What should it be?
Got it, thanks!
 

Similar threads

  • · Replies 11 ·
Replies
11
Views
2K
Replies
38
Views
4K
  • · Replies 10 ·
Replies
10
Views
3K
  • · Replies 42 ·
2
Replies
42
Views
4K
  • · Replies 1 ·
Replies
1
Views
2K
  • · Replies 7 ·
Replies
7
Views
2K
  • · Replies 27 ·
Replies
27
Views
4K
  • · Replies 81 ·
3
Replies
81
Views
8K
Replies
4
Views
2K
  • · Replies 68 ·
3
Replies
68
Views
14K