Effect of placing twisted wire in a Stainless tube

  • Thread starter Thread starter Planobilly
  • Start date Start date
  • Tags Tags
    Tube Wire
Click For Summary

Discussion Overview

The discussion revolves around the potential effects of placing twisted insulated copper wire within a stainless steel tube to reduce magnetic field interference in a tube guitar amplifier circuit. Participants explore various methods of minimizing hum and electromagnetic interference (EMI) in audio applications, particularly focusing on the use of twisted pair wiring and shielding techniques.

Discussion Character

  • Exploratory
  • Technical explanation
  • Debate/contested
  • Conceptual clarification

Main Points Raised

  • Some participants suggest that twisted pair cables are effective for canceling electromagnetic interference from external sources, questioning the need for a Gaussmeter.
  • Others propose that using shielded twisted pair wire might be a better solution for reducing EMI.
  • One participant emphasizes the importance of grounding methods in relation to hum in tube guitar amplifiers, noting that the twisted wire should not generate significant magnetic fields.
  • Another participant discusses the limitations of stainless steel as a magnetic shield compared to other materials like mu-metal, indicating that while 400 series stainless is somewhat ferromagnetic, it is not as effective as other options.
  • There is mention of various methods to control hum, including the routing of heater wires and the use of DC instead of AC for heater power to minimize coupling with preamp components.
  • Participants express a desire to understand the complexities of grounding and wiring in guitar amplifiers, noting that improper grounding can lead to noise issues.
  • One participant shares personal experiences with amplifier design and noise, indicating a commitment to learning and improving their understanding of these issues.

Areas of Agreement / Disagreement

Participants do not reach a consensus on the effectiveness of using a stainless steel tube for magnetic shielding, and multiple competing views on the best methods for reducing hum and EMI remain present throughout the discussion.

Contextual Notes

Participants express uncertainty regarding the specific conditions under which the proposed solutions would be effective, including the types of materials used and the grounding methods employed. The discussion also highlights the complexity of audio circuit design and the potential for conflicting information in existing literature.

Who May Find This Useful

Individuals interested in audio engineering, particularly those working with tube guitar amplifiers, may find this discussion relevant. It may also benefit those exploring electromagnetic interference and grounding techniques in electronic circuit design.

  • #31
Since this is a troubleshooting thread i'll risk an off topic post
<<<< BORING ANECDOTE ALERT >>>>
Laptop power connection got increasingly flakey over past few days. Got so i had to hold it continuously. A few years ago fixed several HP's with same symptom.
It's always the cord right at end where it gets flexed and yanked ... always.
Except on this Asusz.
Right inside of power receptacle
the stout center pin, probably 0.060 " diameter had a crack clear through maybe .005" inch from big end.
Of course it's on bottom of motherboard, last part to come out.

Bridged it with solder and braid and a 3.5X magnifying glasses...
...had only three screws left over
but now headphone jack sound not there, so guess i get to take it apart again in the morning.Made me think of this thread and Planobilly's amplifiers
I sure miss tubes.
 
Engineering news on Phys.org
  • #32
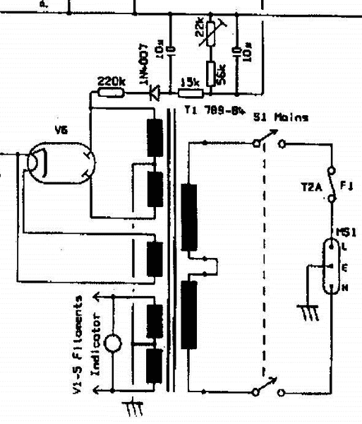
There is are two concerns I see.
1) The line power input fuse needs to be in the 'L' or hot side of the power line, before the On-Off switch. Real safety hazard where it is on the Neutral!
2) The fuse for the plate voltage (B+) is a similar situation, although perhaps not as severe. Consider moving it to V6 Cathode, but keep the V6 Heater connections direct to the tube socket.

I'm a bit curious about the grid bias on the output tubes. The resistor values are hard to read but it seems that the grid bias is 25% of the plate voltage.
 
  • #33
Tom.G said:
I'm a bit curious about the grid bias on the output tubes. The resistor values are hard to read but it seems that the grid bias is 25% of the plate voltage.
The circuit that generates the output stage grid bias is actually a half-wave rectifier generating a negative voltage. Notice the orientation of the rectifier diode. The 120k drops some voltage and limits current through the diode on negative cycles. In the photo that circuit is at the RH end of the component board.

There appears to have been a trim pot added to adjust that bias voltage. It fits with the addition of the two current measuring resistors.
 
  • #34
Thanks Baluncore.
Sorry if I was unclear on that. My question was intended to ask how come the grid bias is so high. The resistor values in the bias circuit appear to be a divider with high side series 120k+15k=135k and low side 56k. This gives a ratio of 56/191 or -0.29 of the B+ voltage. If B+ is 250V then the grid bias is -72.5V, which seemed rather high.
 
  • #35
@Jim , the complexity of a laptop is measured or is directly proportional to the amount of screws left behind a repair of that laptop...:D
I have done it myself and even when I have promised myself to do a careful repair I always leave some behind.
 
  • Like
Likes   Reactions: jim hardy
  • #36
Tom.G said:
This gives a ratio of 56/191 or -0.29 of the B+ voltage. If B+ is 250V then the grid bias is -72.5V, which seemed rather high.
The 120k has a low duty cycle, it is effective only while the diode is conducting.
A duty cycle of 25% changes it's effective value in the divider to 120k * 4 = 480k.

Because of the series 120k, the diode current follows the negative sinewave rather than holding the peak negative AC in the capacitor.
 
  • #37
I could not resist simulating that bias circuit. Input 100 Vrms, 141.24 Vpk. Output settles to -16.9V.
Push-Pull grid bias.png
 
  • #38
Hi guys,

A little background may be in order. I received this amp from someone who had tried to build it. The solder connections were so bad I had to take everything apart and start over. It was a real mess. I removed a ton of solder and did my best to clean things up. The owner had damaged the power transformer which is on order now. There were components of the wrong value placed in the wrong place.

So...here I am with an amp with a set of build instructions. Paint by numbers as it were. The schematic did not match the build instructions in all cases. I had no idea if the designer knew what he was doing or not. The photos in the build instructions were not clear in some cases. I decided to put it together based on the build instructions first and then go back and fix what ever was wrong. I was aware of the line fuse issue and will change it.

This is a classic example of so call kits being sold to people who have zero skills and are in serious danger of killing themselves. The owner told me he had shocked himself two or three times messing with the amp. It is a wonder he did not harm himself or worse.

The photos and schematic you are looking at are from the instructions created by the designer/seller. These are the photos and instructions someone is supposed to used to put the amp together. Obvious failures!

It is not my intent to completely redesign this amp only to return it to the owner in a safe condition...hopefully working...lol. It was apparent to me from the start that there were probable issues with the grounding and one of the reasons I started this thread asking questions about grounding methods in general as this is nothing new having to deal with poor design.

There are obvious dangerous failures in the instructions and photos based on the fuse being on the neutral and not the hot wire from the mains for example. It is bad enough for someone like me to have to deal with dangerous design but it is unconscionable to sell this sort of stuff to the general public.

I did not start this thread for the specific purpose of repairing this amp but to use it as an example of issues I am often faced with. The issue of "noise" is one of the most frequent sometimes hard to track down problems I have to deal with.

I have no idea how closely this amp matches the original Marshall "plexi" amp that was produced for two years in the early 1960's or what issues the original had. The original schematics I have seen are hand drawn and almost unreadable. Also I have not had the occasion to work on one of the originals.

Thanks to all for pointing out issues you see.

Cheers,

Billy
 
  • #39
Just a note about the B+ voltages. The high AC voltage secondary of the transformer center tap to one side is around 350 VAC. I expect to see a plate voltage of around 400 VDC on the KT66 plates and a little less than 300VDC on V2 pin six. The rest of the plate voltages should run between say 160VDC to 210VDC as a rough guess.

There was a made in China 5AR4 in the amp and I will replace it with a JJ GZ34 which I trust more to produce the correct voltage. The failed power transformer was a Magnetic Components 40-18033 which I am replacing with a 1202-55 made by Merren, who is someone I trust and slightly less costly than Mercury Magnetics who also make really good transformers but a bit pricey.
 
  • #40
Baluncore said:
I could not resist simulating that bias circuit. Input 100 Vrms, 141.24 Vpk. Output settles to -16.9V.
Thanks, that clears up a lot.
Planobilly said:
...the transformer center tap to one side is around 350 VAC...
Combining the simulation results with the transformer voltage reading still had me wondering about the -59V grid bias. It turns out the KT66 tubes in ultra-linear configuration with 525V on the plates need -67V on the grids; followed by a footnote of: "A negative bias range of +-25% of this value should be available for each valve." So the -59V may be reasonable after all. Guess we'll have to wait and see if this is another design gotcha.
 
  • #41
Tom.G said:
Combining the simulation results with the transformer voltage reading still had me wondering about the -59V grid bias.
Notice that the bias resistor in series with the diode on the diagram is probably marked as 120k, but could be read as 180k.
The photo of the circuit board shows that a 220k resistor was actually used.
 
  • #42
There are better and later diagrams with fuse, switch and bias changes shown.

Given 375Vrms either side of the centre tap we get peak negative transformer voltage of 530V. Using this circuit with 220k and the pot adjustment, the bias it can be set from -36.9V to -49.5V. That assumes no G1 grid current flows.
jtm45ri-schm1.png
 
Last edited:
  • #43
Hi Tom,
I will have the new transformer in a few days. At that point I will have a real amp to see how it is working

The original transformer was failing when I got the amp so the voltage readings were not something I could trust. What the actual cause of the failure was is unknown to me. I don't know what the owner did and the transformer could have been bad from the MFG to start with.

Having said that the few quick measurements I was able to make before it failed completely indicated a plate voltage of around 450V. If in fact the plate voltage is around 450V I would set the bias at around 42mA which is about 70% of maximum plate dissipation for a KT66. If the voltage is lower, 400V for example, the plate current needs to be around 47mA.

In general tubes of new manufacture do not exhibit the same exact characteristics one would find in data sheets from "back in the day".

There are several "unknown" issues related to the tubes. The rectifier tube in the amp is a 5AR4 made in China by Shuguang and I have no experience with that tube. Shuguang has been making tubes from the late 1950's and is said to have made major improvements to quality in the last few years but I have no direct experience to confirm that.
The KT66 tubes that came with the amp were made in China with no indication who the maker is. I also don't know how well matched the current made in China KT66 tubes are. I don't keep KT66 tubes in stock as they are not common in amps in today's world or at least in amps I run across. I don't stock or use any made in China tubes except those provided by the owner.

One other ugly possibility is that the out put transformer could have been damaged by the owner. The choke looks like it is OK based on resistance measurements I have made. The data sheet for the out put transformer does not give nominal resistance values.

Cheers,

Billy
 
  • #44
Hi Bauncore,

I install in the actual amp the component values indicated in the schematic you posted with the exception of the primary side wiring. There is a pilot light, mains switch, and fuse which I had in mind to rewire like the schematic you posted.

I am not sure what the exact RMS voltage of the new transformer will be until it arrives. A quick measurement of the old one measured 367VRMS before it failed.

Thanks for all the help digging into all this.

Cheers,

Billy
 
  • #45
Planobilly said:
Consider 12 inches of 22 g twisted insulated copper wire with a 1 amp AC current at 6.2 volts.
The idea is to reduce the magnetic field effect on near by components.

Would placing this wire in a stainless steel tube reduce the magnetic field?

Can this be proven with a Gaussmeter? Note: I see Gaussmeters for sale in the one to two hundred dollar range but have no experience using them. Link http://www.always-review.com/searcher/gaussmeter

Thanks,

Billy
A gaussmeter connected to a coil of wire may be able to detect a magnetic field, but I would use an AC voltmeter instead. You would have a range switch to choose the sensitivity, and one can be purchased for far less than $200.
 
  • #46
Baluncore said:
If you use thermionic tubes with an AC filament supply you can expect to get hum from the filament asymmetry within the cathode. Half a century ago there were circuits, I think they were called “hum-buckers”, that removed hum from amplifiers. One was a wire-wound pot of about 1000 ohms across a floating filament winding on the transformer. The pot wiper was grounded. The pot was adjusted for minimum hum. More complex hum-buckers used a capacitor to produce a phase shift or quadrature cancellation.

An alternative would be to commit blasphemy by providing a DC 6.3V filament supply from a switching converter.
Hum balance pots were common on better quality tube ampifiers. A common problem with tubes is an intermittent heater to cathode short. This will change the hum pot setting. Rapping gently on each tube may help to detect the short, and may actually fix it for awhile.
 

Similar threads

Replies
5
Views
2K
  • · Replies 8 ·
Replies
8
Views
2K
Replies
8
Views
3K
  • · Replies 22 ·
Replies
22
Views
4K
  • · Replies 4 ·
Replies
4
Views
6K
  • · Replies 5 ·
Replies
5
Views
1K
  • · Replies 5 ·
Replies
5
Views
3K
  • · Replies 9 ·
Replies
9
Views
4K
  • · Replies 1 ·
Replies
1
Views
2K
  • · Replies 32 ·
2
Replies
32
Views
7K