Electronics - Op-amps: when will the LED light up

Click For Summary

Homework Help Overview

The discussion revolves around an op-amp circuit involving comparators and LED indicators. Participants are tasked with determining the input voltage (Vin1) required for a green LED to light up, given that the LED activates at 1.4 V. The circuit features two comparators powered by a dual voltage supply of ±15 V.

Discussion Character

  • Exploratory, Assumption checking, Conceptual clarification

Approaches and Questions Raised

  • Participants explore the relationship between the input voltages and the outputs of the comparators, questioning how Vin1 influences the LED activation. Some discuss the voltage divider effect of the resistors and the implications of tying the inputs together. Others express confusion about the significance of Vin1 in relation to the LED lighting up.

Discussion Status

The discussion is ongoing, with various interpretations of the circuit's behavior being explored. Some participants have provided insights into the voltage at the comparator inputs and the effects of different input voltages. There is no explicit consensus yet, but several productive lines of reasoning have been presented.

Contextual Notes

Participants note that the circuit lacks feedback, which influences the output states of the comparators. There are also discussions about the assumptions regarding the grounding of the power supply and the voltage levels across the resistors, which are critical to understanding the circuit's operation.

Femme_physics
Gold Member
Messages
2,548
Reaction score
1

Homework Statement



http://img193.imageshack.us/img193/6627/circuitg.jpg

So I got this circuity thingy and I'm told that each LEDs only lights up at 1.4 V. I am asked what should be the vaue of Vin1 where the green LED lights up.

Now, I see I have 2 comparators here. Each one is 15 volts Vcc (either -15 or +15). So, why does the value of Vin1 matter? I just see what's bigger, V+ or V-, and I anyway get 15 volts, so no matter what the LED will light up.
 
Last edited by a moderator:
Physics news on Phys.org
Notice that the inputs of the comparators are different for the two devices.

Also, the 3 series resistors in the circuit have 30 volts across them so how much voltage is at the inputs of each of the comparators?

What would happen if you tied the two inputs together and increased the input voltage from -15 volts to +15 volts?
 
Also, the 3 series resistors in the circuit have 30 volts across them so how much voltage is at the inputs of each of the comparators?

What makes you say that?

What would happen if you tied the two inputs together and increased the input voltage from -15 volts to +15 volts?

It doesn't matter whether it's plus or minus, voltage is just the difference in potential, if I know my stuff correctly. So, what matters is the number.
 
Hello for 2012
These op amps have no feedback so the output must be +15 or -15 (I am discounting that V at the +/- inputs may be EXACTLY equal!)
The output depends on which is greater V at the -input or V at the +input
 
Hello for 2012
These op amps have no feedback so the output must be +15 or -15 (I am discounting that V at the +/- inputs may be EXACTLY equal!)
The output depends on which is greater V at the -input or V at the +input

I know, but they don't ask for Vout, they ask a very weird question - "the range of voltage value of Vin1 where the green LED (the upper one) lights up". And we need to explain our solution. The way I see it, it lights out no matter what because it gets either 15 volt or -15 volts. Regatdless, it's more than enough.
 
Can you see what the voltage is at the - input of the top op amp?(VK6 has given a clue)
Then you need to look at what the effect of different voltages on the + input will have on the output.
You are correct to identify these op amps as 'comparators'
 
Last edited:
Can you see what the voltage is at the - input of the top op amp?(VK6 has given a clue)

Yes, voltage divider!

http://img17.imageshack.us/img17/5968/image201201010016.jpg

Then you need to look at what the effect of different voltages on the + input will have on the output.
You are correct to identify these op amps as 'comparators'

Well, if Vin1 is more than 7.5V than the voltage is -15V

If Vin1 is less than 7.5V than the voltage is +15V
 
Last edited by a moderator:
Femme_physics said:
What makes you say that?
It doesn't matter whether it's plus or minus, voltage is just the difference in potential, if I know my stuff correctly. So, what matters is the number.
The LED will only light if the output of the comparator is positive by more than 1.4 volts.

Each resistor drops 10 volts, so, relative to the - 15 volt supply, what is the voltage due to the series resistors at the two comparators?

This is the homework section, so we can't just do it for you, however this is a well known circuit and you are missing the point of it.

That voltage divider calculation is not correct. You have 3 resistors with 30 volts across them.
 
Your potential divider calculation is not correct. 3 equal resistors in series across 30V
 
  • #10
Femme_physics said:
Yes, voltage divider!

http://img17.imageshack.us/img17/5968/image201201010016.jpg
Well, if Vin1 is more than 7.5V than the voltage is -15V

If Vin1 is less than 7.5V than the voltage is +15V

As others have said, the voltage divider calculation is incorrect. 3 equal resistors, a total of 30V (+15V -(-15V)). And the top of the bridge is at +15V while the bottom is at -15V. After figuring out the drop per resistor (hint, they're all equal since the resistances are equal), you need to do the signed addition of voltages here to find the actual voltage at each point. Keep everything with reference to the ground voltage (0), which is not actually shown here. So you can have positive and negative voltages.

In simpler voltage bridge problems, the top is at +V, and the bottom is at ground (0), with just 2 resistors. So what you did would be appropriate there. This is a more complicated case, but luckily all 3 of the resistances are equal making it easy.
 
Last edited by a moderator:
  • #11
First it should be noted that no connection between ground and the power supply is shown so technically the power supply is floating and the LEDs would never light. However since that is too simple of an answer we will assume the power supply is grounded at halfway between the two supply voltages and the power supply voltages are relative to ground, not each other. This means the difference between the two supplies must be (+15 - 0) - (-15 - 0) = 30 volts.

Now with three equal resistances between +15V and -15V what must be the voltage across each resistor be? What will be the voltage at the junction of R1 & R2 relative to ground? (In other words, subtract the voltage across R1 from +15V.) Likewise at the junction of R2 & R3?
 
  • #13
You have got it
 
  • #14
Now this is no longer homework, you might like to know that this is a "window" circuit.

If you tie the two inputs together, the bottom LED will light if the input voltage is less than -5 volts and the top LED will light if the input voltage is greater than +5 volts.

This just depends on the ratio of the series resistors, so you could set this up to give you warning messages or turn on alarms.

If you were running a camping light off your car battery, you could sound a warning if the voltage was getting too low to start your car.

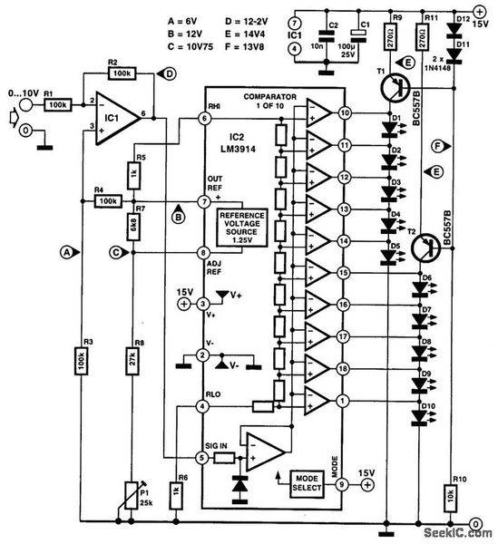
Notice the similarity between your circuit and this one, which shows the insides of a LM3914 chip.
200971341723454.gif


This chip drives up to 10 LEDs depending on the input voltage, but it works the same way as your circuit.
 

Similar threads

  • · Replies 9 ·
Replies
9
Views
2K
  • · Replies 3 ·
Replies
3
Views
2K
  • · Replies 40 ·
2
Replies
40
Views
5K
  • · Replies 14 ·
Replies
14
Views
3K
  • · Replies 89 ·
3
Replies
89
Views
12K
  • · Replies 10 ·
Replies
10
Views
4K
  • · Replies 3 ·
Replies
3
Views
3K
  • · Replies 2 ·
Replies
2
Views
2K
  • · Replies 2 ·
Replies
2
Views
2K
  • · Replies 9 ·
Replies
9
Views
3K