Finding Analagous Electric Circuit for Mass Spring Damper System Homework

Click For Summary

Discussion Overview

The discussion revolves around finding the analogous electrical circuit for a mass spring damper system as part of a homework assignment. Participants explore the relationship between mechanical systems and electrical circuits, focusing on the equations of motion and their implications.

Discussion Character

  • Homework-related
  • Technical explanation
  • Conceptual clarification
  • Debate/contested

Main Points Raised

  • One participant presents equations of motion for a mass spring damper system and seeks validation of their work.
  • Another participant suggests that it is possible to draw an analogous electrical circuit without writing differential equations, indicating an alternative approach.
  • The original poster expresses a desire to understand the equations of motion for more complex systems despite the alternative approach suggested.
  • Participants discuss the choice of paradigms for the electrical analogy, noting that forces can correspond to either voltage or current, affecting how masses are represented in the circuit.
  • Concerns are raised about the omission of gravitational forces in the equations, with one participant noting that their textbook does not account for gravity directly.
  • A substitution method is mentioned as a way to simplify the math, with a later reply acknowledging the need to consider equilibrium positions in real-world applications.

Areas of Agreement / Disagreement

Participants express differing views on the necessity of writing equations of motion versus drawing an analogous circuit directly. There is no consensus on the treatment of gravitational forces within the equations presented, and the discussion remains unresolved regarding the best approach to take.

Contextual Notes

Participants note the potential simplification of the model through substitutions, but the implications of these choices on real-world applications and accuracy remain unaddressed.

STEMucator
Homework Helper
Messages
2,076
Reaction score
140

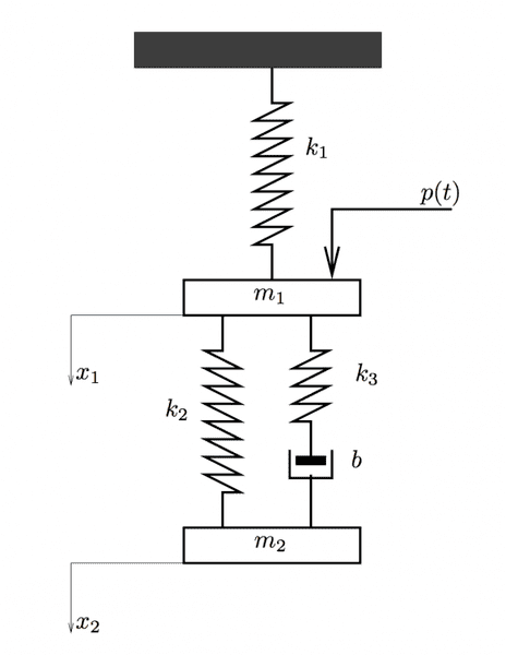
Homework Statement



Find the analogous electrical circuit for the following mass spring damper system.

Screen Shot 2015-11-19 at 7.47.55 PM.png


Homework Equations

The Attempt at a Solution



I am rusty with writing equations of motion. I wanted to see if someone could check my work.

Looking at the diagram, there are three equations to write. Also there should be a third displacement variable, call it ##x_3##, between ##k_3## and ##b##. Assume down is positive.

For mass ##m_1##:

$$m_1x'' = -k_1x_1 + k_2(x_2 - x_1) + k_3(x_3 - x_1) + b(x_2' - x_3') + p(t)$$

For mass ##m_2##:

$$m_2x'' = -k_2(x_2 - x_1) - b(x_2' - x_3') - k_3(x_3 - x_1)$$

At the node in between the damper and spring:

$$0 = -k_3(x_3 - x_1) + b(x_2' - x_3')$$

Do these look okay?
 
Physics news on Phys.org
You do realize that you can draw an analogous electrical circuit for the mechanical system without writing and solving the differential equations, right?
 
  • Like
Likes   Reactions: whitsona
gneill said:
You do realize that you can draw an analogous electrical circuit for the mechanical system without writing and solving the differential equations, right?

Yes this is possible, but I was hoping to understand how to write the equations of motion anyway. It would be nice to know how to write them for a more complicated system, so I would still like to know if I've done that properly.

I'll give your idea a try though. Here is my attempt:

724aff635db084cf0a586208cb8528bc.png


The battery on the far right corresponds to ##p(t)##.
 
Yes, your figure looks okay to me. You've chosen the Force ⇒ Voltage paradigm. You could also have used the Force ⇒ Current paradigm where masses become capacitors rather than inductors.

For your equations, at a glance they look fine except I don't see where you've accounted for gravity acting on the masses.
 
gneill said:
Yes, your figure looks okay to me. You've chosen the Force ⇒ Voltage paradigm. You could also have used the Force ⇒ Current paradigm where masses become capacitors rather than inductors.

Okay.

gneill said:
For your equations, at a glance they look fine except I don't see where you've accounted for gravity acting on the masses.

Yeah I find this weird because in my textbook they never seem to account for the force of gravity on a mass.

They compensate for this by making a substitution like so:

Screen Shot 2015-11-20 at 10.01.05 AM.png

Screen Shot 2015-11-20 at 10.01.13 AM.png
 
Ah, I see. Yes, that substitution works and makes the math simpler. Of course, to match the model's predicted position to a real-world position one would need to know the equilibrium position's offset in real-world coordinates.
 

Similar threads

Replies
4
Views
3K
  • · Replies 11 ·
Replies
11
Views
4K
  • · Replies 2 ·
Replies
2
Views
2K
Replies
5
Views
2K
Replies
5
Views
2K
Replies
3
Views
2K
Replies
2
Views
2K
Replies
9
Views
4K
  • · Replies 5 ·
Replies
5
Views
2K
  • · Replies 1 ·
Replies
1
Views
2K