How Does Pulley Friction Affect Block Acceleration?

Click For Summary
SUMMARY

The discussion focuses on the effects of pulley friction on the acceleration of two blocks, A and B, with weights of 10 lb and 4 lb, respectively. The coefficient of kinetic friction for block B is μ = 0.2. The calculated tensions and accelerations are T = 12 N, a_A = 45.08 ft/s², and a_B = -90.16 ft/s². The importance of consistent unit usage is emphasized, as mixing units can lead to incorrect results.

PREREQUISITES
  • Understanding of Newton's laws of motion
  • Familiarity with the concepts of tension and friction
  • Knowledge of kinematic equations
  • Ability to convert between units of measurement (e.g., ft/s to m/s)
NEXT STEPS
  • Study the principles of pulley systems in classical mechanics
  • Learn about the effects of friction on motion in physics
  • Explore unit conversion techniques for physics problems
  • Review kinematic equations and their applications in solving motion problems
USEFUL FOR

Students studying physics, particularly those focusing on mechanics, as well as educators looking for examples of pulley systems and friction effects in motion analysis.

unknown_2
Messages
28
Reaction score
0

Homework Statement


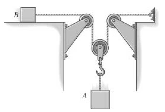
At a given instant block A of weight 10-lb is moving downward with speed 6 ft/s. Determine its speed at a later time t = 2s. Block B has a weight 4lb and the coefficient of kinetic friction between it and the horizontal plane is μ = 0.2. Neglect the mass of the pulleys and cord.

unknown.jpg


T = 3.385 [tex]a_{A}[/tex] = 10.403 [tex]ft/s^{2}[/tex] [tex]a_{B}[/tex] = - 20.806 [tex]ft/s^{2}[/tex]

not sure if these are correct seeing i get different answers.

Homework Equations



T - [tex]\mu_{k}w_{B}[/tex] = [tex]\frac{-w_{B}}{g}a_{B}[/tex]

2T - [tex]w_{A} = (\frac{-w_{A}}{g}) (-a_{A})[/tex]

[tex]2a_{A} + a_{B} = 0[/tex]

The Attempt at a Solution



since [tex]2a_{A} + a_{B} = 0[/tex] i'd solve for [tex]a_{A}[/tex] and [tex]a_{B}[/tex] in the first 2 equations and sub into the third one

[tex]2(\frac{2Tg}{w_{A}} - g) + (\frac{-Tg}{w_{B}} + \mu_{k}g)[/tex] = 0

then i solve for T

[tex]\frac{2g - \mu_{k}g}{g(\frac{4}{w_{A}} - \frac{1}{w_{B}})}[/tex] = T

T= 12N

then sub back into one of the first 2 equations to solve for either [tex]a_{A}[/tex] or [tex]a_{B}[/tex].

[tex]a_{B}[/tex] = -90.16[tex]ft/s^{2}[/tex]
[tex]a_{A}[/tex] = 45.08[tex]ft/s^{2}[/tex]

any help would b nice
cheers,
 
Last edited:
Physics news on Phys.org
ft/sec

lbs

m/s

m/s2

Unit potpourri is never a good recipe.
 
LowlyPion said:
ft/sec

lbs

m/s

m/s2

Unit potpourri is never a good recipe.
it was late...i changed the units, i was just used to [tex]m/s^{2}[/tex] from previous physics courses...
 

Similar threads

  • · Replies 33 ·
2
Replies
33
Views
2K
Replies
5
Views
1K
  • · Replies 4 ·
Replies
4
Views
2K
  • · Replies 9 ·
Replies
9
Views
4K
  • · Replies 26 ·
Replies
26
Views
4K
Replies
6
Views
2K
  • · Replies 40 ·
2
Replies
40
Views
5K
  • · Replies 9 ·
Replies
9
Views
1K
  • · Replies 23 ·
Replies
23
Views
3K