How much KE does the system start with?

  • Thread starter Thread starter Jared944
  • Start date Start date
  • Tags Tags
    Pulley
Click For Summary

Homework Help Overview

The problem involves a system of two boxes, one on a frictionless table and the other hanging off the edge, with the goal of determining the total kinetic energy (KE) just before the hanging box hits the ground. The masses of the boxes and the height from which the hanging box descends are provided.

Discussion Character

  • Exploratory, Conceptual clarification, Mathematical reasoning, Assumption checking

Approaches and Questions Raised

  • Participants discuss the application of conservation of energy principles and the relationship between the velocities of the two boxes. There are attempts to calculate tension and acceleration, with some questioning how to incorporate these values into the kinetic energy calculation.

Discussion Status

Participants are actively exploring the relationships between forces, acceleration, and energy in the system. Some have provided calculations for tension and acceleration, while others are questioning the definitions and assumptions related to kinetic energy and work done by internal forces.

Contextual Notes

There is a lack of clarity regarding the representation of certain variables, such as 'w', and the implications of using negative values in kinetic energy calculations. The discussion also highlights the importance of understanding gravitational acceleration as a positive value in energy calculations.

Jared944
Messages
10
Reaction score
0

Homework Statement



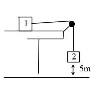
Two boxes are set up in a system as shown in the attached picture.

Box 1 - mass = 5 kg
Box 2 - mass = 2 kg

h = 5m

The system is released, and box 2 hits the ground. With a frictionless system, find the total KE before box 2 hits the ground.

Homework Equations



I am fairly sure I have to use the conservation of energy, which in this case would be:

(1/2)*m*vf^2=m*g*h

((1/2)*m*vf^2)-(m*g*h)=KE


The Attempt at a Solution



I don't quite understand how to go about this problem with the two box system. I can figure out the boxes force and acceleration, but not what I need.

Thanks,
 

Attachments

  • boxes.jpg
    boxes.jpg
    2.9 KB · Views: 492
Physics news on Phys.org
Unfortunately, the attachment doesn't seem to be approved yet. What exactly does 'h' represent?
 
Oh, ok.

Block 1 is sitting on a (frictionless) table attached to block 2 which is hanging off of the table. Both blocks are attached by a rope and a (frictionless) pully.

Before the system is released, block 2 is 5m from the ground (h = 5m)

Thanks for the obervation about the pic...
 
You were right when you said you have to use energy conservation. Since the block are connected with a rope, and since there is no friction, in what relation are the velocities of the blocks?
 
The velocities should be the same. However, I've calculated the acceleration and the Tension of the blocks in motion. The acceleration and T of block 2 can be illustrated as T-w2=m2(-a)
And Block 1 can be illustrated as 0+T=m1*a

The tension turnes out to be 14 N and the acceleration is 2.8 m/s^2

Im not sure how to use the data...
 
Last edited:
Jared944 said:
The velocities should be the same. However, I've calculated the acceleration and the Tension of the blocks in motion. The acceleration and T of block 2 can be illustrated as T-w2=m2(-a)
And Block 1 can be illustrated as 0+T=m1*a

The tension turnes out to be 7.35 N and the acceleration is 2.45 m/s^2

Im not sure how to use the data...

Do you need the acceleration and the tension? Think about how the kinetic energy of the system is defined.
 
So, KE = mgh + w
KE = 2*-9.8*5+14
KE = -84J? How can I reach a negative KE?
 
Jared944 said:
So, KE = mgh + w
KE = 2*-9.8*5+14
KE = -84J? How can I reach a negative KE?

What exactly is w?

Do you agree if we say that the total kinetic energy of the system equals 1/2 M v^2 + 1/2 m v^2 ?
 
of course... I was thinking w was the work done by the tension of the system.
 
  • #10
Jared944 said:
of course... I was thinking w was the work done by the tension of the system.
The tension is an internal force and does no net work on the system as a whole. If you were to analyze one mass by itself, then you would need to include the work done by the tension force.

Note also: When calculating changes in gravitational PE using [itex]mg\Delta h[/itex], g is just a positive number (g = 9.8 m/s^2, not -9.8 m/s^2). g is just the magnitude of the acceleration due to gravity.
 

Similar threads

  • · Replies 4 ·
Replies
4
Views
2K
  • · Replies 2 ·
Replies
2
Views
1K
Replies
11
Views
3K
  • · Replies 7 ·
Replies
7
Views
2K
  • · Replies 3 ·
Replies
3
Views
3K
  • · Replies 22 ·
Replies
22
Views
7K
  • · Replies 25 ·
Replies
25
Views
2K
  • · Replies 22 ·
Replies
22
Views
2K
  • · Replies 4 ·
Replies
4
Views
2K
  • · Replies 34 ·
2
Replies
34
Views
5K