Rotation of a rod fastened to a wire

  • Thread starter Thread starter roadrunner1994
  • Start date Start date
  • Tags Tags
    Rod Rotation Wire
Click For Summary

Homework Help Overview

The discussion revolves around the dynamics of a rod fastened to a wire, particularly focusing on the forces and torques acting on the rod as it begins to rotate under the influence of gravity. Participants explore concepts related to moment of inertia, angular velocity, and the application of the parallel axis theorem.

Discussion Character

  • Mixed

Approaches and Questions Raised

  • Participants discuss the calculation of the moment of inertia and its relevance to the problem. Questions arise regarding the correctness of the initial calculations and the assumptions made about forces acting on the rod. There is exploration of the relationship between forces and torques, as well as the implications of the wire's rigidity.

Discussion Status

The discussion is ongoing, with participants providing insights and questioning each other's reasoning. Some guidance has been offered regarding the moment of inertia and the setup of equations, but there is no explicit consensus on the correct approach or solution yet.

Contextual Notes

Participants note the constraints of the problem, such as the assumption that the wire cannot bend and the implications this has for the forces and torques involved. There is also mention of specific parts of the problem being addressed, indicating a structured approach to the discussion.

roadrunner1994
Messages
11
Reaction score
2
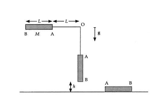
Homework Statement
A thin homogeneous rigid rod has length L and mass M.
One endpoint of the rod is fastened to a light, rigid steel wire, also of length L.
The other end of the wire is fastened to a horizontal axis O in the laboratory.
The system can turn in a vertical plane. The steel wire cannot bend, and its
mass can be ignored relative to M.
Initially the system is held at rest in a horizontal position. It is then set
free to move under the influence of gravity. The acceleration of-gravity is g.
Ignore air resistance.
(1) At the moment the system begins to move, i.e., while the rod is still
horizontal, the wire acts on the rod with a force F1 at the endpoint A.
Determine F1.
(2) At the moment when the rod is vertical, the wire acts on the rod with a
force F2. Determine F2.
(3) Assume now that the steel wire breaks at the moment when the rod is
vertical. The lower point B of the rod is then at some height h above the
laboratory floor. When the rod hits the floor is has turned so that it is
exactly parallel to the floor. Determine h.
Relevant Equations
-
Hi,
I started with calculating the moment of inetria of the rod:
I = ⅓ML^2 + M(3/2 * L)^2 = 31/12 ML^2
and I thought that the reaction force in the first case will be equal to centrifugal force:
F1 = Mω^2*(3/2)L
Angular velocity is calculated from the conservation of energy:
Mg3/2*L=1/2 * Iω^2

But this solution seems to be incorrect.
 

Attachments

  • problem 12.13.png
    problem 12.13.png
    6.4 KB · Views: 201
Physics news on Phys.org
roadrunner1994 said:
But this solution seems to be incorrect.
How do you know that ?

And: would that be for part (1), (2) or (3) ?

You write
in the first case
but at that point ##\omega## is still zero !
 
roadrunner1994 said:
I started with calculating the moment of inertia of the rod:
Not needed for part (1) :smile: !

And you make a mistake that I can't point out because you don't say how you are doing it.
 
roadrunner1994 said:
I = ⅓ML^2 + M(3/2 * L)^2
You appear to be applying the parallel axis theorem, but one of those two terms on the right is incorrect for that,
 
BvU said:
How do you know that ?

And: would that be for part (1), (2) or (3) ?
I got the result: F1=(54/31)Mg, and the correct answer is (1/28)Mg.
I'm trying to solve the 1)st part :smile:

haruspex said:
You appear to be applying the parallel axis theorem, but one of those two terms on the right is incorrect for that,
Yes, I wanted to apply parallel axis theorem. It seems that I should rather use (1/12)ML^2 instead of (1/3)ML^2. In part 2) it gives the result: F2 = Mg + F(3/2)Lω^2 = (41/14)Mg, which is correct :smile:.

But I'm still struggling with the 1) part.
 
roadrunner1994 said:
Initially the system is held at rest in a horizontal position. It is then set
free to move under the influence of gravity. The acceleration of-gravity is g.
Ignore air resistance.
(1) At the moment the system begins to move, i.e., while the rod is still
horizontal, the wire acts on the rod with a force F1 at the endpoint A.
Determine F1.

Relevant Equations:: --------
This does not mean that you think you can solve this without any equations, I hope :wink: ?
roadrunner1994 said:
But I'm still struggling with the 1) part.
Ok, that helps. You follow @haruspex and my advice to come up with a better moment of inertia [edit: I see you already did that! Kudos ! ], and try to set up the proper equations for what we shall call ##t=0##.

A free-body diagram might be extremely helpful .
 
I guess the center of mass will be affected by the force F=Matangential
atangential can be calculated from Iα=Mg(3/2)L
Therefore α=(9/14)g/L, and atangential=(27/28)g.

But both forces: Mg and Matangential should be pointed downward, so why shoud they be subtracted to obtain correct result?
 

Attachments

  • problem 12.13.png
    problem 12.13.png
    9.2 KB · Views: 211
1610029364440.png

Free body diagram of rod alone is within yellow marker line.
Free body diagram of rod+stiff wire is without all the vertical crud.

[edit] and without ##F_1## but with another force elsewhere ... :rolleyes:

(I should have been more specific ?)

What kinds of motion for the rod are going to happen with these forces acting ?
How are they interconnected ?
Equations, equations :wink:

roadrunner1994 said:
why should they be subtracted to obtain correct result
Because they point in opposite directions, perhaps ?

roadrunner1994 said:
##a_{\text{tangential}}\ ## can be calculated from ##I\alpha = {3\over 2} MgL##
Is that so ? All of a sudden ##F_1## is out of the game ?

Equations, equations :wink:
 
generally speaking the wire acts on the rod by means of a force and a torque
 
  • #10
The general is correct, generally speaking
 
  • #11
Yes and in particular one should prove that the torque is equal to zero. If it is so indeed. The force F1 is not obliged a priori to be directed vertically as well
 
  • #12
wrobel said:
The force F1 is not obliged a priori to be directed vertically as well
Not a priori, no. Generally speaking :wink:
But yes at ##t=0##
 
  • #13
BvU said:
But yes at
this must be verified
 
  • #14
Done.
Note that this is not my exercise, but roadrunner's ...
 
  • #15
Perhaps these remarks will be of some use for the topic starter
 
  • #16
luckily here we easily verify this by seeing that the centre of mass ##S## is constrained to move on a circle of radius ##r = 3L/2## with ##\dot{r} = 0##, so it's acceleration ##\mathbf{a}_S = r\ddot{\theta} \boldsymbol{e}_{\theta}(t) -mr {\dot{\theta}}^2 \boldsymbol{e}_r(t)##, where ##\theta## is the angle from the horizontal. so with ##\dot{\theta}(0) = 0##, the ##\mathbf{a}_S(0) = r\ddot{\theta} \boldsymbol{e}_{\theta}(0) = g\boldsymbol{e}_{\theta}(0) + \frac{1}{m} \mathbf{F}(0)## implies ##\mathbf{F}(0) \parallel \boldsymbol{e}_{\theta}(0)##
 
  • #17
wrobel said:
generally speaking the wire acts on the rod by means of a force and a torque
It is unclear. We are told the wire cannot bend, but not whether its joint with the rod can flex.
 
  • #18
Post #5 tells us
 
  • #19
BvU said:
Post #5 tells us
Does it? It implies that when the rod is vertical the wire is also vertical. Can that only be the case if the joint is rigid?
 
  • #20
@haruspex I presumed that the rod and the wire form a single rigid body; or in other words, that the wire is welded to the rod and can exert both an axial and shear component of force on the rod, and the shear component has to be non-zero whenever the rod's angular momentum about its centre of mass is changing.
 
  • #21
etotheipi said:
@haruspex I presumed that the rod and the wire form a single rigid body; or in other words, that the wire is welded to the rod and can exert both an axial and shear component of force on the rod, and the shear component has to be non-zero whenever the rod's angular momentum about its centre of mass is changing.
Yes, I agree that is probably what is intended. But.. why does the question only ask about forces, not torques?
 
  • Like
Likes   Reactions: etotheipi
  • #22
haruspex said:
Does it?
roadrunner1994 said:
the correct answer is (1/28)Mg.
 
  • #23
OK, I thought you were referencing the second part of post #5,
 
  • #24
haruspex said:
It is unclear. We are told the wire cannot bend,
Exactly! The wire is rigid and it is rigidly connected with the rod. . It is the cause why the wire can rotate the rod and thus the wire can apply a torque to the rod.
You can take the wire in your hand and rotate the rod by means the wire
 
Last edited:
  • #25
wrobel said:
Exactly! The wire is rigid and it is rigidly connected with the rod. . It is the cause why the wire can rotate the rod and thus the wire can apply a torque to the rod.
You can take the wire in your hand and rotate the rod by means the wire
"The wire cannot bend" is different from "the connection between the wire and the rod cannot bend". But the intent is made clear by the textbook answer to q1, as @BvU notes.
 
  • Like
Likes   Reactions: wrobel

Similar threads

Replies
10
Views
3K
  • · Replies 13 ·
Replies
13
Views
2K
Replies
2
Views
2K
  • · Replies 10 ·
Replies
10
Views
4K
Replies
1
Views
2K
  • · Replies 11 ·
Replies
11
Views
2K
  • · Replies 95 ·
4
Replies
95
Views
7K
Replies
4
Views
2K
  • · Replies 12 ·
Replies
12
Views
3K