Electronic Torque Managment in an EV

Click For Summary

Discussion Overview

The discussion centers on the implementation of electronic torque management in an all-wheel drive (AWD) electric vehicle (EV) prototype, specifically focusing on the torque splitting process and the challenges associated with dual motor configurations. Participants explore theoretical and practical aspects of torque distribution, motor control, and vehicle dynamics.

Discussion Character

  • Exploratory
  • Technical explanation
  • Debate/contested
  • Mathematical reasoning

Main Points Raised

  • One participant inquires about the typical implementation of AWD in EVs with dual motors and seeks reference materials on torque management systems.
  • Another participant suggests creating an outer control loop for managing total vehicle speed and an inner loop for torque distribution based on the difference in wheel speeds.
  • Questions arise regarding the rationale behind not maintaining equal torque on both axles, with one participant referencing potential stress and safety concerns from an automotive engineer.
  • Participants discuss the importance of tire-road friction and propose that torque distribution should reflect the available friction force to maximize grip across all tires.
  • There is a suggestion to build an adjustable electronic device for tuning torque distribution, with emphasis on the need for a PC interface for adjustments.
  • One participant challenges the idea that motor speeds must differ, arguing that speed is dictated by tire rolling and vehicle dynamics, not motor control.
  • Concerns are raised about the implications of using a fixed torque distribution in varying conditions, particularly in off-road scenarios where wheel slip may occur.

Areas of Agreement / Disagreement

Participants express differing views on the necessity and implications of torque distribution strategies. While some agree on the importance of managing torque to optimize vehicle performance, others question the assumptions behind maintaining equal torque and the role of motor speeds in AWD configurations. The discussion remains unresolved regarding the best practices for torque management in this context.

Contextual Notes

Participants acknowledge that the discussion involves complex interactions between torque, speed, and friction, with various assumptions about vehicle dynamics and control systems that may not be fully explored or agreed upon.

Raazi
Messages
5
Reaction score
0
Hi,

I am a beginner in terms of mechanics and am an electrical engineer so I apologize in advance for asking what may be trivial questions. I am attempting to create a prototype design for an electric vehicle (truck) in which I am mimicking the Telsa drive train configuration but I am stumped on a couple of points which I was hoping the PF community could clear up for me. The vehicle model I am considering is a dual drive electric AWD vehicle, having a front and rear trans-axle with a 65KW motor on each axle (there is no mechanical connection between the front and rear axles).

1.) In an electric vehicle how is all wheel drive typically implemented in the scenario where there is a 65 KW PMSM (w single speed transmission) on both axles? Are there any reference materials explaining the torque splitting process for this type of situation?
To the best of my understanding it would be done through a torque management system which would limit the maximum torque to the front and rear axle based on the traction available to the front and rear axles.

2.) Why can't you maintain the same torque on each axle in an AWD configuration?
I can't find a good reason for this other than it might cause excessive some stress on each axle and cause wheel slip in certain conditions, but I spoke to an automotive engineer and he told me that it is dangerous to do run both motors at the same speed.

3.) I am trying to run some numbers for a first order approximation, but I am unsure of how to incorporate torque from two motors into my calculations (would the torque just be doubled in a dual drive system) See model here?

Regards,

Raazi
 
Engineering news on Phys.org
Raazi said:
Are there any reference materials explaining the torque splitting process for this type of situation?
Yes, torque splitting is a good idea.

Make an outer control loop that controls the sum:

ωfront + ωback = ωtotal

Now, say you kick the gas pedal to say ωtotal = 2000 rpm. If you are driving too slow, the outer loop controller will say 'more torque'.

Inserted in the outer loop you must have this torque splitter measuring the difference between ωfront and ωback.

If ωfront - ωback ≥ 50 rpm then Tfront = Ttotal*0% , Tback = Ttotal*100% ( just an example ).

If ωfront - ωback ≤ -50 rpm then Tfront = Ttotal*100% , Tback = Ttotal*0%
You can make a look up table, how you want the total torque distributed in different situations. ( You must use a μ-processor here ).

The torque yielded by each of the PMSM motors ( Permanent Magnet Synchronous Motors? ) can be controlled from the torque splitter by varying phase and amplitude of the currents to each motor.

So the outer loop will control the desired speed, the inner loops will control the torque distribution.
 
Hesch said:
Yes, torque splitting is a good idea.

Make an outer control loop that controls the sum:

ωfront + ωback = ωtotal

Now, say you kick the gas pedal to say ωtotal = 2000 rpm. If you are driving too slow, the outer loop controller will say 'more torque'.

Inserted in the outer loop you must have this torque splitter measuring the difference between ωfront and ωback.

If ωfront - ωback ≥ 50 rpm then Tfront = Ttotal*0% , Tback = Ttotal*100% ( just an example ).

If ωfront - ωback ≤ -50 rpm then Tfront = Ttotal*100% , Tback = Ttotal*0%
You can make a look up table, how you want the total torque distributed in different situations. ( You must use a μ-processor here ).

The torque yielded by each of the PMSM motors ( Permanent Magnet Synchronous Motors? ) can be controlled from the torque splitter by varying phase and amplitude of the currents to each motor.

So the outer loop will control the desired speed, the inner loops will control the torque distribution.

Can you please explain further on how you arrived at 50 RPM or is that just a random Δω. Also I am quite interested in the fact that if I have a a peak torque of 255 Nm on each of my motors and gear ratio of 10.32:1 with a differential between each wheel I should have a maximum of ~1316 Nm of torque at wheel (assuming 50:50 split). With a weight distribution of 60/40 on the vehicle what should the maximum torque limit be ( τmax=(0.6⋅2⋅1316)+(0.4⋅2⋅1316) )? Also how would I find the maximum difference between ωfront and ωback such that I don't lose traction.
 
Raazi said:
Can you please explain further on how you arrived at 50 RPM
As I wrote: It's just an example.
Raazi said:
With a weight distribution of 60/40 on the vehicle what should the maximum torque limit be ( τmax=(0.6⋅2⋅1316)+(0.4⋅2⋅1316) )?
Don't care about that for now. I'm suggesting that you build some adjustable electronic device. Just connect a PC to your vehicle later, enter some numbers to tune its behavior as you wish.
Raazi said:
Also how would I find the maximum difference between ωfront and ωback such that I don't lose traction.
On which foundation are you driving? Same answer as the previous.
 
What you must understand is that the important characteristics here are the one influencing the tire-road friction force.

For a tire, the available friction force is more or less the same in any direction. So if you apply a torque to the tire, you have less friction force available laterally (see friction circle). If the torque takes all the friction available, then none is left for resisting lateral forces and sliding or spinning might happen.

In an ideal case, you want all tires' torque to used the same percentage of the available force on their respective tire. So if one wheel uses 50% of the available friction force from its tire to propel the vehicle, you would want the other 3 tires to also use 50% of their respective available friction force. This is how you can maximize the combined grip of all tires.

Remember that the available friction force depends on the normal force, which also depends on weight transfer. Of course, it also depends on the friction coefficient.

Based on this, a 60/40 torque distribution is a good starting point for a vehicle with a 60/40 weight distribution and 4 identical tires.

That being said, there are ways to tune a suspension or select different F & R tires to 'correct' non-ideal cases, but the end goal is always the same: You want each tire to work in similar proportion to the others.

Raazi said:
2.) Why can't you maintain the same torque on each axle in an AWD configuration?
I can't find a good reason for this other than it might cause excessive some stress on each axle and cause wheel slip in certain conditions, but I spoke to an automotive engineer and he told me that it is dangerous to do run both motors at the same speed.

Here, I' m not sure why speed is involved, especially when talking about torque.

Speed should be a given, i.e. it depends on the vehicle speed and tire radius. If all tire radii and gear ratios are the same, I don't see why motor speeds should be different. The speed is dictated by the tire rolling on the road, not by the motor.

The apprehension stated by your automotive engineer comes from off-road 4WD.

When you look at off-road 4WD, all wheels are lock together such that when one wheel makes 1 turn, all others also make 1 turn. This ensures that the torque input always goes proportionally to the resistance (i.e. the friction) offered by each wheel.

When this type of system is used on a surface offering good friction (i.e asphalt), the tires are not allowed to slip as easily. When you turn, wheels take different paths, which will most likely differ in length. Different lengths traveled during the same period of time gives different wheel rpms. Because all wheels are connected together and the friction forces are so great, this gives strong internal forces on the drivetrain components, which may lead to vibrations or even failure. This is why differentials are a must on road vehicles.
 
  • Like
Likes   Reactions: RogueOne
Hesch said:
Don't care about that for now. I'm suggesting that you build some adjustable electronic device. Just connect a PC to your vehicle later, enter some numbers to tune its behavior as you wish.

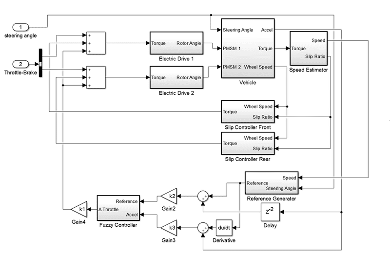
I will be using two motor control units which comprise of a motor, inverter, and micro-controller these accept torque or speed requests (these will comprise me inner loops) for the outer loop I was hoping to keep with something which can be rapidly developed to adjust to new traction conditions. Thus I am thinking of opting to go with a fuzzy control unit for my outer controller (see attached image) which is an implementation of the techniques presented in this https://www.researchgate.net/profile/Farzad_Tahami/publication/228705412_A_Fuzzy_Logic_Direct_Yaw-Moment_Control_System_for_All-Wheel-Drive_Electric_Vehicles/links/09e4150ec0c1c46507000000.pdf .

Hesch said:
On which foundation are you driving? Same answer as the previous.

To start off with I will be using dry asphalt/pavement at 25°C and testing model functionality, Would I have to do my own FEA analysis for the road-tire interface in order to accurately model the force transfer between the tire and the road?

Cheers,

Raazi
 

Attachments

  • Outter Controller.png
    Outter Controller.png
    23.7 KB · Views: 593
Last edited by a moderator:
jack action said:
Here, I' m not sure why speed is involved, especially when talking about torque.

Speed should be a given, i.e. it depends on the vehicle speed and tire radius. If all tire radii and gear ratios are the same, I don't see why motor speeds should be different. The speed is dictated by the tire rolling on the road, not by the motor.

The apprehension stated by your automotive engineer comes from off-road 4WD.

When you look at off-road 4WD, all wheels are lock together such that when one wheel makes 1 turn, all others also make 1 turn. This ensures that the torque input always goes proportionally to the resistance (i.e. the friction) offered by each wheel.

When this type of system is used on a surface offering good friction (i.e asphalt), the tires are not allowed to slip as easily. When you turn, wheels take different paths, which will most likely differ in length. Different lengths traveled during the same period of time gives different wheel rpms. Because all wheels are connected together and the friction forces are so great, this gives strong internal forces on the drivetrain components, which may lead to vibrations or even failure. This is why differentials are a must on road vehicles.

I'm not sure if this applies but I'm trying to develop a prototype which is AWD (not sure what the difference between that and 4WD is). The reason why I was speaking about speeds is that I was referring to motor speeds (RPM) for the front and rear motor. I am trying to implement a similar strategy to Tesla by optimizing the performance of both motors by keeping them closer to the peak operating point. I am still investigating whether or not this is possible since having the motors operate at different speeds would causes (2) issues: (1) as you mentioned strain on the chassis and trans-axle components, (2) Either the front or rear wheels spinning out if the difference is large enough. The idea here is that on a flat surface it won't matter that much, but on a titled surface it can make a notable difference if the motors are spinning at optimal speed while going uphill or downhill (even a lateral tilt), and only delivering the required amount of torque in order to conserve battery. I don't know if it will make a significant improvement to the range of the vehicle but its something. Eventually project is supposed to lead into regeneration but I'm staying clear from that issue right now.
 
Raazi said:
AWD (not sure what the difference between that and 4WD is)
In the North American market the term generally refers to a system that is optimized for off-road driving conditions. The term "4WD" is typically designated for vehicles equipped with a transfercase which switches between 2WD and 4WD operating modes. AWD systems in light passenger vehicles it describes a system that either applies power to all four wheels (permanently or on demand) and targeted as improving on road traction and performance, particularly in inclement conditions, rather than for off road applications. (source)

I still don't get how front wheel speed can be different from rear wheel speed, other than different tire radii or gear ratios.

From the previous source, it says: «An example of this is the dual motor variant of the Tesla Model S, which on a millisecond scale can control the power distribution electronically between its two motors.» The motor speed is no controlled, the power is. Even if the motor power is zero, it doesn't mean that the wheel speed is zero. For example, a RWD vehicle have zero power on the front wheels, but they still have the same rpm as the rear ones.

See, it's the friction force that determine the wheel rpm. The wheel angular velocity is the linear speed of the axle (i.e. the vehicle) divided by the tire radius. If there was no friction, the tire would just slide.

Now, if you increase the wheel power input, you will not change the wheel rpm - it will stay the same - but you will increase the wheel torque. By increasing the wheel torque, you MAY increase the vehicle speed and the wheel rpm with it. If the vehicle is leaning against a wall, it will just push harder on the wall, with nothing moving. If you exceed the friction limit, you will only increase the wheel rpm and the power will be lost through heat instead of vehicle acceleration.

With a typical 4WD (off-road) with a single engine, you are stuck with the mechanically "locked" drivetrain to distribute the power efficiently. Any other system will tend to send the power to the wheel with the least friction resistance - exactly the opposite of what we want - leading to one wheel spinning and all others with zero power. Note that in this case, zero power is due to a wheel speed of zero, because there is a wheel torque on each of the stopped wheels (reacting to the least resistive wheel torque that is spinning).

In your case, you have an independent power source for each axle. So you can control the power distribution at will between the 2 axles. Obviously, if you reach the friction limit of an axle, you should stop increasing the torque input for that axle. Though, you will still need to increase the power as the speed increases (i.e. while maintaining the same torque). If you reach the friction limit on both axles (even if they were at different maximum torque settings), you would need to increase the power of both motors only if the vehicle speed increases.

The best way to determine if a wheel is spinning is to compare the wheel rpm to the vehicle speed (from a GPS or an accelerometer, for example).
 

Similar threads

  • · Replies 15 ·
Replies
15
Views
3K
Replies
10
Views
2K
  • · Replies 8 ·
Replies
8
Views
7K
  • · Replies 58 ·
2
Replies
58
Views
9K
  • · Replies 4 ·
Replies
4
Views
5K
  • · Replies 7 ·
Replies
7
Views
3K
  • · Replies 8 ·
Replies
8
Views
2K
  • · Replies 4 ·
Replies
4
Views
3K
  • · Replies 9 ·
Replies
9
Views
8K
  • · Replies 3 ·
Replies
3
Views
3K