How to know the direction of friction?

Click For Summary

Homework Help Overview

The discussion revolves around understanding the direction of friction in a problem involving two blocks connected by a rope on an incline. The original poster attempts to determine the acceleration of the blocks while grappling with the direction of friction forces, given that the blocks may move in opposite directions.

Discussion Character

  • Conceptual clarification, Assumption checking

Approaches and Questions Raised

  • Participants explore the implications of setting resultant forces in the same direction for both blocks and question the consistency of this approach. The original poster raises concerns about determining the direction of friction and whether it can be arbitrarily assigned.

Discussion Status

Some participants have provided guidance on the necessity of correctly identifying the direction of friction based on the motion of the blocks. There is an ongoing exploration of the assumptions regarding the movement of the blocks and the implications for the free body diagram.

Contextual Notes

There is uncertainty regarding the initial conditions of the problem, specifically whether the blocks are moving uphill or downhill, which affects the direction of friction. The original poster references a diagram found online, which may not align with their own understanding of the problem setup.

jofree87
Messages
37
Reaction score
0
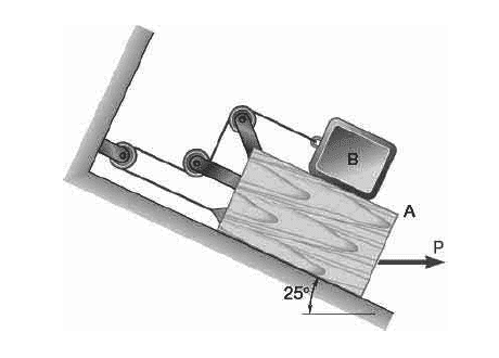
For the problem here, I am given the kinetic friction of the blocks, and I am suppose to find the acceleration of the blocks. I set the x-axis along the incline with x-positive directed towards the right, and I set both the resultant forces of of A and B down the incline since I don't which one goes up or down. Now since A and B will move in opposite directions, how do I know which way to set the frictions?

Here is a diagram of the problem, and a solution I found online,

They also set the resultant forces in the same direction but they set the frictions in different directions.
 

Attachments

  • capture1.PNG
    capture1.PNG
    15.7 KB · Views: 457
  • capture21.PNG
    capture21.PNG
    23.4 KB · Views: 475
Physics news on Phys.org
Is the free body diagram yours or what you found on the web? Setting the resultant forces on each mass (and hence their accelerations) in the same direction provides an inconsistent picture. Look at the rope connecting the masses. It has fixed length. If mass A is accelerating down the incline (positive x-direction) the bottom part of the rope connected to mass A will get longer. This means that the top part connected to mass B will get shorter which in turn means that the acceleration of mass B is in the negative x-direction. The diagram shows both accelerations in the same direction which is inconsistent.
 
kuruman said:
Is the free body diagram yours or what you found on the web? Setting the resultant forces on each mass (and hence their accelerations) in the same direction provides an inconsistent picture. Look at the rope connecting the masses. It has fixed length. If mass A is accelerating down the incline (positive x-direction) the bottom part of the rope connected to mass A will get longer. This means that the top part connected to mass B will get shorter which in turn means that the acceleration of mass B is in the negative x-direction. The diagram shows both accelerations in the same direction which is inconsistent.

I found the diagram online but I set the resultant forces in the same manner.

I did this because I don't know exactly which block goes up or down. If I work out the problem correctly, then one of the accelerations should end up being negative. But my question is how do I know which way the frictions will go? Can I set them in any direction like how I did with the resultant forces so that it will work out in the end?
 
No you cannot set the frictions in any direction you want. You have to know which way they are for the free body diagram to work. It is a good bet that the bottom block is moving down the incline, in the same direction as the component of the pulling force P along the incline. This would not be the case if the system were moving uphill after being given some initial velocity uphill and before it slides back down again. Are there words in the statement of the problem that say this is the case? If no, then assume that the bottom block is moving downhill.
 

Similar threads

  • · Replies 7 ·
Replies
7
Views
2K
Replies
7
Views
2K
  • · Replies 6 ·
Replies
6
Views
2K
Replies
9
Views
3K
Replies
2
Views
976
  • · Replies 30 ·
2
Replies
30
Views
2K
Replies
24
Views
3K
  • · Replies 6 ·
Replies
6
Views
2K
Replies
1
Views
1K
Replies
13
Views
3K