Lift relative velocity problem.

Click For Summary

Homework Help Overview

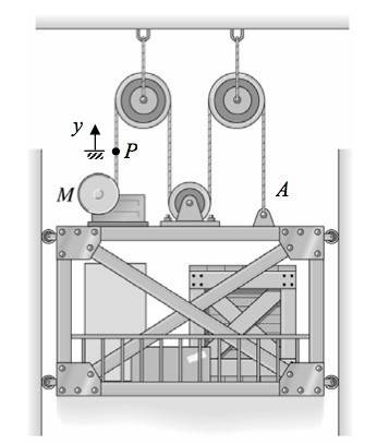
The problem involves a motor mounted on top of a lift, focusing on the relationship between the displacement and velocities of points associated with the lift and the motor. It addresses the dynamics of a cable unwinding from the motor and its effect on the lift's velocity.

Discussion Character

  • Mixed

Approaches and Questions Raised

  • The original poster attempts to relate the velocities of points P and A, questioning the implications of the motor unwinding the cable at a constant rate. They express confusion regarding the velocities and their relationships.
  • Some participants suggest considering conservation of energy and the effective load on the motor, prompting questions about the forces involved and the work done in the system.
  • Others raise the point that unwinding the cable at 2m/s does not directly translate to point P moving at that same speed, indicating a need to reconsider the setup and relationships between the components.

Discussion Status

Contextual Notes

There is mention of confusion regarding the velocities and the relationship between the motor, lift, and cable. The original poster's attempts indicate a potential misunderstanding of the dynamics involved, particularly in how the velocities relate to each other.

Legendon
Messages
21
Reaction score
0

Homework Statement


motor is mounted on top of lift.
a)if p moves by y, what is the displacement of Pt A? Prove that Vp=-3Va.
b)If motor unwidns cable at const rate 2m/s, what is vel of cable wrt lift.
Prove vel of lift is 0.5m/s


Homework Equations





The Attempt at a Solution


I can do part a. I have prob with part b. If motor releases cable at 2m/s, can i take it that pt p moves 2m/s. so Va is 2/-3=-0.667. Since pt a is connected to the lift, the vel of cable wrt lift is 2+0.667=2.667.
But velocity of lift is 0.5 so the vel of cable wrt to lift is 2.5. This is getting confusing.
 

Attachments

  • Untitled-1.jpg
    Untitled-1.jpg
    11.2 KB · Views: 502
Physics news on Phys.org
anyone ?
 
this is a better picture
 

Attachments

  • cmd.jpg
    cmd.jpg
    15.7 KB · Views: 492
Conservation of energy is your friend here.

What is the effective load on the motor?

What is the force exerted to move P a distance y?
Thus - what is the work done to do this?

What is the work done to raise the lift, and thus point A, a distance x?

The answer has a clue, and another method:
Unwinding the cable at 2m/s does not mean that P moves at 2m/s.
Remember that the motor moves with the lift. 2m/s is the rate the total length of cable increases.

You'll note that the answer, 0.5ms, is exactly a quarter of 2m/s.
How many cables are pulling on the lift?
If the total length of cable increases by 2m/s, how much does each length of cable increase by?
 
Last edited:

Similar threads

  • · Replies 2 ·
Replies
2
Views
2K
  • · Replies 2 ·
Replies
2
Views
2K
Replies
2
Views
3K
  • · Replies 12 ·
Replies
12
Views
4K
  • · Replies 19 ·
Replies
19
Views
3K
Replies
2
Views
1K
  • · Replies 29 ·
Replies
29
Views
4K
  • · Replies 5 ·
Replies
5
Views
5K
Replies
5
Views
8K
Replies
2
Views
9K