Two blocks -which will hit in lesser time?

Click For Summary

Homework Help Overview

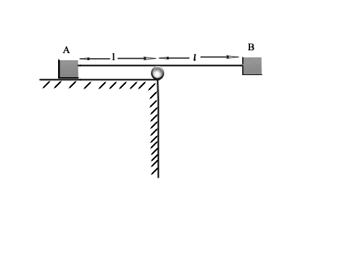
The problem involves two blocks, A and B, each of the same mass, connected by a string over a pulley. Block B is initially held in position and then released, while Block A slides horizontally. The question is which block will hit its respective target first, with a focus on the time taken for each block to reach its destination.

Discussion Character

  • Exploratory, Mathematical reasoning, Assumption checking

Approaches and Questions Raised

  • Participants discuss the motion of both blocks, with Block A undergoing linear motion and Block B undergoing circular motion. There are attempts to relate displacement and acceleration for both blocks, and questions are raised about the forces acting on Block B as it falls.

Discussion Status

Participants are exploring the dynamics of the system, questioning the horizontal and vertical forces acting on both blocks. Some suggest that Block A may have greater acceleration, while others seek to derive mathematical expressions for the time taken by each block to reach its target. There is recognition that the tension in the string is not constant, complicating the calculations.

Contextual Notes

Participants note that the motion of Block B involves varying radius due to its circular path, and that the equations governing the motion are coupled and nonlinear, which may require numerical methods for solutions. There is an acknowledgment of the complexity in deriving time expressions for both blocks.

Tanya Sharma
Messages
1,541
Reaction score
135

Homework Statement



Two blocks A and B ,each of same mass are attached by a thin inextensible string through an ideal pulley.Initially block B is held in position as shown in figure.Now the block B is released .Block A will slide to right and hit the pulley in time t1.

Block B will swing and hit the surface in time t2 . Assume the surface as frictionless,then which block will hit in lesser time

i.e t1 or t2 ? Please explain mathematically??

Homework Equations


The Attempt at a Solution



Intuitively it looks block A will hit first.But mathematically I am not able to relate.Block A does a linear motion covering distance L.Block B doing a circular motion with varying radius(as it falls the initial radius length L will increase ? How to relate displacement , accelaration ?
 

Attachments

  • two_blocks.png
    two_blocks.png
    1.7 KB · Views: 506
Last edited:
Physics news on Phys.org
Think about what causes the horizontal component of acceleration of block B.
 
As block B falls ,at an instant if we assume

1 the string makes angle θ with the vertical
2 T is tension in the string

then along the radial T and mgcosθ acts,whereas tangentially mgsinθ acts
 
For an arbitrary θ, what is the net horizontal force acting on B? What is the net horizontal force on A?
 
Forces in Vertical direction = Tcosθ - mg
Forces in horizontal direction =Tsinθ
 
net horizontal force on A=T
net horizontal force on B=Tsinθ
 
So, which block will have the greater horizontal component of acceleration?
 
Okay...A will have greater accelaration...thank u very much...can we mathematically calculate the time taken by block B to hit the wall in terms of given variables.
For A accelaration is T/m and distance to be covered is L .Here L=(1/2)(T/m)(t1)[2]
from here we can calculate t1

But for B, it will be undergoing circular motion with varying radius as when it falls,the string length acting as the circular radius increases

Forces in Vertical direction = Tcosθ - mg
Forces in horizontal direction =Tsinθ

please explain??
 
I think the horizontal force of the right mass is-
Fr_to-left=Cosθ(mgSinθ)
As at the top, the body has no horizontal force only downward force.
At the bottom too, only downward force.
 
  • #10
Tanya Sharma said:
can we mathematically calculate the time taken by block B to hit the wall in terms of given variables.
For A accelaration is T/m and distance to be covered is L .Here L=(1/2)(T/m)(t1)[2]
from here we can calculate t1
Since the tension is not constant during the motion, the acceleration of block A will not be constant. So, L = (1/2)(T/m)t12 will not be valid.
But for B, it will be undergoing circular motion with varying radius as when it falls,the string length acting as the circular radius increases

Forces in Vertical direction = Tcosθ - mg
Forces in horizontal direction =Tsinθ

please explain??
The position of block B is determined by the position, xA, of block A and the angle θ. So, the natural system variables are xA and θ. It is possible to derive differential equations for xA and θ but they are coupled, nonlinear equations. So, I don't see a way to actually get the time, t1, for A to reach the pulley except by numerical integration of the equations. After t1, B's motion will simplify to swinging along a circular arc of radius 2L until B hits the surface at t2. But, still, I think the time between t1 and t2 would have to be determined numerically.
 

Similar threads

  • · Replies 2 ·
Replies
2
Views
4K
  • · Replies 5 ·
Replies
5
Views
2K
  • · Replies 4 ·
Replies
4
Views
2K
  • · Replies 6 ·
Replies
6
Views
4K
  • · Replies 18 ·
Replies
18
Views
3K
  • · Replies 5 ·
Replies
5
Views
5K
Replies
6
Views
2K
  • · Replies 9 ·
Replies
9
Views
2K
  • · Replies 6 ·
Replies
6
Views
2K
  • · Replies 13 ·
Replies
13
Views
6K