What is the Correct Reading on the Scale in This Mass/Scale Puzzle?

  • Context: High School 
  • Thread starter Thread starter DaveC426913
  • Start date Start date
Click For Summary

Discussion Overview

The discussion revolves around a mass/scale puzzle involving a scale, weights, and pulleys. Participants explore the reading on the scale under various scenarios, focusing on the concepts of tension in the rope and the forces acting on the system. The conversation includes theoretical reasoning and attempts to clarify the mechanics involved.

Discussion Character

  • Exploratory
  • Technical explanation
  • Debate/contested
  • Mathematical reasoning

Main Points Raised

  • Some participants assert that the scale reads 10kg based on the assumption that the tension in the cable remains constant throughout the system.
  • Others argue that the rope can only have one tension, challenging the idea that it could be 10kg for each weight and 20kg in the middle.
  • A participant proposes a scenario where the left pulley is fixed and the left weight is cut, suggesting that the scale should still read 10kg.
  • Another participant clarifies that fixing the left pulley does not constrain the left cable, which could lead to different outcomes.
  • Some participants emphasize that the tension in the cable must balance the gravitational force on the weight, leading to the conclusion that the scale measures the tension directly.
  • There is a discussion about the definition of tension and how it relates to the forces acting on the weights and the scale.
  • A participant requests a formal explanation of why the scale reads only 10kg without relying on alternate scenarios for contrast.
  • One participant expresses confusion about the tension being perceived as 20kg and questions the reasoning behind the 10kg reading.

Areas of Agreement / Disagreement

Participants do not reach a consensus on the reading of the scale, with multiple competing views regarding the interpretation of tension and the mechanics of the system. The discussion remains unresolved as participants continue to challenge and refine each other's claims.

Contextual Notes

Some arguments depend on specific assumptions about the system's configuration and the definitions of tension. The discussion includes references to various scenarios that illustrate the principles involved but does not resolve the underlying uncertainties.

  • #181
Mister T said:
That's what I was trying to explain to you in Post #7.
Yes, and as I tried to do in post #34 and @vela in post #60.
 
  • Like
Likes   Reactions: russ_watters
Physics news on Phys.org
  • #182
Mister T said:
That's what I was trying to explain to you in Post #7.

renormalize said:
Yes, and as I tried to do in post #34 and @vela in post #60.

Yes. This is the culmination. I would not have been able to get here without the explanations y'all have been providing. :smile:


The only difference here is that I haven't resorted to an alternate diagram/scenario to explain the principle; I wanted to remain entirely with the original diagram/scenario.
 
  • #183
DaveC426913 said:
I'm starting to understand how to inuit the 10kg reading in the scale without resorting to altering the scenario.

We only need to look at one tiny section of the diagram:

A 10kg mass is supported on a string. It is static, meaning something is holding it up else it would fall.
View attachment 363781
We (i.e. a layperson) can immediately see that any scale above this would read 10kg. The string is under 10kg of tension (100 Newtons, if you wish.)


We expand our scope:
View attachment 363782
Nothin has changed. Everything is static. String is still under 10kg tension.

We expand again:
View attachment 363783
Literally nothing has changed. All I've done is show more of the setup.

It must still be under 10kg of tension. And indeed, our spring scale says so.

View attachment 363784
Again, nothing has changed.



Finally, we reveal what has ensured the string and mass stays static:
View attachment 363785
Even the layperson will have to acknowledge that merely revealing what is hidden cannot suddenly change the reading on the scale from 10kg to 20kg.


That wasn't quite what I had been appealing for; I'd been appealing for it a single diagram, labeled in such away as to show why it works. But at least the above doesn't require altering the scenario.
I gave you a single diagram showing that, including where there is 20 kg force.
 
  • #184
PAllen said:
I gave you a single diagram showing that, including where there is 20 kg force.
Yeah. I could not have gotten here without you.

I should clarify: I didn't mean to suggest I succeeded where yall failed - I'm saying I'm parroting back what I learned from yall.
 
  • Like
Likes   Reactions: haushofer
  • #185
DaveC426913 said:
The only difference here is that I haven't resorted to an alternate diagram/scenario to explain the principle; I wanted to remain entirely with the original diagram/scenario.
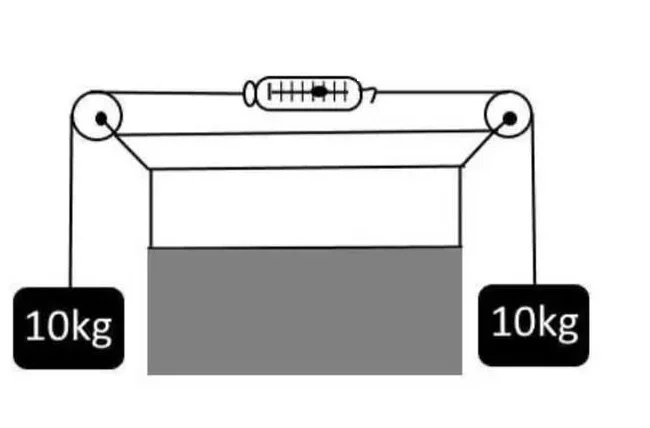
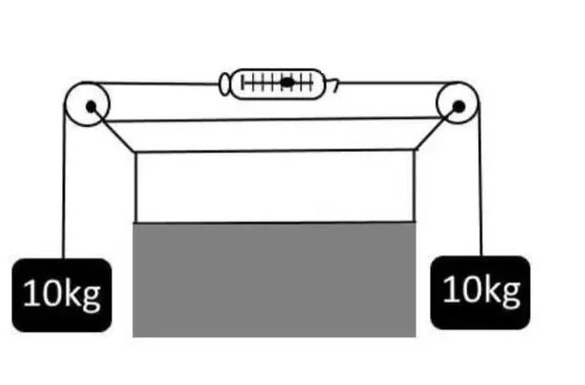
Refer to the original diagram in post #1.
Fact: The hanging mass on the left is and remains at rest. This means that the tension in the string to which it is attached is equal the weight.
Fact: The hanging mass on the right is and remains at rest. This means that the tension in the string to which it is attached is equal the weight.
Fact: The pulleys are assumed to be ideal. This means they change the direction of the tension at each side but do not affect its magnitude.
Conclusion from the facts above: The tension at each side of the scale is equal to the weight of a mass.

Answer to original question: Spring masses are designed to display one of the equal and opposite tensions applied at their ends*. Therefore, the reading on the scale is the weight of one of the masses.


*How do we know that? Simple logic. In order to measure a force with a gadget, we need to exert the unknown force on the gadget, but we don't want the gadget to accelerate. Therefore, we need to apply an equal and opposite "stopper" force to keep the gadget at rest. However, that second force does not count. Only the unknown force counts and that's what the gadget displays. In your original diagram one of the weights is being measured and the other serves as the "stopper" force. Obviously, it doesn't matter which is which.
 
  • Like
Likes   Reactions: Lnewqban, PAllen, hutchphd and 1 other person
  • #186
kuruman said:
*How do we know that? Simple logic. In order to measure a force with a gadget, we need to exert the unknown force on the gadget, but we don't want the gadget to accelerate. Therefore, we need to apply an equal and opposite "stopper" force to keep the gadget at rest. However, that second force does not count. Only the unknown force counts and that's what the gadget displays. In your original diagram one of the weights is being measured and the other serves as the "stopper" force. Obviously, it doesn't matter which is which.
Yes. This is a very difficult concept for the layperson to grasp in one go.

I am not a layperson; I have been a very active PF member for decades, and I still struggle with this.
 
  • #187
DaveC426913 said:
Yes. This is a very difficult concept for the layperson to grasp in one go.

I am not a layperson; I have been a very active PF member for decades, and I still struggle with this.
I think it would be easy to explain to a layperson how force scales work. I outlined the gist of my explanation post #185 footnote. Laypersons do not consciously appreciate the importance of the equal and opposite "stopper" force although they make sure that it's there before they use a spring scale. If Alice, a layperson, wants to find the weight of a bunch of bananas, she would first hang the scale from a fixed support and then place the bananas in the tray. She already knows that if she placed the bananas in the tray and then let go of the scale without anchoring the other end, the bananas and tray would be in free fall.

So if I were to explain this to Alice, I would first ask her to explain to me, in her own words, why it is necessary to hang the scale from the ceiling before placing the bananas in the tray and then lead her to the goal of what a spring scale reads. I would start by exploring her answer to "what, do you think, the scale would read if there were bananas in the tray and the tray were in free fall?"
 
  • #188
kuruman said:
I think it would be easy to explain to a layperson how force scales work. I outlined the gist of my explanation post #185 footnote. Laypersons do not consciously appreciate the importance of the equal and opposite "stopper" force although they make sure that it's there before they use a spring scale. If Alice, a layperson, wants to find the weight of a bunch of bananas, she would first hang the scale from a fixed support and then place the bananas in the tray. She already knows that if she placed the bananas in the tray and then let go of the scale without anchoring the other end, the bananas and tray would be in free fall.

So if I were to explain this to Alice, I would first ask her to explain to me, in her own words, why it is necessary to hang the scale from the ceiling before placing the bananas in the tray and then lead her to the goal of what a spring scale reads. I would start by exploring her answer to "what, do you think, the scale would read if there were bananas in the tray and the tray were in free fall?"
Yes. We take for granted that things hang, and that the ceiling exerts its own force.

By the way, I did run this past a number of laypeople, as well as the smartest person I know - an engineer. They all got it wrong.

After I walked him through it, the smartest person I know was silent for several minutes, you could hear his brain cogs squeaking.
 
  • Like
Likes   Reactions: OmCheeto
  • #189
kuruman said:
I think it would be easy to explain to a layperson how force scales work
It's difficult to predict, without experimenting, how a person will react to an explanation. Ask someone who thinks there's no gravity on the moon what holds the astronauts down. Some will then concede that there must be gravity but a very common response is "their boots"!
 
Last edited:
  • Like
Likes   Reactions: russ_watters
  • #190
DaveC426913 said:
Yes. We take for granted that things hang, and that the ceiling exerts its own force.
Screen hiding assembly.webp
We do take it for granted. Everybody should agree that there is a stopping force behind the screen the prevents the weight on the left from falling down.

A stopping force is a stopping force. It makes no difference if the other end of the string is (a) attached to a rigid wall, (b) is held by Bob hiding behind the screen, (c) goes over another pulley and is tied to the floor or (d) goes over another pulley to another 10 kg hanging mass.

That's what should be pointed out to anyone who is unsure. If they are still unsure, it is worth asking them whether they believe that, when any of (a) - (c) above is surreptitiously replaced by (d) behind the screen, they will see a jump in the reading of scale. Those who do are laboring under a faulty logic based on their everyday observation of spring scales. It's probably something like this.

If I place 6 lbs of bananas in the tray of a vertical spring scale attached to the ceiling, the reading is 6 lbs.
Therefore, the scale reads the weight of whatever is hanging at the free end.
Double bananas.webp
I am now asked what the scale will read in the double hanging bananas picture as shown on the right.

Probable faulty reasoning
  1. I have established that the spring scale reads the hanging weight.
  2. Here we have have gravity pulling at twice the weight.
  3. Therefore the scale reads twice the weight.
The fault lies in not recognizing that both ends of the scale need to be included in what has been established.

Correct reasoning that a layperson should be able to understand (if not construct)
  1. I have established that the spring scale reads weight hanging from one end when the other end is supported by the ceiling.
  2. Here we have gravity pulling at twice the weight, but there is no ceiling. Nevertheless, the hanging masses are at rest. If there is no ceiling, what keeps the masses at rest?
  3. (Aha moment) This picture would be the same as the single hanging mass picture if one of the hanging weights assumes the function of the missing ceiling and supports the other hanging mass.
  4. Therefore, the scale reads the weight of either one of the hanging masses.
A physicist would call step 3 "modeling the double-pulley, double-hanging-mass system as an equivalent single mass hanging from the ceiling."
 
Last edited:
  • Like
Likes   Reactions: russ_watters
  • #191
kuruman said:
We do take it for granted
'We' being laypeople.

kuruman said:
. Everybody should agree that there is a stopping force behind the screen the prevents the weight on the left from falling down.

A stopping force is a stopping force. It makes no difference if the other end of the string is (a) attached to a rigid wall, (b) is held by Bob hiding behind the screen, (c) goes over another pulley and is tied to the floor or (d) goes over another pulley to another 10 kg hanging mass.
This is where, having had it explained, laypeople begin to cease taking it for granted.

kuruman said:
That's what should be pointed out to anyone who is unsure. If they are still unsure, it is worth asking them whether they believe that, when any of (a) - (c) above is surreptitiously replaced by (d) behind the screen, they will see a jump in the reading of scale. Those who do are laboring under a faulty logic based on their everyday observation of spring scales. It's probably something like this.
Yes.
 
  • #192
1753727307341.webp
 
  • #193
Andrew Mason said:
I know what you're trying to say but the figure doesn't look right. I assume that the vertical scale is attached to the horizontal scale. The point of attachment is in equilibrium. I can see the horizontal forces cancelling at the point of attachment but what cancels the vertical tension at that point? The string going from pulley to pulley should be drawn as two equal sides of an isosceles triangle, not a straight line.
 
  • Like
Likes   Reactions: jbriggs444
  • #194
My outline for my thesis of my analysis of this thread:

1. My 4th grade sister taught me 4rd grade maths when I was preschool.
Sis; "Take 4 pies away from 3 pies and you get negative 1 pie."
Me; "You can't take away more pies than you have. Maths is stupid."
1.5 Subsequently self studied maths, well in advance of schooling level.
2. 7th grade teacher giving me an F on an exam where I had every answer right
Me; "Why?"
Teacher; "You didn't show your work, so you cheated."
Me; "But I knew the answers"
Teacher; "Pffft! You still get an F"
Me, internally; "No point arguing."
Result: Never took an unrequired maths class for the rest of my life. What's the point?
2.5 Scored 204 out of 402 upon graduating from high school. I was the epitome of average!
3. Weeks later, scored so high on the Navy entrance exam, it qualified me for Mensa.
4. Missing that ONE answer out of 80 after Navy Nuclear School.
Most missed question I've run across since.
And now, the 2nd most missed question.
4.5 Ran across people who were smarter than I was on the internet who claimed to know their IQs.
5. Watched the Ramanujan movie and seeing my #2 'reminded me of'.
He, like myself, was self trained, and hence couldn't speak 'proper' maths.
6. This thread, where instructors seem to be at battle with students.
7. I'm 66 year old, and am tired of infering from what others say, that I'm stupid, in spite of the evidence.
8. #7 reminds me of that genius stupid cowgirl lady. Can't remember her name.
Senility Now!
 
  • #195
kuruman said:
I know what you're trying to say but the figure doesn't look right. I assume that the vertical scale is attached to the horizontal scale. The point of attachment is in equilibrium. I can see the horizontal forces cancelling at the point of attachment but what cancels the vertical tension at that point? The string going from pulley to pulley should be drawn as two equal sides of an isosceles triangle, not a straight line.
That's a detail. Pretend the string is in a rigid horizontal tube so it is not deflected.
 
  • #196
OmCheeto said:
2. 7th grade teacher giving me an F on an exam where I had every answer right
Me; "Why?"
Teacher; "You didn't show your work, so you cheated."
Me; "But I knew the answers"
Teacher; "Pffft! You still get an F"
In defense of math, the same thing occurs in English.

OmCheeto's exam essay: "Shylock was definitely a nasty dude."
Teacher: "You get an F."
OmCheeto: "But I got the right answer!"
Teacher: "You didn't show your work."
:oldbiggrin:
 
  • #197
DaveC426913 said:
Yes. We take for granted that things hang, and that the ceiling exerts its own force.

By the way, I did run this past a number of laypeople, as well as the smartest person I know - an engineer. They all got it wrong.

After I walked him through it, the smartest person I know was silent for several minutes, you could hear his brain cogs squeaking.

Strain on a section under tension that finally yields, is acting on both axial directions, increasing the length, and trying to separate the bonds of two layers of molecules.
Only one interior force was acting on each layer, which ends up on a different section of the broken bar.
The bond was the opposite force, which resulted overwhelmed by the pulling machine.

 
  • #198
OmCheeto said:
4.5 Ran across people who were smarter than I was on the internet who claimed to know their IQs.
This was on Michio Kaku's forum. Which I was later to learn was hosted by a high school kid who was ""failing"" so he tried something and it turned into THIS.

Curious how his wife, an educator, deals with children who have IQ's higher than hers.
 
  • #199
DaveC426913 said:
In defense of math, the same thing occurs in English.

OmCheeto's exam essay: "Shylock was definitely a nasty dude."
Teacher: "You get an F."
OmCheeto: "But I got the right answer!"
Teacher: "You didn't show your work."
:oldbiggrin:
I have never read that story, and hence, have zero knowledge of this 'Shylock' of whom you speak.
And therefore don't understand any of your post.
 
  • #200
kuruman said:
I know what you're trying to say but the figure doesn't look right. I assume that the vertical scale is attached to the horizontal scale. The point of attachment is in equilibrium. I can see the horizontal forces cancelling at the point of attachment but what cancels the vertical tension at that point? The string going from pulley to pulley should be drawn as two equal sides of an isosceles triangle, not a straight line.
Ok. Suppose the top vertical scale was directly connected to the rigid (but massless) pulleys and frame like this:
1753733149814.webp
 
  • Agree
  • Like
Likes   Reactions: kuruman and Lnewqban
  • #201
OmCheeto said:
I have never read that story, and hence, have zero knowledge of this 'Shylock' of whom you speak.
And therefore don't understand any of your post.
He was a bad guy.

An essay that about somebody being a bad guy that does not demonstrate how he was a bad guy would surely fail, no?
 
  • #202
OmCheeto said:
I have never read that story, and hence, have zero knowledge of this 'Shylock' of whom you speak.
Did you consider doing a Google search on the word Shylock? That would be the normal PF response one would expect for a "don't know and don't want to know" comment. Old writers made wide use of insulting racial stereotypes but they are still worth reading.

PS I see your grammar is fine and you use 'whom' when appropriate - so you're not a bad person. :biggrin: And you still manage to keep me guessing.:smile::thumbup:
 
  • #203
sophiecentaur said:
Did you consider doing a Google search on the word Shylock? That would be the normal PF response
It was a riff off a riff so I wasn't checking homework.
 
  • #204
sophiecentaur said:
Did you consider doing a Google search on the word Shylock? That would be the normal PF response one would expect for a "don't know and don't want to know" comment. Old writers made wide use of insulting racial stereotypes but they are still worth reading.

PS I see your grammar is fine and you use 'whom' when appropriate - so you're not a bad person. :biggrin: And you still manage to keep me guessing.:smile::thumbup:
From the first 6 words in my response, it appears that I did in fact do a google search.
 
  • Like
Likes   Reactions: DaveC426913
  • #205
DaveC426913 said:
He was a bad guy.

An essay that about somebody being a bad guy that does not demonstrate how he was a bad guy would surely fail, no?
Multiple negatives have always confused me.

How my lizard brain saw your sentence:

An essay that about somebody being a [negative] guy that does [negatively] demonstrate how he was a [negative] guy would surely [be a negative], [negative]?

I apparently filter everything thru my lizard brain prior to dumping such nonsense on my non-lizard brains for further processing.
 
  • Like
Likes   Reactions: DaveC426913
  • #206
OmCheeto said:
Multiple negatives have always confused me.
Sometimes they're necessary. A double negative is not always synonymous with a positive.
 
  • #207
Not to be negative, but it seems we've exhausted this thread, and now is a good time to close it with the famous Jimmy Durante quote:

Good night, Mrs. Calabash, wherever you are.

 
  • Like
  • Agree
  • Sad
Likes   Reactions: SammyS, DaveC426913, russ_watters and 2 others

Similar threads

  • · Replies 11 ·
Replies
11
Views
3K
  • · Replies 9 ·
Replies
9
Views
2K
  • · Replies 4 ·
Replies
4
Views
3K
  • · Replies 1 ·
Replies
1
Views
2K
  • · Replies 2 ·
Replies
2
Views
3K
  • · Replies 69 ·
3
Replies
69
Views
18K
  • · Replies 12 ·
Replies
12
Views
3K
Replies
4
Views
7K
  • · Replies 11 ·
Replies
11
Views
4K
  • · Replies 1 ·
Replies
1
Views
4K