Find the two figures and the get value of the resistor and current

Click For Summary

Homework Help Overview

The discussion revolves around analyzing a circuit to determine the resistor values and the currents flowing through it, specifically focusing on two figures with different voltage sources. The context includes applying Kirchhoff's laws for circuit analysis.

Discussion Character

  • Exploratory, Assumption checking, Problem interpretation

Approaches and Questions Raised

  • Participants discuss the currents associated with two circuit figures and question the clarity of the provided diagrams. There are attempts to identify the resistance and current values, with some participants suggesting the need for clearer annotations and equations. Questions arise regarding the interpretation of the circuit and the accuracy of measurements.

Discussion Status

Participants are actively engaging with the original poster's attempts to solve the problem. Some guidance has been offered regarding the need for clearer communication of equations and circuit details. There is an acknowledgment of potential discrepancies in experimental results compared to theoretical calculations, prompting further exploration of the circuit setup.

Contextual Notes

There are mentions of unclear diagram annotations and the potential variability in resistor values. The original poster has provided a specific resistor value for R3, but there is still uncertainty regarding the currents in the figures and the overall circuit analysis approach.

Hamood97
Messages
3
Reaction score
0
resistor.jpg

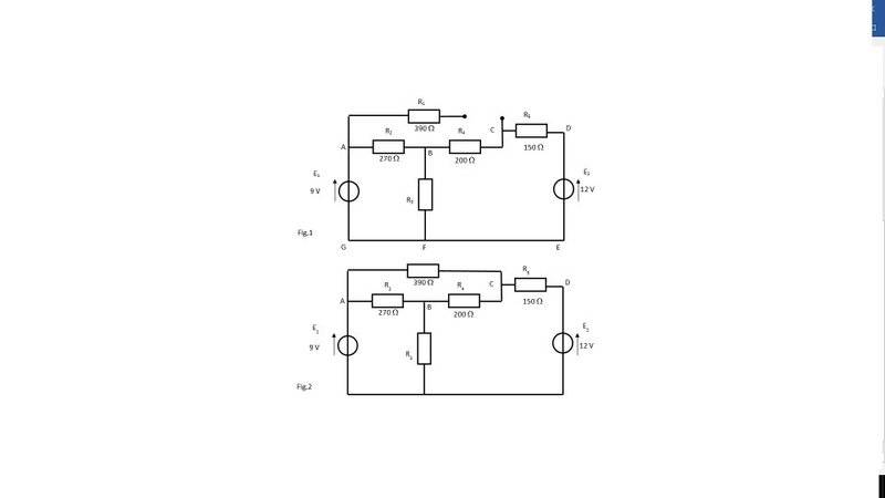
Homework Statement


finding the resistor and current which is following through the circuit[/B]

Homework Equations


kirchhoff law

The Attempt at a Solution


almost as fig 1 ( 9v=3.458 mA and 12v=11.122 mA)
fig 2 (9v=1.472 mA and 12v=12.882 mA) i3=2.48 mA
 
Physics news on Phys.org
Hi Hamood97,

Welcome to Physics Forums!

Hamood97 said:
View attachment 113220

Homework Statement


finding the resistor and current which is following through the circuit[/B]
I presume that you are required to find the resistance R3? (It's hard to tell because the writing on the image is very small). What current are you meant to find?

Homework Equations


kirchhoff law

The Attempt at a Solution


almost as fig 1 ( 9v=3.458 mA and 12v=11.122 mA)
fig 2 (9v=1.472 mA and 12v=12.882 mA) i3=2.48 mA
Is that meant to specify the currents produced by the voltage sources? It doesn't make sense to equate voltages and currents in an equation so that is my guess. The diagram doesn't indicate where i3 is.
 
  • Like
Likes   Reactions: Hamood97
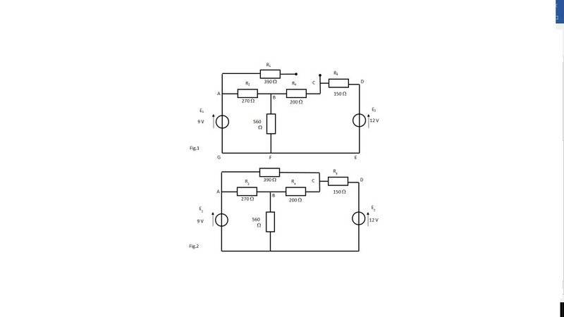
thanks for your reply. i should have told you before about value of R3 which is 560 ohm. i want to find all the currents in figure 1 and figure 2.
 
Okay, perhaps to avoid confusion you should annotate your drawing to show currents and their directions.

What circuit analysis technique(s) have you applied? Can you show your work?
 
Untitled.jpg
IMG_0985.JPG

R3 =560
 
It really would be better if you could type in your equations. It's hard to make out others' handwriting when it's sideways.

You didn't identify your loop currents on the diagram, but after looking at your equations I determined that this was where you started and that you chose to use mesh current analysis:

upload_2017-2-15_10-55-10.png

It would better if you stated these things so that others don't have to puzzle it out before thy can help you. Typing in your equations would also be a big help. That way helpers can easily quote them for commentary.

Your mathematical results for the three mesh currents look okay to me.

Your experimental results for figure 2 look a bit off if the math is to be believed. Perhaps not all the resistor values are precise (cheap resistors can be +/- 20% in value)? Did you measure the voltage source values while the circuit was in operation (to make sure they didn't change value under load)?
 

Similar threads

  • · Replies 4 ·
Replies
4
Views
2K
  • · Replies 4 ·
Replies
4
Views
1K
Replies
22
Views
4K
  • · Replies 31 ·
2
Replies
31
Views
3K
Replies
6
Views
4K
  • · Replies 6 ·
Replies
6
Views
2K
Replies
3
Views
2K
  • · Replies 4 ·
Replies
4
Views
4K
Replies
44
Views
5K
  • · Replies 1 ·
Replies
1
Views
2K