VVS2000
- 150
- 17
Sry I did'nt understand. Can you tell it in a diff way?jbriggs444 said:What does Newton's first law say about objects that are subject to no external forces?
The discussion revolves around an experimental setup aimed at determining the moment of inertia of a rotating object, which is described as having a ball bearing system. Participants explore various aspects of the experiment, including potential relationships among physical quantities, measurement challenges, and the influence of the ball bearing system on results.
Participants express varying levels of understanding regarding the OP's experimental setup and objectives. There is no consensus on the best approach to take or the specific issues at hand, indicating multiple competing views and unresolved questions.
Limitations include a lack of clarity in the OP's description of the experimental setup, missing details about the procedure, and potential systematic errors related to the ball bearing system. The discussion highlights uncertainty about the measurements and the influence of various factors on the results.
Sry I did'nt understand. Can you tell it in a diff way?jbriggs444 said:What does Newton's first law say about objects that are subject to no external forces?
Well yeah you're right. My aim is to try and find the moment of inertia of that object. But what I meant to say was I was'nt working on this experiment strictly based on a procedure. I did a similar experiment last semester and I just wanted to apply the same method or technique for this setup for finding the same thingkuruman said:Let's go back to basics. You say you don't have a procedure yet you are "just doing experiments to figure things out". That is commendable but you need to have some idea of what you are trying to figure out so you can design and control your experiment in a way that will help you draw sensible conclusions. For example, Galileo wondered if heavier objects fall faster. So, he and an assistant dropped two balls of different weights from the tower of Pisa and saw which ball hit the ground first. That was their procedure motivated by the question "Which ball hits the ground first?" Humanity knew for centuries before Galileo that if you release an object it falls; that a heavy mass falling on you hurts more than a light mass falling from the same height; and that the higher the speed of a moving the more it hurts. What Galileo wanted to sort out was "does the heavier mass falling on you hurt more because it is moving faster or because of some other reason?"
The same applies here. Just observing your contraption do its thing without a question and a path to reaching the answer of that question will not buy you understanding.
We can help you do that. What was the experiment you did and how did you do it?VVS2000 said:Well yeah you're right. My aim is to try and find the moment of inertia of that object. But what I meant to say was I was'nt working on this experiment strictly based on a procedure. I did a similar experiment last semester and I just wanted to apply the same method or technique for this setup for finding the same thing
Newton's first law:VVS2000 said:Sry I did'nt understand. Can you tell it in a diff way?
It says that the object won't accelerate unless acted by an external force.jbriggs444 said:Newton's first law:
"An object at rest stays at rest and an object in motion stays in motion with the same speed and in the same direction unless acted upon by an unbalanced force."
What does the above law say about the motion of an object that begins at rest and is subject to no forces?
It's not a trick question. It is a simple question intended to make you stop and think. But you have to actually answer it.
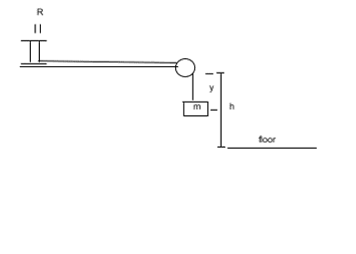
Ok the experiment I did was finding the moment of inertia of flywheel. Instead of the black object in the above figure, I had a flywheel and the thread was wound around the axle.kuruman said:We can help you do that. What was the experiment you did and how did you do it?
And what readings did you take? How did you relate these readings to the moment of inertia?VVS2000 said:Ok the experiment I did was finding the moment of inertia of flywheel. Instead of the black object in the above figure, I had a flywheel and the thread was wound around the axle.
In the case of flywheel, the whole thing rotates. But there, only the top platform rotates and with the presence of ball bearings
Is this question regarding the previous experiment or the present one?kuruman said:And what readings did you take? How did you relate these readings to the moment of inertia?
The confusions are there because there is not a full description of the apparatus and there is not a full description of the method. Each of the helpers who have answered you will have a different picture in their heads of what you are trying to achieve so some of them will have been wasting their time trying to answer a 'different' question.VVS2000 said:Plz tell what and all confusions you have about this setup.
This method could be quite accurate if one uses LoggerPro as is done according to the link. The link does not specify the method of extracting the moment of inertia from the data. When I taught this, the students measured the time interval between successive interruptions of a photogate after rotation by ##\pi##. They fitted that to a polynomial and extracted the "true" ##t=0## when motion starts as opposed to "photogate" ##t=0## which is the time the photogate is interrupted for the first time. They found "true" ##t=0## by taking the time derivative of the polynomial and setting it equal to zero. Then they took the second derivative of the polynomial and evaluated it at "true" ##t=0## to get the acceleration ##\alpha_0## at ##t=0##. Why is that important? Because "true" ##t=0## is the only time when the tension is ##T=mg## and the moment of inertia is simply ##I=mgR/\alpha_0##. It worked very well and taught to the students not only rotational dynamics, but also the value of fitting procedures to finding unknowable parameters.vanhees71 said:The following is equivalent to what I assumed above. It's for sure not a very accurate way to measure the moment of inertia, but in principle it's possible:
http://webpages.ursinus.edu/tcarroll/labmanual/node9.html
You have spoken about a concern that ball bearings cause a system to move on its own. That concern is misplaced. Ball bearings eliminate an external force. They do not create one.VVS2000 said:It says that the object won't accelerate unless acted by an external force.
But I don't know where you are going with this
The previous one. Then we will see if and how it can be adapted to the present one.VVS2000 said:Is this question regarding the previous experiment or the present one?
Ok so you are telling that ball bearings have no affect on the force by the suspended mass?jbriggs444 said:You have spoken about a concern that ball bearings cause a system to move on its own. That concern is misplaced. Ball bearings eliminate an external force. They do not create one.
If the system moves on its own when you install ball bearings, it is likely because you have neglected a different external force that was already there. The ball bearings are not the problem. They are a solution that allowed the real problem to manifest.
You can get a very reproducible measurement for moment of inertia by gluing the wheel into place. But that measurement will reflect the properties of the glue more than it reflects the properties of the wheel.
Yes. The fact that you are asking this question leads me to question whether you know what a force is.VVS2000 said:Ok so you are telling that ball bearings have no affect on the force by the suspended mass?
Well ok. You can ask that question coz now with the glue analogy you gave, won't the properties of the ball bearings come into picture here? I am really confused here...jbriggs444 said:Yes. The fact that you are asking this question leads me to question whether you know what a force is.
https://vlab.amrita.edu/?sub=1&brch=74&sim=571&cnt=1kuruman said:The previous one. Then we will see if and how it can be adapted to the present one.
The slipperier the ball bearings are, the less they intrude. The stickier the glue is, the more that it intrudes. You want a wheel that rotates freely at the slightest touch.VVS2000 said:Well ok. You can ask that question coz now with the glue analogy you gave, won't the properties of the ball bearings come into picture here? I am really confused here...

I wonder how many of those comparisons would be revealed by thet OP's experiment. I know that the everydayjbriggs444 said:The slipperier the ball bearings are, the less they intrude. The stickier the glue is, the more that it intrudes. You want a wheel that rotates freely at the slightest touch.
Ball bearings good.
Glue bad.
Teflon good
Steel bad
Molasses bad
Motor oil good
Bronze bushings good
Ball bearings better
Please do.VVS2000 said:Ok I will try putting up a diagram
Less than what? There is a torque on the disk that depends on both its momentum of inertia and the torque applied by the bearing. What did you get for the ratio of the torque to the angular acceleration?VVS2000 said:But it's here when I realized that my angular acceleration could be affected by this ball bearing system and my value might be less.
You were the computer!sophiecentaur said:Ahh those were the days; not a computer in sight.
Yep. We did the sums on paper but the kids I taught used their calculators. Also, a bar graph, using lengths of tape, five ticks long, gave a v/t graph. Plus the area underneath was the distance traveled (= the total length of tape)Mister T said:You were the computer!
Again so sry. For a moment I understood what you said. But let me just explain my present dilemma.jbriggs444 said:The slipperier the ball bearings are, the less they intrude. The stickier the glue is, the more that it intrudes. You want a wheel that rotates freely at the slightest touch.
Ball bearings good.
Glue bad.
Teflon good
Steel bad
Molasses bad
Motor oil good
Bronze bushings good
Ball bearings better
Ice hardVVS2000 said:Now what if in the process of reducing the friction you make the road itself very very soft, almost like ice for example.
Let us make that specific. You want to calculate your mass. You want to do this by having someone pull on you with a string and measure how long it takes to move a certain distance. So you strap on a pair of tennis shoes and stand on the road while your friend pulls on you with a 10 Newton force.VVS2000 said:Again so sry. For a moment I understood what you said. But let me just explain my present dilemma.
Let's say you're walking on a road and you want to calculate some physical quantity given that you're walking on a road.
VVS2000 said:Ok I will try putting up a diagram
And a proposed method with the input variables and the output variable. What do you actually want to do? This is all so up in the air that I cannot see how any 'learning' can emerge from the process.VVS2000 said:Ok I will try putting up a diagram
Ok, fine but what if the whole road is made extremely smooth so as to slip?jbriggs444 said:Let us make that specific. You want to calculate your mass. You want to do this by having someone pull on you with a string and measure how long it takes to move a certain distance. So you strap on a pair of tennis shoes and stand on the road while your friend pulls on you with a 10 Newton force.
You don't budge. Your feet stay firmly planted on the road.
You swap out for a pair of roller skates. Your friend pulls and you move on down the road.
Which choice of footwear provided a useful measurement?