Moment of inertia (experiment)

Click For Summary

Discussion Overview

The discussion revolves around an experimental setup aimed at determining the moment of inertia of a rotating object, which is described as having a ball bearing system. Participants explore various aspects of the experiment, including potential relationships among physical quantities, measurement challenges, and the influence of the ball bearing system on results.

Discussion Character

  • Exploratory
  • Technical explanation
  • Debate/contested
  • Homework-related

Main Points Raised

  • Some participants inquire about the specific measurements and procedures the original poster (OP) plans to use in the experiment.
  • The OP mentions finding angular acceleration and intends to relate it to the moment of inertia using torque equations, but expresses concern about the influence of the ball bearing system on their measurements.
  • Others suggest that the OP clarify their experimental setup and provide more details about what is being controlled or measured.
  • One participant proposes a method involving the measurement of the acceleration of a mass falling from a pulley to derive the moment of inertia.
  • There are questions regarding the appropriateness of the OP's approach and whether the ball bearing system is causing unexpected behavior in the experiment.
  • Some participants suggest that the OP should consider systematic errors and the need for a more detailed description of the apparatus.
  • Another participant points out the need to account for all components of the rotating object when calculating the moment of inertia.

Areas of Agreement / Disagreement

Participants express varying levels of understanding regarding the OP's experimental setup and objectives. There is no consensus on the best approach to take or the specific issues at hand, indicating multiple competing views and unresolved questions.

Contextual Notes

Limitations include a lack of clarity in the OP's description of the experimental setup, missing details about the procedure, and potential systematic errors related to the ball bearing system. The discussion highlights uncertainty about the measurements and the influence of various factors on the results.

  • #61
sophiecentaur said:
And a proposed method with the input variables and the output variable. What do you actually want to do? This is all so up in the air that I cannot see how any 'learning' can emerge from the process.
So sorry, I will.
 
Physics news on Phys.org
  • #62
VVS2000 said:
Ok, fine but what if the whole road is made extremely smooth so as to slip?
Can you explain whether the influence of ball bearings is that of the roller blades or like a super smooth road? Or are both cases similar?
Similar.

Roller skates on ice, tennis shoes on ice or roller skates on asphalt all work to minimize friction and allow you to move freely over the road surface. This reduces the contribution of the frictional force to:
$$F_{\text{friction}}+F_{\text{string}}=ma$$
If you are trying to determine m, based on the known ##F_\text{string}## and the measured a then the unknown ##F_\text{friction}## impairs your ability to do so. You want to reduce the unknown frictional force as much as possible.
 
  • Like
Likes   Reactions: VVS2000 and vanhees71
  • #63
jbriggs444 said:
Similar.

Roller skates on ice, tennis shoes on ice or roller skates on asphalt all work to minimize friction and allow you to move freely over the road surface. This reduces the contribution of the frictional force to:
$$F_{\text{friction}}+F_{\text{string}}=ma$$
If you are trying to determine m, based on the known ##F_\text{string}## and the measured a then the unknown ##F_\text{friction}## impairs your ability to do so. You want to reduce the unknown frictional force as much as possible.
Ok, now I got it...!
 
  • #64
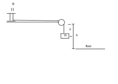
I have the following suggestions for your experiment:
First, I would make the two pulleys to be identically the same (this greatly simplifies the analysis because you won't to deal with two unknown moments of inertia). I have made a sketch of your experiment.
atwd1.png

In the following I calculate the moment of inertia of the pulley in terms of the time it takes for the mass to descend from height h to the floor using the technique of Lagrangian dynamics. Lagrangian dynamics is usually introduced in the upper division physics sequence but you can (and should) do a force analysis to verify my result. The Lagrangian of a system is,$$\mathcal {L}=K.E. - P.E.$$where K.E. is the kinetic energy and P.E. is the potential energy. For this system,$$K.E.= I \dot{\theta}^2+\frac{1}{2}m \dot{y}^2\\
P.E.=mg(h-y)$$where ##\theta## is the angle of rotation of the pulley. The arc length for a circle is ##s=R\theta## and with a moment of thought you can see that ##\theta = \frac{y}{R}##. The Lagrangian is therefore,$$ \mathcal {L}=I\frac{ \dot{y}^2}{R^2}+\frac{1}{2}m \dot{y}^2-(h-y)mg$$I suggest you google Lagrangian mechanics to understand the following sequence of calculations,$$
\frac{\partial {\mathcal{L}}}{\partial{\dot{y}}}=2\dot{y}(\frac{I}{R^2} + \frac{1}{2}m)\\
\frac {d(\frac{\partial {\mathcal{L}}}{\partial{\dot{y}}})}{dt}=2\ddot{y}(\frac{I}{R^2} + \frac{1}{2}m)\\
\frac{\partial {\mathcal{L}}}{\partial{y}}=mg\\
2\ddot{y}(\frac{I}{R^2} + \frac{1}{2}m)=mg\\
$$We now integrate the acceleration twice assuming the initial velocity is zero, the initial displacement is zero, and the final position is h.$$
\ddot{y}=\frac{1}{2}(\frac{mg}{\frac{I}{R^2}+ \frac{1}{2}m})\\
\dot{y}-\dot{y_0}=\frac{1}{2}(\frac{mgt}{\frac{I}{R^2}+ \frac{1}{2}m})\\
\dot{y_0}=0\\
y-y_0=\frac{1}{4}(\frac{mgt^2}{\frac{I}{R^2}+ \frac{1}{2}m})\\
y_0=0\\
I=\frac{mR^2}{2h}(\frac{gt^2}{2}-h)

$$
 
  • #65
jbriggs444 said:
Roller skates on ice, tennis shoes on ice or roller skates on asphalt all work to minimize friction and allow you to move freely over the road surface.
It should be at least noted that Ice skates and roller states will produce a slightly different result for the same total mass because of the rotational inertia of the wheels. It may be slightly less obvious that the same thing is true for a ball bearing vs a sleeve bearing for essentially the same reason.
Also if the frictional force is independent of the speed can it not be eliminated using several different accelerating rates and creating the appropriate intercept?
A good drawing would be a friendly addition... @VVS2000?.
 
  • Like
Likes   Reactions: jbriggs444
  • #66
Fred Wright said:
I have the following suggestions for your experiment:
First, I would make the two pulleys to be identically the same (this greatly simplifies the analysis because you won't to deal with two unknown moments of inertia). I have made a sketch of your experiment.
View attachment 258601
In the following I calculate the moment of inertia of the pulley in terms of the time it takes for the mass to descend from height h to the floor using the technique of Lagrangian dynamics. Lagrangian dynamics is usually introduced in the upper division physics sequence but you can (and should) do a force analysis to verify my result. The Lagrangian of a system is,$$\mathcal {L}=K.E. - P.E.$$where K.E. is the kinetic energy and P.E. is the potential energy. For this system,$$K.E.= I \dot{\theta}^2+\frac{1}{2}m \dot{y}^2\\
P.E.=mg(h-y)$$where ##\theta## is the angle of rotation of the pulley. The arc length for a circle is ##s=R\theta## and with a moment of thought you can see that ##\theta = \frac{y}{R}##. The Lagrangian is therefore,$$ \mathcal {L}=I\frac{ \dot{y}^2}{R^2}+\frac{1}{2}m \dot{y}^2-(h-y)mg$$I suggest you google Lagrangian mechanics to understand the following sequence of calculations,$$
\frac{\partial {\mathcal{L}}}{\partial{\dot{y}}}=2\dot{y}(\frac{I}{R^2} + \frac{1}{2}m)\\
\frac {d(\frac{\partial {\mathcal{L}}}{\partial{\dot{y}}})}{dt}=2\ddot{y}(\frac{I}{R^2} + \frac{1}{2}m)\\
\frac{\partial {\mathcal{L}}}{\partial{y}}=mg\\
2\ddot{y}(\frac{I}{R^2} + \frac{1}{2}m)=mg\\
$$We now integrate the acceleration twice assuming the initial velocity is zero, the initial displacement is zero, and the final position is h.$$
\ddot{y}=\frac{1}{2}(\frac{mg}{\frac{I}{R^2}+ \frac{1}{2}m})\\
\dot{y}-\dot{y_0}=\frac{1}{2}(\frac{mgt}{\frac{I}{R^2}+ \frac{1}{2}m})\\
\dot{y_0}=0\\
y-y_0=\frac{1}{4}(\frac{mgt^2}{\frac{I}{R^2}+ \frac{1}{2}m})\\
y_0=0\\
I=\frac{mR^2}{2h}(\frac{gt^2}{2}-h)

$$
That's precisely what I gave some days ago. Note that the rotational kinetic energy is ##I/2 \dot{\theta}^2## though.
 
  • Like
Likes   Reactions: VVS2000
  • #67
vanhees71 said:
That's precisely what I gave some days ago. Note that the rotational kinetic energy is ##I/2 \dot{\theta}^2## though.
After I posted I suddenly realized that demanding the alteration of the apparatus to have identical pulleys might not sit well with the lab instructor. The solution, however, can accommodate two pulleys by making the substitution, $$I=\frac{mR^2}{2h}(\frac{gt^2}{2}-h)\\
I\to \frac{1}{2}(I_1+I_2)\\
\frac{1}{2}(I_1+I_2)=\frac{mR^2}{2h}(\frac{gt^2}{2}-h)$$
To solve for the two moments of inertia, run the experiment with two different masses. You now have two equations with two unknowns.
 
  • #68
vanhees71 said:
That's precisely what I gave some days ago. Note that the rotational kinetic energy is ##I/2 \dot{\theta}^2## though.
Thanks for the proof
 

Similar threads

  • · Replies 7 ·
Replies
7
Views
2K
  • · Replies 7 ·
Replies
7
Views
2K
  • · Replies 30 ·
2
Replies
30
Views
5K
  • · Replies 2 ·
Replies
2
Views
4K
  • · Replies 49 ·
2
Replies
49
Views
6K
  • · Replies 10 ·
Replies
10
Views
3K
  • · Replies 60 ·
3
Replies
60
Views
7K
  • · Replies 138 ·
5
Replies
138
Views
9K
  • · Replies 1 ·
Replies
1
Views
2K