Need to find an old variable capacitor

  • Thread starter Thread starter michael1978
  • Start date Start date
  • Tags Tags
    Capacitor Variable
Click For Summary

Discussion Overview

The discussion revolves around the search for old variable capacitors, specifically for building radio circuits. Participants share their experiences and suggestions for locating these components, which are reportedly no longer available in electronics shops.

Discussion Character

  • Exploratory
  • Technical explanation
  • Debate/contested

Main Points Raised

  • One participant mentions they have difficulty finding specific variable capacitors and suggests looking online for old radio components.
  • Another participant proposes considering a dual-gang capacitor that can be modified to meet the required specifications.
  • Several participants express confusion over the effectiveness of provided links for finding variable capacitors, with some stating they see no results while others claim the links show available options.
  • A participant shares their experience of successfully finding the needed components but is advised to learn about varicaps, which are suggested to be a more modern alternative.
  • One participant reflects nostalgically on older technologies, comparing them to modern components and expressing a desire to find vintage radios.

Areas of Agreement / Disagreement

There is no consensus on the availability of variable capacitors through the provided links, as participants report differing experiences. Some agree on the suggestion to explore eBay for vintage components, while others express skepticism about the relevance of varicaps.

Contextual Notes

Participants mention various types of variable capacitors and their specifications, but there is uncertainty regarding the availability and practicality of these components in modern applications.

Who May Find This Useful

Individuals interested in vintage electronics, radio building, or those seeking to understand the differences between traditional variable capacitors and modern alternatives may find this discussion relevant.

michael1978
Messages
434
Reaction score
19
hello
i buy allmost all thing needed, for buil you own radio circuits 2013,
but in electronics shop he told me , there are old, you can find it only in old radio
he can't help, those components don't sell anymore,

maybe somebody can help me how to find online those component

VC1: two-gang variable capacitor: 140pF, 60F = 2
VC1: 140pF RF and 60pF oscillator = 2
VC1: variable capacitor twin gang 270pF and 270pF = 2
VCI: TWO SECTION VARIABLE CAPACITOR 140pF ,60pF = 2
 
Engineering news on Phys.org
michael1978 said:
hello
i buy allmost all thing needed, for buil you own radio circuits 2013,
but in electronics shop he told me , there are old, you can find it only in old radio
he can't help, those components don't sell anymore,

maybe somebody can help me how to find online those component

VC1: two-gang variable capacitor: 140pF, 60F = 2
VC1: 140pF RF and 60pF oscillator = 2
VC1: variable capacitor twin gang 270pF and 270pF = 2
VCI: TWO SECTION VARIABLE CAPACITOR 140pF ,60pF = 2
If you haven't been able to find the values you need in the dual-gang configuration, have you considered getting a dual-gang capacitor that can be taken apart so you can modify it to the values you need?

https://upload.wikimedia.org/wikipe...le_Capacitor.jpg/220px-Variable_Capacitor.jpg
220px-Variable_Capacitor.jpg
 

Attachments

  • 220px-Variable_Capacitor.jpg
    220px-Variable_Capacitor.jpg
    12.7 KB · Views: 1,675
michael1978 said:
Sorry, but i don't see any variable capacitor in that page
That's weird. That's what that whole selection of dual-ganged capacitors is all about!

What do you see at the link?
 
berkeman said:
That's weird. That's what that whole selection of dual-ganged capacitors is all about!

What do you see at the link?
sorry don't misonderstand me, i don't know about those variable i know just capactior and trimmers
have a nice wekend.
 
  • Like
Likes   Reactions: berkeman
michael1978 said:
sorry don't misonderstand me, i don't know about those variable i know just capactior and trimmers
have a nice wekend.

you asked about variable capacitors

you were shown whereto get them and what sort of prices they will cost
what didn't you understand ?Dave
 
  • #10
Fwiw the google shopping link returns no hits for me (as in google couldn't find anything).
 
  • #11
michael1978 said:
Sorry, but i don't see any variable capacitor in that page
Lord Crc said:
Fwiw the google shopping link returns no hits for me (as in google couldn't find anything).
Interesting. I wonder if the search is personalized to me or something. Anyway, just type what I did in the search bar and click on Shopping links. You should get what I see...

dual-gang potentiometer search.jpg
 

Attachments

  • dual-gang potentiometer search.jpg
    dual-gang potentiometer search.jpg
    41.7 KB · Views: 1,101
  • #12
I get exactly the same page
 
  • #13
Lord Crc said:
Fwiw the google shopping link returns no hits for me (as in google couldn't find anything).
Do you mean you clicked on the link provided and didn't see any or do you mean you did your own search and didn't get any?
 
  • #14
hello thanks to everybody... i solved i found,
but now i am trying to learn varicap

thnxxxxxxxxxxxxxx
 
  • #15
@michael1978 Did you try eBay? There are many variable capacitors for sale (vintage, mostly). You just need to sort through the ads and contact sellers to see if they have the values you need.
When you are searching for an item, you need to take time and spread your net wide. Why not also look for a vintage radio advertised 'for spares'?
 
  • #16
sophiecentaur said:
@michael1978 Did you try eBay? There are many variable capacitors for sale (vintage, mostly). You just need to sort through the ads and contact sellers to see if they have the values you need.
When you are searching for an item, you need to take time and spread your net wide. Why not also look for a vintage radio advertised 'for spares'?
thank you very much, i solved, but the man in electronics shop he told try to learn varicap, because they are not in use any more.
greetings.
 
  • #17
michael1978 said:
thank you very much, i solved, but the man in electronics shop he told try to learn varicap, because they are not in use any more.
greetings.
That's his opinion but varicap is a different technology. It all depends what you want to achieve. Starting with a very basic receiver would give you a chance to actually understanding about receivers. There is so much 'hidden' inside modern electronic components. The air spaced variable C is one of the few components that is totally open to view. You can also see all the structures in a simple thermionic valve - but that may be too much trouble to learn about.
 
  • #18
This is making me (age 77) all nostalgic! So boring nowadays with transistors replacing those beautiful glowing vacuum tubes, and air-gap dual or 3-gang variable air capacitors rotating merrily back & forth compared to lifeless varactors! I guess all that remains is the antenna loop & speaker - or did the voice-coil speaker also bite the dust?

With tears welling up in my eyes I think of the beautiful Zenith AM radio I bought used in 1958 with a tuned rf stage (3-section variable capacitor!) Dependably picked up a Mexican-based english-speaking station in Boston! I ruined it trying to convert it to short-wave. Follies of youth! I could kill myself even now thinking about that beautiful Zenith. :H Nearly bought one like it on ebay even though I'd never listen to it. Might still look for one again someday.
 
  • Like
Likes   Reactions: AlexCaledin, berkeman, dlgoff and 1 other person
  • #19
berkeman said:
That's weird. That's what that whole selection of dual-ganged capacitors is all about!

What do you see at the link?
I see this:
cap.png
 

Attachments

  • cap.png
    cap.png
    35.1 KB · Views: 935
  • #20
darth boozer said:
I see this
Weird!
 
  • #21
michael1978 said:
hello
i buy allmost all thing needed, for buil you own radio circuits 2013,
but in electronics shop he told me , there are old, you can find it only in old radio
he can't help, those components don't sell anymore,

maybe somebody can help me how to find online those component

VC1: two-gang variable capacitor: 140pF, 60F = 2
VC1: 140pF RF and 60pF oscillator = 2
VC1: variable capacitor twin gang 270pF and 270pF = 2
VCI: TWO SECTION VARIABLE CAPACITOR 140pF ,60pF = 2

https://www.google.com/search?q=var...nmKTZAhURtlMKHU8KCyEQsAQImwE&biw=1594&bih=848

https://www.aliexpress.com/item/Fud...f7d0OBM8D5Cbtcy14wt1aheCjEf0-WtxoC_T8QAvD_BwE

http://www.surplussales.com/variables/airvariables/AirVar2.html
 
  • #22
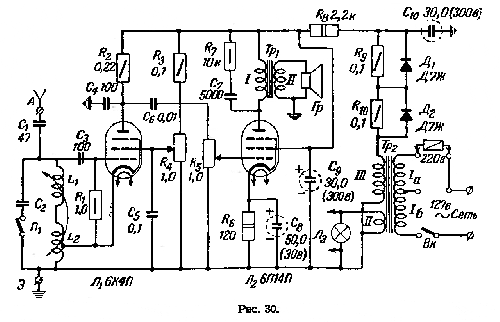
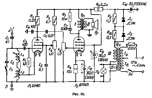
Many old amateur radios were coil-tuned, without any variable cap, like this (note the regeneration):
mrb465_30-500x322.gif

The "L1" inductor is rotating inside the "L2" like this:
image?id=849510600454&t=0&plc=WEB&tkn=*4ubipGS3FeMb-4oaChV1igZrk3A.jpg

- to me, it's even more fun than a variable capacitor . . .
There is a big advantage: You can connect the outdoor antenna via a long coaxial cable, thus avoiding the indoor electromagnetic noises. The cable capacitance then participates in the input LC without reducing the tuning range.
 

Attachments

  • mrb465_30-500x322.gif
    mrb465_30-500x322.gif
    8.8 KB · Views: 1,905
  • image?id=849510600454&t=0&plc=WEB&tkn=*4ubipGS3FeMb-4oaChV1igZrk3A.jpg
    image?id=849510600454&t=0&plc=WEB&tkn=*4ubipGS3FeMb-4oaChV1igZrk3A.jpg
    29.4 KB · Views: 1,176
Last edited:
  • Like
Likes   Reactions: dlgoff and Asymptotic
  • #23
AlexCaledin said:
Many old amateur radios were coil-tuned, without any variable cap, like this (note the regeneration):
View attachment 220290
The "L1" inductor is rotating inside the "L2" like this:
View attachment 220291
- to me, it's even more fun than a variable capacitor . . .
There is a big advantage: You can connect the outdoor antenna via a long coaxial cable, thus avoiding the indoor electromagnetic noises. The cable capacitance then simply works as the input LC capacitance without reducing the tuning range.
Pretty, in fact mind-blowing, but perhaps a bit unwieldy for a table-top radio :smile: . Did or would this kind of tuning work at 550-1600 KHz and without an external antenna?
 
  • #24
rude man said:
would this ... work at 550-1600 KHz?

Yes that circuit was exactly for those frequencies, when without the C2.
. . .
But the tuning coils themselves did not work as antenna, they typically were placed inside the metal box:
odnolampovyi_dvuhkaskadnyi_priemnik_2.jpg
 

Attachments

  • odnolampovyi_dvuhkaskadnyi_priemnik_2.jpg
    odnolampovyi_dvuhkaskadnyi_priemnik_2.jpg
    19.8 KB · Views: 869
Last edited:
  • #25
berkeman said:
Interesting. I wonder if the search is personalized to me or something. Anyway, just type what I did in the search bar and click on Shopping links. You should get what I see...

Seems to be Google Shopping issue on Firefox Mobile. Works in Chrome and Firefox on my desktop computer. Searching for other things returns many hits on FF mobile tho... weird.
 
  • #26
berkeman said:
Weird!
Only a bit "weird" when you consider how these search engines work. They index (god knows how) all the terms of the page and use the index to give you hits. If the original page has been modified in some way (very possible if someone plays about with a components catalogue without publishing the fact that it's been changed, then Google or other search engine will send you to the original location. Idiot site managers who don't take that into account will shoot themselves in the foot. :wink:
 
  • #27
AlexCaledin said:
Many old amateur radios were coil-tuned, without any variable cap, ...
A rotary variable coupler or transformer is called a "variometer". It can be used as a variable inductor by connecting the two coils in series. It can then give a very high ratio of maximum to minimum inductance. Variable capacitors cannot achieve such high ratios.
https://en.wikipedia.org/wiki/Transformer_types#Variometer_and_variocoupler
 
  • Like
Likes   Reactions: Asymptotic and AlexCaledin
  • #28
The following have trimmer caps that you set so that you get the proper range from the variable parts:
https://www.ebay.com/itm/TWO-PCS-VARIABLE-tuning-PV-capacitor-AM-transistor-radio-2-section-cap-w-KNOB-/292392042039
 
  • #29
thnx to everybody, man that is so big, i did not know, i think better to learn varicap, have a nice wekend to everybody
 
  • Like
Likes   Reactions: AlexCaledin
  • #30
You can usually remove plates from an old variable capacitor to make a lower value capacitance.

Varicaps will work but the high capacitance needed for use on the BC band are now rare. Low voltage rectifier diodes, such as 1N4001, often met the specifications. The area of the diode is what makes the difference, so older designs have higher capacitance. The best I found were big diodes from old automotive alternators. These days I might investigate power mosfets as they have high capacitance between the gate and source. Tie the source and drain together.

One problem with varicaps is cancellation of the distortion in oscillators, or when big signals are present. Distortion is best reduced by using opposed matched pairs of diodes as shown here.
https://en.wikipedia.org/wiki/Varicap#Tuning_circuits
 

Similar threads

  • · Replies 4 ·
Replies
4
Views
5K
  • · Replies 7 ·
Replies
7
Views
2K
  • · Replies 8 ·
Replies
8
Views
2K
  • · Replies 190 ·
7
Replies
190
Views
27K
  • · Replies 5 ·
Replies
5
Views
3K
Replies
5
Views
4K
  • · Replies 5 ·
Replies
5
Views
3K
  • · Replies 6 ·
Replies
6
Views
5K
  • · Replies 5 ·
Replies
5
Views
5K
  • · Replies 1 ·
Replies
1
Views
4K