Descending a Rotating Black Hole: Hit the Ring Singularity?

Click For Summary

Discussion Overview

The discussion centers around the nature of geodesics in rotating black holes, particularly regarding the ring singularity and the implications of falling into such a black hole. Participants explore theoretical aspects, potential outcomes of falling into a black hole, and the structure of black holes formed by gravitational collapse versus eternal black holes.

Discussion Character

  • Exploratory
  • Technical explanation
  • Debate/contested

Main Points Raised

  • Some participants note that there are geodesics that hit the ring singularity and others that do not, with some geodesics potentially leading to a "white hole" region.
  • It is mentioned that not all timelike geodesics crossing the event horizon of a rotating black hole necessarily hit the singularity, contrasting with non-rotating black holes.
  • Participants discuss the misconception that falling into a black hole allows one to see the entire history of the universe, clarifying that one can only observe what is in their past light cone.
  • There is a proposal that each black hole may eject matter into a unique universe, leading to the idea that two objects falling into separate black holes cannot reunite in the same new universe.
  • Some participants reference diagrams and models, such as the extended Kerr diagram, to illustrate their points about the structure of black holes and the nature of white holes.
  • Concerns are raised about the physical reasonableness of certain mathematical solutions regarding black holes, particularly in relation to the Kerr metric.
  • Discussion includes the cosmic censorship conjecture and its implications for the structure of black holes, with differing views on whether eternal black holes exhibit an infinite structure of parallel universes.
  • Some participants express skepticism about the reliability of mathematical predictions inside black holes, noting that general relativity may not provide a complete description in those regions.

Areas of Agreement / Disagreement

Participants express multiple competing views regarding the behavior of geodesics in rotating black holes, the nature of singularities, and the implications of black hole structures. The discussion remains unresolved on several key points, particularly regarding the validity of certain models and conjectures.

Contextual Notes

Participants highlight limitations in current understanding, including the dependence on specific models and the unresolved nature of certain mathematical predictions regarding black holes.

MikeeMiracle
Messages
396
Reaction score
313
TL;DR
Descent into rotating black hole, do you hit the ring singularity or bounce out?
So I have been watching the latest edition of PBS Space Time ( I know, not a proper resource/guide,) and it seems to be a bit confusing as to whether you would hit the ring singularity at the center or not.

On the one side he claims that the geodesics end there but on the other he claims you would need to have a LOT of speed to actually hit it otherwise you would just bounce out into what appears to be a new white hole. I was just hoping for some clarification if possible, would you hit the ring singularity or not?

Thanks.

 
Physics news on Phys.org
MikeeMiracle said:
would you hit the ring singularity or not?

There are geodesics that hit the singularity, and also geodesics that don't. In fact, of the geodesics that don't, there are some that go on to the next "white hole" region to the future of the region inside the inner horizon, and others that pass through the ring to a region (apparently not shown in the diagrams in the video) that has ##r < 0##. This region is called the "antiverse" in the diagram at the bottom of this page:

https://jila.colorado.edu/~ajsh/insidebh/penrose.html
 
  • Like
Likes   Reactions: troglodyte
MikeeMiracle said:
On the one side he claims that the geodesics end there but on the other he claims you would need to have a LOT of speed to actually hit it
Geodesics that hit a singularity terminate there, but not all geodesics hit a singularity. In a rotating black hole, not even all timelike geodesics crossing the event horizon necessarily hit the singularity, which is different from a non-rotating black hole.
 
  • Like
Likes   Reactions: troglodyte
Thanks for the answers. A few more questions please.

One other thing I believe is constantly mis-quoted is seeing the history of the universe, surely your seeing only the history of the part of the universe which is causaly linked to that specific black hole and not the entire universe, otherwise how did that information get there?

I am also beliving that each black hole that throws you into a white hole which is unique to that black hole/ i.e, you can't have Alive & Bob fall into 2 separate black holes and find themselves both together again in the new universe?

Thanks.
 
MikeeMiracle said:
One other thing I believe is constantly mis-quoted is seeing the history of the universe

Yes; falling into a black hole does not enable you to see the entire history of the universe. You can only see what is in your past light cone, which leaves out a lot of the universe's history.

MikeeMiracle said:
I am also beliving that each black hole that throws you into a white hole

Where are you getting that from?
 
I got the white hole thing from the video and the diagrams you linked to.

I should have said that for each black hole where you do not hit the singularity but are ejected, you are ejected into a new unique universe. So you can't have two bits of information separated, with each falling into their own rotating black hole, and both end up being ejected, and both eventually find themselves in the same new unniverse. They will find themselves in separate universes as far as I interprit this?
 
MikeeMiracle said:
I got the white hole thing from the video and the diagrams you linked to.

Oh, so you are talking about the extended Kerr diagram, where falling into the black hole eventually makes you emerge into a different white hole region? In that diagram, there is only one black hole to fall into from the original universe, and that black hole only leads to one white hole,, so it's not possible for Alice and Bob to fall into two different black holes and come out in two different white holes.

Also note that that diagram is not considered to be physically reasonable by physicists; an actual rotating black hole formed by the collapse of a massive object is expected to have different structure inside, at the very least starting at the inner horizon (the boundary between the black hole region and the region where the singularity is). The solution shown in the diagrams is mathematically what the Kerr metric gives you when maximally extended, but not all mathematical solutions are physically reasonable.
 
Yes I was going to make this point also, that just because our maths points to something it does not mean it will actually occur in this case. Especially as we know that GR is not a complete theory and breaks down inside a Black Hole so it's reasonable to assume it's predictions inside cannot be totally counted on.

Thank you for your feedback.
 
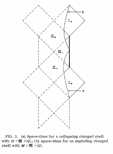
The infinite structure of parallel universes is a property of an eternal black hole. A realistic black hole created in a gravitational collapse has a finite structure. The picture taken from D.G. Boulware, Phys. Rev. D 8, 2363 (1973) illustrates this:
realistic_BH.png
 
  • #10
Demystifier said:
A realistic black hole created in a gravitational collapse has a finite structure.

This diagram is for a charged non-rotating black hole (Reissner-Nordstrom), not a rotating black hole (Kerr). Do you know if anyone has done a similar model for a rotating black hole formed by gravitational collapse?
 
  • #11
PeterDonis said:
This diagram is for a charged non-rotating black hole (Reissner-Nordstrom), not a rotating black hole (Kerr). Do you know if anyone has done a similar model for a rotating black hole formed by gravitational collapse?
P.R. Brady, Progress of Theoretical Physics Supplement No. 136, 29 (1999)
https://academic.oup.com/ptps/article/doi/10.1143/PTPS.136.29/1819101

rotating_BH_interior.png
 
Last edited:
  • #12
Demystifier said:
The infinite structure of parallel universes is a property of an eternal black hole.
Why? There are no theorems or even conjectures about this. In fact quite the oposite is expected. If the cosmic censorship conjecture is true, then the interior will have a space-like singularity and would not be extendible at least generecally.
 
  • #14
martinbn said:
Why? There are no theorems or even conjectures about this. In fact quite the oposite is expected. If the cosmic censorship conjecture is true, then the interior will have a space-like singularity and would not be extendible at least generecally.
The cosmic censorship conjecture is a conjecture about black holes created in a gravitational collapse, it's not a conjecture about eternal black holes. For eternal black holes we have exact solutions (Reissner-Nordstrom, Kerr, Ker-Newman) the maximal analytic extension of which have the infinite structure of parallel universes.
 
  • #15
martinbn said:
This is suggestive but it is based on numerical simulations. I think that in general the question is still far from resolved.
I agree.
 
  • #16
Demystifier said:
The cosmic censorship conjecture is a conjecture about black holes created in a gravitational collapse, it's not a conjecture about eternal black holes. For eternal black holes we have exact solutions (Reissner-Nordstrom, Kerr, Ker-Newman) the maximal analytic extension of which have the infinite structure of parallel universes.
This is the popular science way of stating the conjecture. The one that I am referring to says that given the initial data the maximal Cauchy development is inextendible generically . In case of the interior of a black hole Penrose's theorem guaranties that it will be geodesically incomplete. You either have a true singularity or a Cauchy horizon, which should be unstable generically. This is irrespective of whether the black hole is due to collapse or not. The Kerr solution is the bad example, where you can extend beyond the Cauchy horizon. The expectation is that the interior will be morally like the Schwartzschild solution not the Kerr.
 
  • #17
martinbn said:
This is the popular science way of stating the conjecture. The one that I am referring to says that given the initial data the maximal Cauchy development is inextendible generically . In case of the interior of a black hole Penrose's theorem guaranties that it will be geodesically incomplete. You either have a true singularity or a Cauchy horizon, which should be unstable generically. This is irrespective of whether the black hole is due to collapse or not. The Kerr solution is the bad example, where you can extend beyond the Cauchy horizon. The expectation is that the interior will be morally like the Schwartzschild solution not the Kerr.
I don't understand your point, is the Kerr solution a counterexample to the conjecture or not?
 
  • #18
Demystifier said:
I don't understand your point, is the Kerr solution a counterexample to the conjecture or not?
The conjecture is that generical solutions will have the property. There will be the ocasional exception like Kerr.
 
  • #19
A non-paywall link to reference above is:

https://watermark.silverchair.com/136-29.pdf?token=AQECAHi208BE49Ooan9kkhW_Ercy7Dm3ZL_9Cf3qfKAc485ysgAAAn0wggJ5BgkqhkiG9w0BBwagggJqMIICZgIBADCCAl8GCSqGSIb3DQEHATAeBglghkgBZQMEAS4wEQQM_-NkGr6ZO_kWZ6zlAgEQgIICMF-NlaXw0xGK5ZOD-ZfuxvmDuAstT7FwOLRf7tv-F1XYvope1r_QxKeuAMsCV838N_2FONMYwplfLCYpR-a06pUqLxQKhK89ddQM7ZexhVHIwoKFYkKaQLsIk_4pU-23q6OakhLttoLkbiSpjDUOxC_CXcxKV4XpGnpRhrtRQGHDjX6uZ1OSoE6U_q4J1VLxvS-g4wX-yf8p1H3S10LTprT2U9-VbpemUXsXIvvD-xIcaQMV8VMtrWOWmDX9Wkyhi03ZNX-O2BJDB4esSV6HbOPyoPbv3G-8tOx3FVpcwKzkRkQyRZOgjzFb5dAx7fipA0ADVbD-kZ7HcCKSAEHwCSrL04zUTznmLGEUGZNhiPtq9T0yPJZ45-QRRihMvJPROs-QUAi-XEDrXf44vgqw5nZtQwBzunKdCTnggOa7-YiBZOYpjxGmPi7wqVLPtOP4_7gIfkOkti6WI5DDlsN7zdYCTH3ts11TOcdfCKt0x1yygCEz60hsYthMXlsVsCpBIe5UBoaQpzANNtCjdWyicXd5GcbVdBjeel6BXczcfot1puSbBJVE7dujlF2srcBVr1gfgnelyEG20m9bYAjMa5GYx-72VuVcwUOHBCzwqOczvndkYceLbJANDEPTUO_HOcxmjDWzjEeIvj1S0f-YzsoY9JZ0xdTqSC7T07iddUbqB0-KG0VZxPhO_iomcfdReJJ5tYXUhcSvCeump7eMdp5XVbuwvSIhernczsq0tLNx
 

Similar threads

  • · Replies 7 ·
Replies
7
Views
4K
  • · Replies 20 ·
Replies
20
Views
3K
  • · Replies 22 ·
Replies
22
Views
2K
  • · Replies 57 ·
2
Replies
57
Views
4K
  • · Replies 43 ·
2
Replies
43
Views
7K
  • · Replies 17 ·
Replies
17
Views
4K
  • · Replies 7 ·
Replies
7
Views
2K
  • · Replies 22 ·
Replies
22
Views
2K
  • · Replies 22 ·
Replies
22
Views
4K
  • · Replies 6 ·
Replies
6
Views
2K