How to calculate reactance of this capasitor

  • Thread starter Thread starter Planobilly
  • Start date Start date
  • Tags Tags
    Reactance
Click For Summary

Discussion Overview

The discussion revolves around calculating the reactance of a capacitor (C2) at the ripple frequency in the context of power supply basics and filter circuits. Participants explore the necessary steps and formulas involved in this calculation, addressing both theoretical and practical aspects.

Discussion Character

  • Exploratory
  • Technical explanation
  • Homework-related
  • Debate/contested

Main Points Raised

  • Some participants propose using the formula Xc = 1/(2πfC) to calculate the reactance, emphasizing the importance of understanding ripple frequency.
  • Others discuss the implications of rectification on frequency, noting that rectification effectively doubles the frequency of the input signal.
  • A participant shares their process for arriving at a specific answer (3.2 ohms) based on calculations involving the ripple frequency and capacitance value.
  • There is mention of the effects of filtering on the amplitude of the ripple, with some arguing that while the frequency remains constant, the amplitude decreases with additional filtering stages.
  • Participants express uncertainty about the impact of other components (C1 and R1) on the frequency at C2, with questions raised about how changes in load might affect the ripple frequency.
  • Discussion includes references to Fourier Analysis and harmonics, with some participants suggesting that distortion from imperfect rectification could introduce additional frequency components.

Areas of Agreement / Disagreement

Participants generally agree on the formula for calculating reactance and the concept of ripple frequency, but there is ongoing uncertainty regarding the effects of other circuit components and the implications of rectification on frequency and distortion. Multiple competing views remain regarding the specifics of these effects.

Contextual Notes

Limitations include potential misunderstandings of the term "ripple frequency" and the specific effects of circuit components on frequency and amplitude, which remain unresolved in the discussion.

Planobilly
Messages
440
Reaction score
105
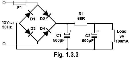
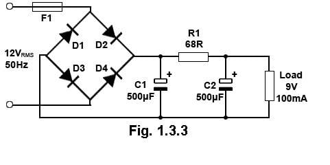
Hi,
I am a little lost here.
psu-fig-1-3-3  test.jpg

What is the reactance of C2 at the ripple frequency? Can someone show me the steps to make this calculation?

Thanks,

Billy
 
Engineering news on Phys.org
Planobilly said:
Hi,
I am a little lost here.
View attachment 103926
What is the reactance of C2 at the ripple frequency? Can someone show me the steps to make this calculation?

Thanks,

Billy
1/(2*Pi*100Hz*C), but it's more complicated than that. What are you wanting to calculate? :smile:
 
Last edited:
Hi Berkeman,
A little background is in order. I am studying power supply basics and typical filter circuits used in those power supplies. There was a test at the end of the learning module and the above question was the only one I could not answer. The correct answer is 3.2 ohms according to the answer sheet.

Given only the information in the schematic one is supposed to be able to be able to compute the reactance of capacitor C2.

I think the writer of the module expected one to use .6 volts as the voltage drop across a diode as that was mentioned somewhere in the text.That would give a value of 1.2 volts.

That would give a voltage out of the bridge rectifier of 10.8 volts.

I don't know how to calculate the ripple frequency. My uneducated guess would be that the ripple would be about 10% of the rectifier output value of 10.8 volts.

So...the bottom line, given the above, by what process does one arrive at the 3.2 ohm answer?

Thanks,

Billy
 
Planobilly said:
Can someone show me the steps to make this calculation?

Here's "Dr Hardy's Painless Method" ( not highly academic bur practical)

Observe that rectification is basically just flipping the bottom half of the wave up above zero.
d101_06.gif

That changes its average from zero to some substantial positive value. Area below zero was flipped above so it no longer cancels, adds instead.
Notice also that it now reverses direction twice as often... suggesting that frequency is doubled. That's your memory aid. More later.

So what was a pure line frequency sinewave is now a badly distorted sine wave .
If rectification was perfect there's nothing anymore at line frequency because everything now repeats twice per line cycle
So
The lowest frequency present is now 2X line frequency and you can use that to calculate reactance, Xc= 1/(2πfc) as Berkeman said.

^^^^And that's the Painless Answer to your question.^^^
......................

Now, because you have that nifty new 'scope with FFT...

Distortion as you know is rich in harmonics. So if you were measure voltage across and current through the capacitor and divide V by I , you might get a somewhat different number of ohms than by 1/(2πfc). That's because there's an Xc for each harmonic... but most folks just figure Xc at twice line frequency and go with that.
The way to remember is this
it used to reverse direction only at its peaks , it blew right through zero,
but now its direction reverses at peaks and at zero crossings!
So it doubled frequency .

It also picked up harmonics that change it away from a nice pure sinewave, as you already know distortion does..

The math behind those harmonics is called Fourier Analysis.
Basically Fourier says ANY repetitive waveform can be written as the sum of many sinewaves,
the first sine being at the repetition rate , called fundamental
the second being at twice the repetition rate , called second harmonic
the third at thrice , third harmonic
and so on...
Each sinewave in that sum gets multiplied by its own scaling factor let's just call it An where n is the harmonic's # 1, 2, 3,,etc... (1 being the basic repetition rate, line frequency before rectification for your case)

So you're looking at a math expression A1sinwt + A2sin2wt + A3sin3wt and so on, it's just addiition...
(There's also an A0 at the beginning that's the just average value, which is what a DC voltmeter would show, as i mentioned above )
you can draw them on graph paper and add them together to check me. Google Fourier.
Now
Here's a nifty simulated frequency analyzer that let's you select a frequency, full wave rectify it and look at the harmonics.
It's a great demonstration of Fourier Analysis:
http://www.falstad.com/fourier/e-fullrect.html

play with it a while
it doesn't have 50 hz but it has 52
PlanoFourier.jpg


you'll notice right away that all the odd harmonics are zero, including the 1st(52hz) remember i said perfect rectification doubles the frequency..
Imperfect rectification would retain a small 1X line frequency component (and other odd harmonics).

The math looks scary, this is for perfect rectification

PlnoFourier2.jpg


but all it's doing is making that sum of sinewaves
play around with that simulator
then with the FFT function in your fancy scope (FFT - Fast Fourier Transform)
when it begins to feel comfortable you have acquired a powerful tool for your "bag of tricks"
you should be able to see imperfect rectification using its FFT , odd harmonics will be nonzero
it'll be fun to analyze clipping in guitar amps too.
and there are plenty of folks here on PF who have way more finesse than i with that math.

old jim
 
Last edited:
  • Like
Likes   Reactions: davenn, jim mcnamara and dlgoff
Hi Jim,

I am reading through what you said. I need to install Java on this computer to get the simulation to run.

In the mean time I figured out the process to get to the test question answer.
Xc=1/(2piFC)
2xpi=6.28
6.28 X 100 = 628.30
628.30 X 500 = 314,159.26
1/314,159.26 = 3.18 ohms...rounded up = the 3.2 test question answer

So...here is the process and what is needed to answer the question without anything other than a pin and paper
1. Know the formula for Xc
2. Know what is meant by the words "ripple frequency" (Actually I knew the approximate frequency out of the rectifier was 100Hz, I just did not know that meant "ripple frequency")
3. Know the value of pi
4. Know that the frequency of 50Hz will be approximately doubled to 100Hz by a full wave bridge rectifier
5. Get the capacitance of C2 off the schematic

So...I was missing two things. One, I did not know the formula for Xc and two I did not understand the meaning of "ripple frequency" as it was being used in the test question.

Now...I will dig into the more precise answer to the question by the use of FFT.

Thanks for the heads up.

Billy
 
Planobilly said:
628.30 X 500 = 314,159.26
capacitance is measured in Farads
and you have 500micro-Farads

so that step should read
628.30 X 500 X 10-6= 314,159.26 X 10-6 = 0.314
poweroften.jpg


and ##\frac{1}{0.314}## = 3.18 as you said
Planobilly said:
I did not understand the meaning of "ripple frequency" as it was being used in the test question.
You've looked at rectified filtered AC before with your scope
th?id=OIP.Mc65f33b724a7d9c50584ce8b85cf1687o0&w=302&h=139&c=7&rs=1&qlt=90&o=4&pid=1.1.jpg

ripples is what it looks like hence the name...the farther you go the faster the doors open !

keep having fun

...how'd you fix that Grouper?

old jim
 
Last edited:
Hi Jim,

Fried the grouper and baked some. It is really good! Still have some in the freezer. You should come over for dinner!

Yes, I have looked at the ripple on the scope. I understand what it looks like. I did not and still do not know what the effect of C1 and R1 would have on the frequency at C2 if any. Is it still 100Hz? If the 9V 100mA load changed would that change the frequency at C2 also?

Cheers,

Billy
 
Planobilly said:
I did not and still do not know what the effect of C1 and R1 would have on the frequency at C2 if any. Is it still 100Hz? If the 9V 100mA load changed would that change the frequency at C2

can't change the frequency, it's twice line just gets smaller amplitude as you add filter stages.

The filter reduces the higher order harmonics more because Xc is less for them, so you get closer to DC which is intuitive - more filtering reduces the ripple.
you'll see that with your scope'sFFT, i don't think that simulator will let you add filtering

If rectification was imperfect, say one diode had slightly higher voltage drop
then the negative peaks that got inverted to become positive
wouldn't be same height as the ones that were positive to start with
so there'd be some distortion at 1X line frequency
and odd harmonics 1,3,5 would appear but their A1,3,5,... terms will be small because the difference in diodes isn't drastic...

You'll love that FFT function
in my day a FFT was a separate instrument the size of a big 'scope
lots of fun to put a mike on one and wander around the house, that's how i found i can no longer hear aTV horizontal oscillator. As a kid i could hear it from the front yard.
 
  • Like
Likes   Reactions: davenn

Similar threads

  • · Replies 5 ·
Replies
5
Views
2K
  • · Replies 17 ·
Replies
17
Views
4K
Replies
1
Views
2K
  • · Replies 10 ·
Replies
10
Views
6K
  • · Replies 7 ·
Replies
7
Views
3K
Replies
2
Views
2K
  • · Replies 14 ·
Replies
14
Views
3K
  • · Replies 1 ·
Replies
1
Views
1K
Replies
5
Views
2K
  • · Replies 5 ·
Replies
5
Views
2K