Loading Over a span and selecting appropriate materials

  • Thread starter Thread starter Cobrasvt1999
  • Start date Start date
  • Tags Tags
    Materials Span
Click For Summary

Discussion Overview

The discussion revolves around selecting appropriate materials and designs for spars that will support a lighting fixture suspended over an aquarium. Participants explore various material options, structural designs, and aesthetic considerations, focusing on safety and reliability for long-term use.

Discussion Character

  • Exploratory
  • Technical explanation
  • Debate/contested
  • Conceptual clarification

Main Points Raised

  • One participant suggests using aluminum bar stock for its availability and cost-effectiveness but expresses uncertainty about its strength for the application.
  • Another participant argues for tubular cross-supports, citing their higher strength-to-weight ratio, while acknowledging the aesthetic considerations of the original design.
  • A different viewpoint raises concerns about the difficulty of fastening lights to tubular supports and suggests that the increased weight of bar stock may be acceptable for aesthetics.
  • There is a suggestion to consider inverted T aluminum extrusion, which is available in various sizes and finishes, including black anodized options.
  • Concerns are raised about the structural integrity of the support under the aquarium, with a recommendation for robust materials like welded steel rectangular tubing.
  • Another participant proposes that square tubing might be more suitable due to ease of bolting to fixtures and greater strength in bending compared to round tubing.
  • One participant questions whether flat stock can adequately support the lights without flexing, indicating a potential consensus on the limitations of flat stock materials.
  • A suggestion is made to utilize support cables more effectively by designing a catenary suspension, which could reduce the load on the spars.

Areas of Agreement / Disagreement

Participants express multiple competing views regarding the best material and design for the spars, with no clear consensus on a single approach. There is ongoing debate about the balance between aesthetics and structural integrity.

Contextual Notes

Participants highlight various assumptions, such as the need for low-profile designs and the structural capabilities of different materials. The discussion includes unresolved questions about the strength and suitability of proposed materials and designs.

Who May Find This Useful

This discussion may be useful for individuals interested in engineering design, material selection, and aesthetic considerations in structural applications, particularly in the context of lighting fixtures and aquarium setups.

Cobrasvt1999
Hello all and thanks in advance for the help!

I am currently working on creating a lighting fixture that will be suspended over an aquarium. What I am having trouble with is determining a safe material and thickness for the spars going between the lights (see below). My goal is to have these spars be as low profile as possible yet still safe and reliable for long term. Because of the low profile needs I would prefer to use some type of flat stock rather than angle stock or square stock. MY current thought is to use aluminum bar stock as it is easy to get and reasonably priced, but I am unsure of the strength. Anyone have any suggestions on materials? How would I figure out the loading on the spars?

Each light fixture weights aprox 5 lbs
all dimensions are in inches
assume no Flex in fixtures and each fixture has 4 mounting points
Spars need to be at least 3/4 inch wide for mounting points.
Fixture will be hung from 2 cables on either side (see attaching points below)

overall.png

Fixture_Dimensions.png

Fixture_Overview.png


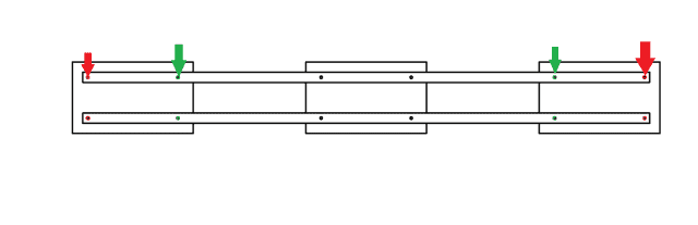
As for hanging locations, I would prefer to hang the fixture from the red points for aesthetic reasons, however I assume that the green mounting points would provide a decent counterbalance to the suspended light in the center. Thoughts?
mounting_points.png


Once again, I really appreciate any help that can be provided with this. these are extremely expensive lights so I really want to be sure that it will hold for the long term!
 
Engineering news on Phys.org
Welcome to the PF, and nice drawings! :smile:

IMO, it's a fundamental engineering mistake to prioritize aesthetics over good engineering design. That said, you can often have both -- an aesthetically pleasing appearance that uses fundamentally good engineering design.

So in this design, I would probably go with tubular cross-supports, instead of horizontal flat ones. The strength/weight is *much* higher in the vertical direction, and it will still have an artistic appearance (especially if you choose the colors and finishes well). My two cents...
 
  • Like
Likes   Reactions: Nidum
berkeman said:
Welcome to the PF, and nice drawings! :smile:

IMO, it's a fundamental engineering mistake to prioritize aesthetics over good engineering design. That said, you can often have both -- an aesthetically pleasing appearance that uses fundamentally good engineering design.

So in this design, I would probably go with tubular cross-supports, instead of horizontal flat ones. The strength/weight is *much* higher in the vertical direction, and it will still have an artistic appearance (especially if you choose the colors and finishes well). My two cents...

Thanks! I prefer drawing things out before buying the supplys :P saves a lot of headache!

As far as tubular goes, While I do see your point in that it is significantly stronger, It would be difficult to fasten the lights to the tube. Would probably require a hole to be drilled entirely thru the pipe and then made larger on one side to accommodate the screw head. Also, I am hesitant to use tubes simply because it wouldn't match quite as well aesthetically. I am inclined to say that the increased weight of using strong enough bar stock would be a fair trade off in this instance. However, I am curious and will see about making some drawings to try and visualize the tubes.
 
Cobrasvt1999 said:
However, I am curious and will see about making some drawings to try and visualize the tubes.
That's all I can ask. :smile:

I was thinking that if the light bodies are a dark matte finish, then chrome tubes (about 3/4" or 1" OD) with black hole plugs on the ends would make for a nice contrast.

Also, do you have access to the inside tops of the light bodies? If so, you can drill holes through the tops of the bodies and just drill and tap holes in the undersides of the tubes to line up with those holes. That would make for a pretty clean and strong arrangement...You might even be able to get away with running your suspension cables through the tubes and hanging the fixture from the ends (with small holes at the tops of the black hole plugs on the ends. Angle the cables outward slightly to give better stability to the fixture...
 
Maybe inverted T aluminium extrusion ? You can buy this from many sources and in a wide range of sizes . Some sizes are available black anodised .

upload_2017-8-1_23-6-13.png
 
BTW, I hope that the structure under your aquarium in your drawing is made from some pretty beefy welded steel rectangular tubing. If that's wood, your light fixture will be illuminating a mess on the floor pretty shortly after you fill the tank, IMO.

https://giantaquarium.files.wordpress.com/2013/03/img_0720.jpg
img_0720.jpg
 
Last edited:
berkeman said:
That's all I can ask. :smile:

I was thinking that if the light bodies are a dark matte finish, then chrome tubes (about 3/4" or 1" OD) with black hole plugs on the ends would make for a nice contrast.

Also, do you have access to the inside tops of the light bodies? If so, you can drill holes through the tops of the bodies and just drill and tap holes in the undersides of the tubes to line up with those holes. That would make for a pretty clean and strong arrangement...You might even be able to get away with running your suspension cables through the tubes and hanging the fixture from the ends (with small holes at the tops of the black hole plugs on the ends. Angle the cables outward slightly to give better stability to the fixture...

Yah, Ill look into that. It's an interesting idea. Unfortunately I really don't want to tear into the housing of the lights, and If I remember correctly the threaded holes in the lights are tapped directly into the housing.

Nidum said:
Maybe inverted T aluminium extrusion ? You can buy this from many sources and in a wide range of sizes . Some sizes are available black anodised .

View attachment 208135

The issue I could see with the T is both that I would have a hard time drilling the holes to run the mounting screws through, and that it isn't quite as low profile as I would like. Wouldn't angle stock be nearly the same strength as well?

berkeman said:
BTW, I hope that the structure under your aquarium in your drawing is made from some pretty beefy welded steel rectangular tubing. It that's wood, your light fixture will be illuminating a mess on the floor pretty shortly after you fill the tank, IMO.

https://giantaquarium.files.wordpress.com/2013/03/img_0720.jpg
View attachment 208137

Yes infact it is made out of some really hefty 2in square stock and really nice welds. I figure it could easily handle more than twice the weight of the tank. currently the tanks is already on it and full, and its extremely sturdy. I really didnt want that sized mess. Total system volume is about 200 gal, and that much saltwater would do a bit of damage if let loose in a house. :wink:
 
Square tubing might suit you better it will be easier to bolt to your fixtures and will be stronger in bending than round tubing; and, you can get decorative end inserts.
 
  • Like
Likes   Reactions: berkeman
JBA said:
Square tubing might suit you better it will be easier to bolt to your fixtures and will be stronger in bending than round tubing; and, you can get decorative end inserts.

True enough. So I am assuming the general consensus is that most any flat stock will be unable to support the light without flex?
 
  • #10
Have you considered using the support cables more effectively ? You could design a very elegant catenary suspension which would only require the bars to space the lights .
 
  • Like
Likes   Reactions: berkeman

Similar threads

Replies
6
Views
3K
  • · Replies 11 ·
Replies
11
Views
5K
  • · Replies 1 ·
Replies
1
Views
3K
  • · Replies 52 ·
2
Replies
52
Views
4K
  • · Replies 17 ·
Replies
17
Views
2K
Replies
3
Views
3K
  • · Replies 15 ·
Replies
15
Views
3K
  • · Replies 6 ·
Replies
6
Views
2K
  • · Replies 4 ·
Replies
4
Views
2K
  • · Replies 3 ·
Replies
3
Views
3K