Measuring the Power Output of a Generator

Click For Summary

Discussion Overview

The discussion revolves around measuring the power output of a homemade generator, focusing on both mechanical input and electrical output. Participants explore various methods for measuring electrical power, including the use of multimeters, Arduino, and different load types, while considering the generator's characteristics and the nature of the energy being harvested.

Discussion Character

  • Exploratory
  • Technical explanation
  • Debate/contested
  • Mathematical reasoning

Main Points Raised

  • One participant suggests using LEDs or capacitors as a load but questions the need to measure current alongside voltage.
  • Another participant recommends using a multimeter for measurements, unless the generator produces high power.
  • Discussion includes the importance of knowing the generator's maximum voltage and mechanical input power to calculate electrical output.
  • Participants propose using a voltage divider to safely measure voltage with an Arduino, noting the maximum input voltage for the Arduino's analog channels.
  • One participant emphasizes the need for a suitable load resistor, suggesting a resistance value based on expected power output.
  • Another participant mentions the challenges of measuring non-constant power output from a vibrational energy harvester and the need to correlate electrical output with accelerometer data.
  • There is a suggestion to use a capacitor as a filter and measure voltage across a known resistor to calculate power, with concerns about measurement accuracy.
  • Participants discuss the nature of the generator, with one describing it as an AC generator with a full wave diode bridge.
  • Concerns are raised about the non-linear characteristics of LEDs as a load and the impact of temperature on halogen lamps.

Areas of Agreement / Disagreement

Participants express varying opinions on the best methods for measuring power output, with no consensus on the ideal load type or measurement approach. The discussion remains unresolved regarding the optimal configuration for accurate measurements.

Contextual Notes

Participants highlight limitations in measurement accuracy due to the non-linear behavior of certain loads and the need for careful consideration of the generator's characteristics. There are unresolved questions about the best practices for correlating electrical output with mechanical input data.

Who May Find This Useful

This discussion may be useful for hobbyists and engineers interested in energy harvesting, generator design, and electrical measurement techniques.

Total_Insomnia
Hey folks,

I built a generator for fun and I would like to find out how much power it is producing when I use it. I have a way of measuring mechanical power in but I am not quite sure on how to measure electrical power out. I'm thinking I could use some LEDs to create a load (or maybe capacitors?). I can measure voltage with an Arduino but I'm not sure how or if I need to find the current.

Can I find the resistance of the LED's and the rest of the circuit with a multimeter then use P=V^2/R to get power?

Any suggestion, potential circuit layout, or other insight would be helpful.
 
Engineering news on Phys.org
A regular cheap multimeter should do the job, unless your generator is producing several kilowatts.
 
Definitely not generating that much power.

How would I use the multimeter though?

Ideally, I wanted to use an Arduino to collect data but I can cross that bridge later.
 
Is it a DC generator?
How much voltage can it produce at maximum speed?
How much mechanical input power?

Power (in Watts) = Volts * Amps, so the Arduino needs two analog input channels - one to measure terminal voltage, and another for current.

What is the maximum input voltage for the Arduino analog inputs?

Here's one way to go about it. Let's say mechanical input power is 50 watts, and generator output is 100 volts at full speed.
LEDs have non-linear resistance characteristics, and don't make for a good test load, but an appropriately rated resistor does.
Electrical power must be less than the 50 mechanical input watts, but whenever it is practical, it's a good idea to size the load resistor two or three times expected maximum power so resistor heating effects don't create a big measurement issue. Figuring for 100V and 50 watts gives a high end estimate of load current (about 0.5 amp, in this example), and translates to a resistance value of 50 ohms (R=E/I). OK, so we have a 50 ohm load resistor rated from at least 50 watts to 150 watts or more.

Chances are, maximum voltage rating for an Arduino analog channel is 10 volts or less, and it'll be necessary to use a voltage divider rather than measuring generator terminal voltage directly.

An inexpensive way to measure current is to add a low value "current sensing" resistor (say, 0.1 ohms) in series with the load, measure the voltage drop across it, and calculate the current (I=E/R). In this case, 0.1 ohms would yield a small voltage drop of only 50 millivolts at 0.5 amps, and this almost certainly won't be enough to provide good resolution. Instead of adding an op amp stage to bring this signal up to a usable value, in this case I'd use something like 10 ohms, or whatever gets the voltage drop close to full scale for the analog input.

50 ohm load + 0.1 ohm current sense resistor is 50.1 ohms versus 50 + 10 for 60 ohms total reduces total current. Rather than separate load and current sense resistors in series, use an adjustable wirewound resistor for the load, and set the adjustment slider to 10 ohms to get current feedback.
 
Asymptotic said:
maximum voltage rating for an Arduino analog channel is 10 volts or less

It depends on the voltage powering Arduino, so typically either 5 V or 3.3 V, divider is a must.

Having both multimeter and Arduino I would not even think about using the latter in this case. Main problem is with finding a good load. Halogen lamps in series or in parallel can be used (exact combination depending on the voltage/amperage).
 
Ok, thanks for your feedback.

Borek the reason I am trying to avoid a multimeter is this device is harvesting vibrational energy so I am not getting a constant power output. I want to be able to record the output over a period of time and then compare it to accelerometer data to get mechanical power in.

Some preliminary measurements show voltages peaking at around 6 Volts. I'm definitely on board with using the voltage divider that both Borek and Asymptotic have suggested.

Ok so if I understand the both of you correctly this is what is need:
Kbl1QEi.png

thanks
 
The right side of R3 should be moved to the battery/generator. Load current should not flow through the divider used for voltage measurement. You are on the right track.
 
I would have the Gen feed a capacitor (as a filter) and parallel known ( higher precision) resistor, then just measure the voltage across the resistor over time using P= V^2/R. I do not think measuring V and I will be much more accurate, without a precision instrument and the measurements have to be very well synchronized to be accurate.
 
Averagesupernova, I'm not quite sure what you mean. Could you elaborate? My understanding is if I move the resistor I will not be able to measure voltage as it is too high?

Windadct, do you mean something like this? I would still need a voltage divider, no?
ZsSoqLR.png


Definitely willing to try everything.

-Thanks
 
  • #10
Put the voltage divider parallel with the load. Use the resistors for the divider so that the current through them is in the (at most) μA range - high enough for measurement, low enough to not heat it up - R2+R3 >> R1.

Untitled-2.png
 
  • Like
Likes   Reactions: Total_Insomnia
  • #11
Total_Insomnia said:
Borek the reason I am trying to avoid a multimeter is this device is harvesting vibrational energy so I am not getting a constant power output. I want to be able to record the output over a period of time and then compare it to accelerometer data to get mechanical power in.

Can you provide more detail on the nature of the generator? I had been envisioning a small rotary DC generator with a permanent magnet field, but that doesn't fit in with the phrase "harvesting vibrational energy".

@Borek makes a good point about an Arduino being overkill, but from what I'm inferring from the above is you need to capture and store electrical power data using a fairly high sampling rate, and correlate it with an accelerometer. Is this accelerometer also being sensed and recorded by the Arduino? What is the desired sampling rate?
 
  • #12
@Borek, ok that makes sense. If I understand you correctly R1 is the load and R2 & R3 are for the voltage divider. Any suggestions about what R1 should be LEDs or halogen lights? Are there any key things I should be looking for?

@Asymptotic, I think the best way to describe it is similar to a shaker flashlight. Both accelerometer and (hopefully) power data will be captured by the Arduino. As for sampling rate, I have been working with every 10th of a second and that seems to be fast enough for now.

-Thanks
 
  • #13
Total_Insomnia said:
similar to a shaker flashlight
A coil wound around a hollow cylinder, a cylindrical magnet within, and either springs or oppositional magnets at both sides of the cylinder?
Something like this (from patent #US 6220719)?

shake_flashlight1.jpg


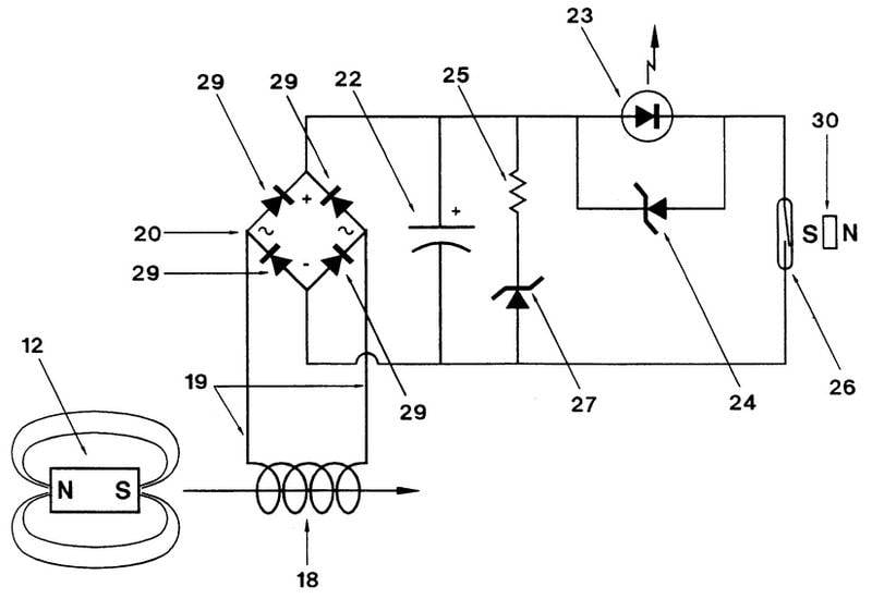
This is an AC generator. DC is produced using a full wave diode bridge.
shake_flashlight2.jpg


Total_Insomnia said:
Some preliminary measurements show voltages peaking at around 6 Volts.
Was this 6 volts measured across the coil itself (sans diode bridge)?
 
  • #14
@Asymptotic, yes pretty similar. Voltage was measured after the diode bridge.
 
  • #15
Total_Insomnia said:
If I understand you correctly R1 is the load and R2 & R3 are for the voltage divider.

Yes.

Any suggestions about what R1 should be LEDs or halogen lights?

The load should depend on what the generator is capable of. If the load is too low or too high the voltage will be fairly constant and what you will measure will be hardly related to the power produced. Small resistance sounds much better than LEDs, which are highly nonlinear. Just choose the resistor so that it has a high enough power rating. Halogens are reasonably good as they have high power rating and are easy to obtain, but their resistance goes up with the temperature, so whether they will work correctly depends on how constant the supplied power is.

Or at least that's what I expect based on what I know, I am far from being an expert when it comes to electronics.
 
  • Like
Likes   Reactions: Total_Insomnia
  • #16
A standard method for getting a rough indication of the maximum available power is as follows:-
1) Measure the voltage under open circuit conditions (with no resistor or load on the generator).
2) Measure the current under short circuit conditions (usually with a multimeter on a current range).
Then Maximum Available Power is approx = (1) x (2) / 4
If the power is fleeting, then an analogue multimeter can be used. Alternatively, an oscilloscope.
Avoid using diode circuits, because the diode will drop 0.5 Volts, which is a large part of your output.
 
  • Like
Likes   Reactions: Asymptotic, anorlunda and Total_Insomnia
  • #17
Borek said:
Halogen lamps in series or in parallel can be used
Tungsten filaments change their resistance a lot as they go from cold to hottest so they are not straightforward to use as 'known' loads. Power resistors are not expensive and you would not need to buy many different values if you do your planning right.
Also, the frequency of the linear generator is gong to be quite low. A processor would probably give you a better indication of the power into a load resistor. There must be many ready made programs to do that for you.
 
  • Like
Likes   Reactions: Total_Insomnia
  • #18
(1) Would it be easier/better to use a simple circuit with an analog integrator function to output a continuous floating average value of the generator power level being measured ?

At minimum a leaky capacitor circuit might be adequate though an op amp based system would not be difficult to build .

(2) We don't know what your resources are but there are many USB plug in measurement devices on sale at quite low prices in some cases . With such a device you could capture data at your chosen rate and use the supplied software to generate meter and scope displays and also perform calculations like finding average power levels and then display those as well .

(3) I built an analog to digital board for my Apple II many years ago . With my DIY software this could be used to capture data and give quite useful meter and scope displays . It worked very successfully until just a few years ago when the Apple II finally died of old age . If you want a nice and very practical project you could build a modern day version . There are published designs and kits available to get you started .
 
Last edited:
  • Like
Likes   Reactions: Total_Insomnia
  • #19
IMG_0022 (2).JPG


IMG_0021.JPG


The smaller board is for plugging into one of the Apple II expansion bus slots .
 
  • Like
Likes   Reactions: jim mcnamara
  • #20
Borek said:
Halogens are reasonably good as they have high power rating and are easy to obtain, but their resistance goes up with the temperature, so whether they will work correctly depends on how constant the supplied power is.

sophiecentaur said:
Tungsten filaments change their resistance a lot as they go from cold to hottest so they are not straightforward to use as 'known' loads. Power resistors are not expensive and you would not need to buy many different values if you do your planning right.

@Borek, @sophiecentaur, I would be running the test and collecting data for around 2 minutes do you think this would be enough time for the resistance of a Halogen light to change from heating up?

Also @sophiecentaur you mentioned power resistors. This is something I was not familiar with until just now. I did some googling though, would I be able to through some of these into create a load? I saw in a few places something about needing to make a load bank?

@tech99, When you say diode circuit I am assuming you are talking about the diode bridge? In this case, do you have a way around using one? I don't know of another way of converting between AC and DC?

@Nidum, That looks really cool man and maybe a project for later but right now I would like to try to keep it a little simpler.

Thanks everyone!
 
  • #21
Total_Insomnia said:
I would be running the test and collecting data for around 2 minutes do you think this would be enough time for the resistance of a Halogen light to change from heating up?

It is about just the filament getting hot. Dark halogen that works just as a resistor and is not producing any light has low resistance, halogen that has hot filament and is bright has the resistance much higher (with all possible intermediate states). It doesn't matter whether the bulb itself gets hot or not in the meantime, it is about the temperature of the tungsten wire.

@sophiecentaur is perfectly right about power resistors being much more accurate, I was just under impression you are looking for kind of a makeshift solution. Plus, in my experience finding power resistors capable of surviving more that single digits watts is difficult. It doesn't have to be this way where you live, and you can always play with making net of resistors capable of surviving any load; a friend of mine has built a starting current meter using them, we are talking about a kW range here. Up to you to decide which approach is better.
 
  • #23
Cheaper on eBay. Have a look.
 
  • #24
Borek said:
@sophiecentaur is perfectly right about power resistors being much more accurate, I was just under impression you are looking for kind of a makeshift solution.
For the possible frequencies that the linear generator may produce, it will probably be impossible for a DMM to give a reliable reading for V or I and, with a non ohmic resistor, he will need to be reading both V and I (Two dmms which need to be read at the same time) Slowly changing volts on a filament bulb give some very odd results as the thermal delay affects the VI curve which is not a straight line and not even an S shape except at the best of times. With AC frequencies below 20Hz or so, the curve has a hole in the middle - hysteresis shape because of thermal delay. I have seen this and demonstrated it to A level students - making them even more confused than they were when I started. The only solution to this measurement problem has to be to measure V and I and numerically integrate the values over a (long) time, I think, with halogen bulbs or power resistors or even Frankfurter Sausages.
 
  • #25
What about calorimetry ? Sounds off the wall but it's what the original guys didImmerse your resistor or lamp in a vacuum-insulated glass type Thermos jug filled with a known amount of distilled water . (use 0.5 liter ? seems a convenient amount for a small Thermos).
You'll have to snake the wires in through the top somehow, i'd drill holes in a cork and use tiny wire to minimize heat conduction in or out.

let it run overnight and measure temperature rise.

Multiply mass of water by temperature rise
you collected 4.184 joules per gram-degree of temperature rise.
Divide by seconds to get watts, more likely millliwatts...

That way you don't need a rectifier and Mother Nature does the integration.
And you don't worry about frequency response of a DMM. Many of them are terrible below 50 hz..

old jim
 
  • Like
Likes   Reactions: Borek and dlgoff
  • #26
jim hardy said:
What about calorimetry ?
There speaks a Power Engineer! :biggrin:
It's W not MW we're dealing with here.
jim hardy said:
Mother Nature does the integration
And she integrates all sources and drains of thermal energy. There would be a detectable rise in temperature but the errors could be high. There are techniques like starting and ending the measurement at temperatures that straddle ambient and there's Callender and Barnes method too. I think Mr. Arduino could give a better answer in situations where V and I measurements are available.
 
  • Like
Likes   Reactions: jim hardy
  • #27
sophiecentaur said:
I think Mr. Arduino could give a better answer in situations where V and I measurements are available.

Indubitably. I just don't like computers.
 
  • Like
Likes   Reactions: sophiecentaur, Tom.G and tech99
  • #28
jim hardy said:
Indubitably. I just don't like computers.
Says one of the most profuse contributors to PF. Lols
 
  • #29
@jim hardy, Hahaha that is an amazing suggestion. Unfortunately, it wouldn't give me the time correlated data I need. But if nothing else it gives some interesting historical context/ insight. We'll call that plan C.

Plan A: Use this setup, as @Borek suggested, with a halogen light.
Hiy4uET.png


Then if that is not accurate enough we can move to plan B and use power resistors as @sophiecentaur suggested. Thoughts?

Thanks.
 
  • #30
Do you know at least approximately what voltages/currents (what range) to expect?

As @sophiecentaur wrote things can get quite tricky if the halogen temperature changes rapidly (I had no idea they can get THAT tricky).
 

Similar threads

  • · Replies 38 ·
2
Replies
38
Views
6K
Replies
2
Views
2K
  • · Replies 0 ·
Replies
0
Views
1K
  • · Replies 10 ·
Replies
10
Views
2K
  • · Replies 16 ·
Replies
16
Views
3K
  • · Replies 10 ·
Replies
10
Views
3K
  • · Replies 11 ·
Replies
11
Views
2K
Replies
8
Views
2K
  • · Replies 4 ·
Replies
4
Views
2K
Replies
31
Views
4K