Fuzzy Control: Setting Membership Ranges

  • Thread starter Thread starter luca99
  • Start date Start date
  • Tags Tags
    Control
Click For Summary
SUMMARY

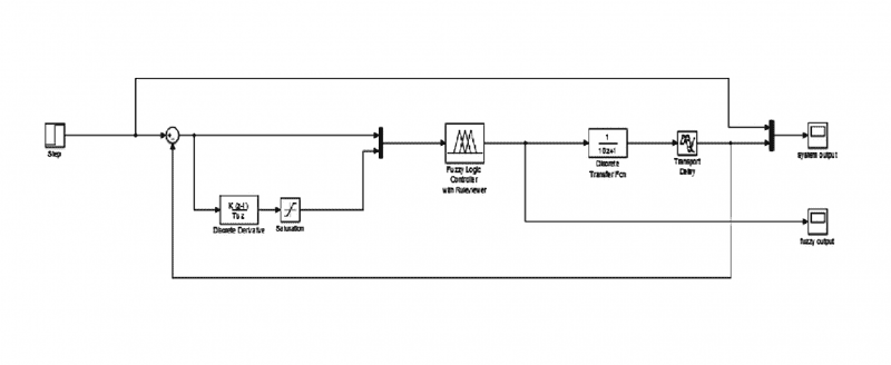
This discussion focuses on setting membership ranges in fuzzy control systems, specifically using the Fuzzy Logic Toolbox in MATLAB Simulink. Participants emphasize the importance of defining clear membership functions to effectively implement fuzzy rules. The use of the fuzzy logic GUI is recommended for visualizing and adjusting these membership ranges. The context involves a system where the input is a step function followed by a transfer function.

PREREQUISITES
  • Understanding of fuzzy logic principles
  • Familiarity with MATLAB Simulink
  • Knowledge of membership functions in fuzzy systems
  • Experience with transfer functions in control systems
NEXT STEPS
  • Explore the Fuzzy Logic Toolbox in MATLAB for practical implementation
  • Learn how to define and adjust membership functions in fuzzy systems
  • Study the integration of fuzzy logic with transfer functions in control systems
  • Research advanced fuzzy control techniques and their applications
USEFUL FOR

Control system engineers, fuzzy logic practitioners, and anyone involved in designing or optimizing fuzzy control systems using MATLAB Simulink.

luca99
Messages
1
Reaction score
0
How can I set the ranges of memberships in a fuzzy control? I know my rules, but I don't know how to set ranges, the input of the entire system is a step and after the fuzzy block there is a transfer function and the output.
 

Attachments

  • Fuzzy Block Scheme.png
    Fuzzy Block Scheme.png
    38.5 KB · Views: 606
  • Rules.png
    Rules.png
    11.7 KB · Views: 566
Engineering news on Phys.org
Here's some discussion on fuzzy logic that may guide you to an answer:

http://www.doc.ic.ac.uk/~nd/surprise_96/journal/vol2/jp6/article2.html
 
luca99 said:
How can I set the ranges of memberships in a fuzzy control? I know my rules, but I don't know how to set ranges, the input of the entire system is a step and after the fuzzy block there is a transfer function and the output.
you're doing that in simulink and using the fuzzy logix block?
simply use the fuzzy logic GUI to implement the rules you have in mind
 

Similar threads

Replies
1
Views
1K
  • · Replies 9 ·
Replies
9
Views
2K
  • · Replies 3 ·
Replies
3
Views
899
  • · Replies 12 ·
Replies
12
Views
4K
  • · Replies 5 ·
Replies
5
Views
3K
  • · Replies 14 ·
Replies
14
Views
3K
  • · Replies 1 ·
Replies
1
Views
2K
  • · Replies 3 ·
Replies
3
Views
2K
  • · Replies 46 ·
2
Replies
46
Views
6K
  • · Replies 3 ·
Replies
3
Views
2K