How to analyze diode circuits? (Find waveform generated)

Click For Summary
SUMMARY

This discussion focuses on analyzing diode circuits and the resulting waveforms generated from them. The key points include the clipping of positive and negative edges at +0.7V and -0.7V respectively due to the characteristics of the diodes. The rectified waveform reaches a cap of 5.6V due to a Zener diode, and the waveform starts from 4.3V, getting clipped at 12.74V. Participants confirm the accuracy of their current path drawings and seek clarification on specific waveform behaviors.

PREREQUISITES
  • Understanding of diode characteristics, specifically forward and reverse bias behavior.
  • Familiarity with waveform analysis and clipping in electrical circuits.
  • Knowledge of Zener diodes and their voltage regulation properties.
  • Basic circuit analysis skills, including current path determination.
NEXT STEPS
  • Study the principles of diode clipping and rectification in circuits.
  • Learn about Zener diode applications in voltage regulation.
  • Explore waveform analysis techniques using simulation tools like LTspice.
  • Investigate the effects of different diode types on waveform characteristics.
USEFUL FOR

Electrical engineering students, circuit designers, and hobbyists interested in understanding diode behavior and waveform analysis in electronic circuits.

eehelp150
Messages
235
Reaction score
0

Homework Statement


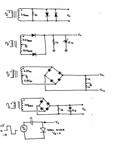
To analyze these circuits, we need to draw the current path right? I know that current can only flow one direction through a diode.
http://i.imgur.com/kipBcax.png

Homework Equations


N/A

The Attempt at a Solution


Are these paths correct? Green = positive, red = negative
1. Positive edge can only go through diode 1, so the positive edge gets clipped to +0.7V. Negative edge can only go through diode 2, so negative edge gets clipped to -0.7V
http://i.imgur.com/Sx8MvpY.png

2. Positive edge of top waveform can go through top diode. Negative edge of top waveform cannot.
Positive edge of bottom waveform cannot go through bottom diode. Negative can.
Results in rectified wave form capped at 5.6V due to the Zener
http://i.imgur.com/XYa5e5H.png

3. Don't really know how this one works

4. The waveform for this would 'start' from 4.3V (5V - 0.7V) and get clipped at 12.74V (14.14V - 2x0.7V)
http://i.imgur.com/iTStF8O.png

5. The positive edge can go through the diode but the negative one cannot. What would the waveform look like?
http://i.imgur.com/DoMnqwM.png

Am I doing these questions right?
 

Attachments

  • upload_2016-11-1_16-44-44.png
    upload_2016-11-1_16-44-44.png
    52.2 KB · Views: 621
Physics news on Phys.org
eehelp150 said:
1. Positive edge can only go through diode 1, so the positive edge gets clipped to +0.7V. Negative edge can only go through diode 2, so negative edge gets clipped to -0.7V
Check out this thread from the beginning.
https://www.physicsforums.com/posts/5590333/
 

Similar threads

  • · Replies 8 ·
Replies
8
Views
2K
  • · Replies 4 ·
Replies
4
Views
2K
  • · Replies 4 ·
Replies
4
Views
3K
  • · Replies 6 ·
Replies
6
Views
3K
  • · Replies 4 ·
Replies
4
Views
4K
  • · Replies 7 ·
Replies
7
Views
3K
  • · Replies 8 ·
Replies
8
Views
5K
  • · Replies 6 ·
Replies
6
Views
6K
  • · Replies 6 ·
Replies
6
Views
6K
  • · Replies 2 ·
Replies
2
Views
2K