Voltage generators in open edges and Thevenin's generator

Click For Summary

Discussion Overview

The discussion revolves around a homework problem involving an electrical circuit with an ideal current source, resistors, and a capacitor. Participants explore the application of Thevenin's theorem, nodal analysis, and the effects of open branches in the circuit.

Discussion Character

  • Homework-related
  • Mathematical reasoning
  • Technical explanation

Main Points Raised

  • One participant expresses confusion about how a voltage generator in an open edge affects the rest of the circuit and whether it should be included in calculations.
  • Another participant suggests that open branches do not affect the circuit since current cannot flow without a closed path, indicating they can be ignored unless the potential at the open switch is needed.
  • There is a discussion about the choice of using Thevenin's theorem versus nodal analysis, with one participant noting that they are allowed to solve the problem in any way they prefer.
  • A participant describes their strategy for finding Thevenin's EMF and how to approach the circuit after closing the switch, mentioning the relationship between the capacitor voltage and the circuit elements.
  • Another participant suggests starting by finding expressions for the steady-state voltages across the capacitor, relating them to the change in capacitor voltage.
  • There is a query about how to treat the capacitor when using the node potential method, with a participant proposing that the capacitor branch can be omitted in calculations at steady state.
  • A later reply confirms that at steady state, no current flows through the capacitor, treating it as an open circuit.

Areas of Agreement / Disagreement

Participants express differing views on the necessity of using Thevenin's theorem and the treatment of open branches in the circuit. There is no consensus on a single approach, as various methods are discussed and explored.

Contextual Notes

Participants acknowledge limitations in their understanding of circuit theory, particularly regarding Thevenin's theorem and the behavior of capacitors in steady-state conditions.

irrationally
Messages
11
Reaction score
0

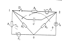
Homework Statement


2015_02_03_1905.png

I hope you can see the picture clearly. Someone drew lines over it,so please try to ignore that.
The problem here is to determine the current of ideal current source Ig, if following parameters are known:
-E1=50V, E3=30V
-R1=200Ω, R2=500Ω, R3=3kΩ, R4= 10 kΩ
-C=0.7 μF
-Charge flow trough the edge with capacitor after closing the switch Π is Q12 = 0.213 mC.

Homework Equations


-Thevenin and Norton theorem.
-Ohm's law
-Millman's theorem

The Attempt at a Solution


My attempt is to tranform the current generator to a voltage generator and then find the voltage U12. Then i would find Thevenin's generator and equivalent resistance and get a simple circuit. What to do after closing the switch. The biggest problem here is not exactly related to this problem - How does a voltage generator in an open edge affect the rest of the circut? Do we need to take it into calculations? How to set Kirchoff's second law equations? Are resistors in open edges included into calculating equivalent resistance for Thevenin's generator? These problems arise because my base knowledge of circuits is weak. :L:L:L
 
Physics news on Phys.org
Does the problem statement specifically require you to use Thevenin's Theorem here? I can where nodal analysis might be advantageous.

Regarding open branches (E3 and R3 in your diagram when the switch is open), they have no effect on the circuit. Current cannot flow without a closed path. You may ignore them unless you need the potential at the open switch.
 
No, it does not. I'm allowed to solve it any way i want, but i mentioned Thevenin's theorem since i have confusions related to it and i tried using it. Any solution is welcome ;)
 
irrationally said:
No, it does not. I'm allowed to solve it any way i want, but i mentioned Thevenin's theorem since i have confusions related to it and i tried using it. Any solution is welcome ;)
I see. Well, you could use Thevenin, but it may be more effort than necessary. Your choice.

What's your overall strategy for finding the current value?
 
Well first i find the Thevenin's EMF ( in function of Ig). Then i close the switch and now the voltage of the edge with R3 is equal to the voltage of the capacitor when the switch is open + Δq*C. There is no current flow trough the capacitor so we are left with a simple circuit with elements : E1, R5, Rt, Et(in function of Ig). From here , I hoped to somehow get the Et, but i am kinda stuck.
 
irrationally said:
Well first i find the Thevenin's EMF ( in function of Ig). Then i close the switch and now the voltage of the edge with R3 is equal to the voltage of the capacitor when the switch is open + Δq*C. There is no current flow trough the capacitor so we are left with a simple circuit with elements : E1, R5, Rt, Et(in function of Ig). From here , I hoped to somehow get the Et, but i am kinda stuck.
Yeah, you probably want to start by finding expressions for the two steady-state voltages that will appear across the capacitor (both will involve Ig and some constants). Then you can use your change in capacitor voltage Δq*C to relate them. Essentailly that means find the potentials at nodes 1 and 2 for both cases.
 
Okay, i can find potentials at nodes 1 and 2 in the first case easily. But what do i do in the second case? How do I treat capacitor when using node potential method for example? My idea is that that branch doesn't contribute to overall current entering the node 0 or 1 , so it can be omitted in calculations. Is this correct?
 
irrationally said:
Okay, i can find potentials at nodes 1 and 2 in the first case easily. But what do i do in the second case? How do I treat capacitor when using node potential method for example? My idea is that that branch doesn't contribute to overall current entering the node 0 or 1 , so it can be omitted in calculations. Is this correct?
Right. At steady state no current flows through the capacitor: it looks like an open circuit.
 
Oh well this then becomes a very simple problem. Thanks so much.
 

Similar threads

  • · Replies 17 ·
Replies
17
Views
3K
  • · Replies 10 ·
Replies
10
Views
4K
  • · Replies 42 ·
2
Replies
42
Views
7K
  • · Replies 5 ·
Replies
5
Views
3K
  • · Replies 9 ·
Replies
9
Views
6K
  • · Replies 1 ·
Replies
1
Views
2K
  • · Replies 5 ·
Replies
5
Views
2K
  • · Replies 12 ·
Replies
12
Views
3K
  • · Replies 8 ·
Replies
8
Views
2K
  • · Replies 4 ·
Replies
4
Views
3K