Pressure in tank pipe -- Bernoulli Equations

Click For Summary

Homework Help Overview

The discussion revolves around a problem involving fluid dynamics, specifically applying Bernoulli's equation to a pressurized cylindrical tank with water flowing through a pipe. The scenario includes various points of interest with different heights and cross-sectional areas, prompting questions about pressure calculations at these points.

Discussion Character

  • Mixed

Approaches and Questions Raised

  • Participants explore the application of Bernoulli's equation and the continuity equation to find pressures at different points in the system. There are discussions about the assumptions regarding atmospheric pressure at point C and the implications of using gauge pressure versus absolute pressure.

Discussion Status

Some participants have provided guidance on how to rearrange Bernoulli's equation to derive the necessary pressure values. There is acknowledgment of the complexity involved in understanding the derivation of the formulas, and multiple interpretations of the problem are being explored.

Contextual Notes

There is uncertainty regarding the pressure at point C and whether it can be assumed to be atmospheric pressure. Participants also express concerns about the number of unknowns in the equations and the implications for solving the problem.

AnotherParadox
Messages
35
Reaction score
3

Homework Statement


f4891dce2cb1bcdc52342eaa95a7df27.png
[/B]
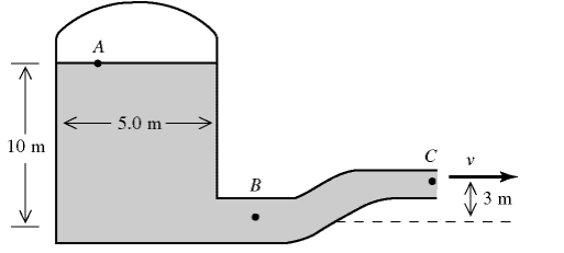
A pressurized cylindrical tank, 5m in diameter, contains water which emerges from the pipe at point C with a velocity of 25 m/s. Point A is 10m above point B and point C is 3m above point B. The area of the pipe at point B is 0.07 m2 and the pipe narrows to an area of 0.02m2 at Point C. Assume the water is an ideal fluid in laminar flow. The density of water 1000kg/m3

Homework Equations


Continuity Equation:
VBAB=VCAC

Bernouli's equation:
Let D = density of water
PB + (1/2)DVB2+DghB = PC + (1/2)DVC2+DghC

The Attempt at a Solution


Let D = density of water
VBAB=VCAC
Therefore
VB=[VCAC]/AB=[25*0.02]/0.07=7.14m/s

PB + (1/2)DVB2+DghB = PC + (1/2)DVC2+DghC
Therefore
PB = PC + (1/2)DVC2+DghC -(1/2)DVB2-DghB

Except PC and PBis unknown so this approach shouldn't work. One of my peers claims it is the same as 1 ATM but I'm doubtful since this does not result in answer which is accurate. I don't see how The pressure at Point C could possibly be 1atm... 2 unknowns .. 1 equation.. not going to work :( correct me if wrong.

Upon searching the internet I came across the solution.. which does yield what I firmly believe is the correct answer .. however I don't not understand how this formula came about..

Let D = density of water

PB = [VC2/(2G) - VB2/(2G) + y)Dg
=(252/(2*9.8) - (7.142/(2*9.8) + 3)*1000*9.8
~=~ 316410 Pa ~=~ 320 kPa

It appears to be some variation of the Bernoulli formula but I need to demonstrate how to take those formulas and make them into this format... which I don't even know where to begin. I don't need to know how to derive the formulas that this one came from .. in other words.. I can just say here's the Bernoulli equation .. rearrange and combine like so and obtain this: (without having to derive the Bernoulli equation itself).

Please and thank you.
 
Physics news on Phys.org
What are you trying to find? Pressure at B? Or Pressure at A? You don't need to consider what's going on at point B to do that.

AnotherParadox said:
Except PC and PBis unknown so this approach shouldn't work. One of my peers claims it is the same as 1 ATM but I'm doubtful since this does not result in answer which is accurate. I don't see how The pressure at Point C could possibly be 1atm...
.
Presumably the pipe vents to atmosphere, so point C must be at atmospheric pressure.

AnotherParadox said:
Let D = density of water

PB = [VC2/(2G) - VB2/(2G) + y)Dg
=(252/(2*9.8) - (7.142/(2*9.8) + 3)*1000*9.8
~=~ 316410 Pa ~=~ 320 kPa

It appears to be some variation of the Bernoulli formula but I need to demonstrate how to take those formulas and make them into this format... which I don't even know where to begin. I don't need to know how to derive the formulas that this one came from .. in other words.. I can just say here's the Bernoulli equation .. rearrange and combine like so and obtain this

That is just bernoulli's equation, you were actually very close to reaching that arrangement :
.
AnotherParadox said:
PB = PC + (1/2)DVC2+DghC -(1/2)DVB2-DghB

Use gauge pressure as your datum so PC = 0, and let your height datum be at point B so hB = 0. Plug all those in and collect like terms and you'll reach the solution you quoted, note that the answer is still guage, not absolute pressure.
 
  • Like
Likes   Reactions: Chestermiller and AnotherParadox
billy_joule said:
What are you trying to find? Pressure at B? Or Pressure at A? You don't need to consider what's going on at point B to do that.Presumably the pipe vents to atmosphere, so point C must be at atmospheric pressure.
That is just bernoulli's equation, you were actually very close to reaching that arrangement :
.Use gauge pressure as your datum so PC = 0, and let your height datum be at point B so hB = 0. Plug all those in and collect like terms and you'll reach the solution you quoted, note that the answer is still guage, not absolute pressure.
Changed it to 0 and bam same kPa in for gauge pressure. Thanks a ton you have no idea how many countless hours I spent on this damn problem.
 
AnotherParadox said:
Changed it to 0 and bam same kPa in for gauge pressure. Thanks a ton you have no idea how many countless hours I spent on this damn problem.
Great, you're welcome.
 

Similar threads

  • · Replies 13 ·
Replies
13
Views
2K
Replies
2
Views
1K
  • · Replies 6 ·
Replies
6
Views
2K
Replies
60
Views
7K
  • · Replies 7 ·
Replies
7
Views
3K
  • · Replies 6 ·
Replies
6
Views
5K
  • · Replies 30 ·
2
Replies
30
Views
3K
Replies
3
Views
2K
Replies
6
Views
2K
  • · Replies 6 ·
Replies
6
Views
3K