Real Life Third Class Lever Problem

  • Thread starter Thread starter OceanWanderer
  • Start date Start date
  • Tags Tags
    Class Lever Life
Click For Summary
SUMMARY

This discussion focuses on constructing a third class lever system to lift 500lb and 1500lb hulls using materials from a local hardware store. Two primary options are considered: modifying an engine hoist for an 11' height requirement or building a jib crane primarily from wood with metal or fiberglass reinforcements. Key considerations include the size of wood for structural components, the strongest methods for joining wood at 90-degree angles, and exploring cost-effective construction alternatives. Specific dimensions and load calculations are provided to guide the design process.

PREREQUISITES
  • Understanding of third class lever mechanics
  • Basic knowledge of structural engineering principles
  • Familiarity with woodworking and material selection
  • Experience with load calculations and stress analysis
NEXT STEPS
  • Research wood species and their load-bearing capacities for construction
  • Learn about effective joint techniques for wooden structures, such as mortise and tenon
  • Explore design principles for jib cranes and their mechanical advantages
  • Investigate pulley systems and their applications in lifting heavy loads
USEFUL FOR

Individuals involved in DIY projects, structural engineers, and hobbyists looking to build lifting mechanisms for heavy objects, particularly in marine applications.

OceanWanderer
Messages
2
Reaction score
0
I am looking at building a pair of third class levers out of materials found at the local hardware store to lift up some 500lb and 1500lb hulls.

I have systematically gone through every option available to move these hull pieces out of the mold and I'm left with two:

1) Modify an "off the shelf" engine hoist to handle the 11' height requirement and load, or...

2) Build a wooden/metal/fiberglass/whatever jib crane (third class lever) on wheels to lift the hulls out of the mold and roll them aside.

Here are a couple of photos, which will explain things better than another 100 words. The first picture is somebody fortunate enough to have a roof with girders to attach ropes to. Must be nice. I have nothing overhead to attach to. The second picture is what I'd like to build out of primarily wood, found at the local hardware store, glue and metal or fiberglass reinforcements on the faces that would be in tension. I guess... that's where I need some input.

attachment.php?attachmentid=31158&stc=1&d=1294515138.jpg

Lifting with rope.

attachment.php?attachmentid=31159&stc=1&d=1294515138.jpg

The lift I'd like to make.

Questions:

1) What size of wood should I use for the structure... load beam, upright, legs?

2) What is the strongest way to join the wood from question #1 at the 90 degree joins seen in the diagram? Note that the 90 degree join is also the fulcrum, which gets a bit nasty.

3) Is there any other cost-effective way to build this?

The load to be lifted is a "c" shaped hull, like in the first picture, coming out of a mold by rope and pulley. Depending on the level of completion of the hull, it will weigh 500lbs (skin only) or 1500lbs (two skins joined with bulkheads installed). When two are joined and coming out of the mold, it will look like my diagram. The hull parts are 45' long by 8' wide by 3ft deep when on its side as seen in the picture. Sometimes, I have to pull a fully joined one off the mold (like in my diagram) that is 45' x 8' x 6'. This is made up of two half hulls that come off the mold after being joined.

Any ideas??
 

Attachments

  • HullLift.jpg
    HullLift.jpg
    76.6 KB · Views: 774
  • Lift.jpg
    Lift.jpg
    15.8 KB · Views: 959
Engineering news on Phys.org
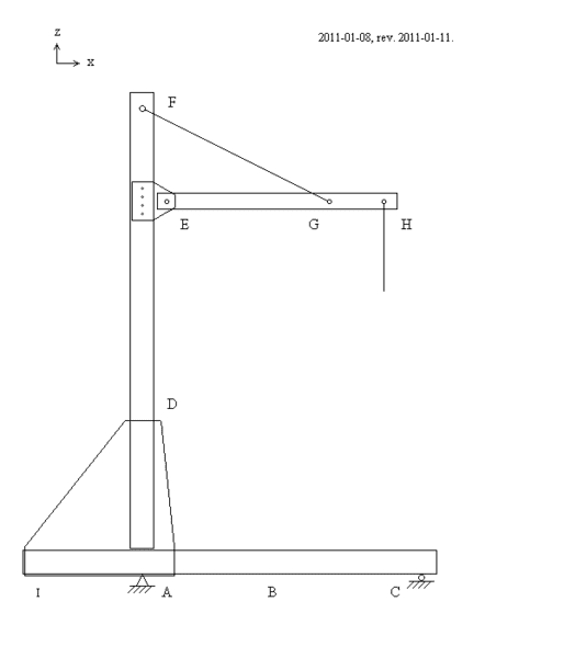
OceanWanderer: You might try something like this, if you wish. See attached file. Not to scale. The stress depends on the exact dimensions (mm), details, and materials. A board or bar is shown at BD, glued or attached to the inboard edge of member ABD, to help prevent member ABD from buckling.
 

Attachments

  • jib-crane-01.png
    jib-crane-01.png
    3.2 KB · Views: 623
Last edited:
OceanWanderer: You might try something like this, if you wish. See attached file. Not to scale. The stress depends on the exact dimensions (mm), details, and materials. I am currently assuming the maximum load on one jib crane, applied at the vertical cable at point H, is P1 = 4470 N, due to either imbalance of the hull weight, or due to the hull being slightly stuck to the mold and needing to pop free initially. I am currently assuming the distance from the centerline of member AF to the cable at point H is a2 = 1540 mm. Just to give you a rough idea, for the above data, if the material is wood (depending on the species), then members AF and CI would probably need to have a cross-sectional size of 235 x 114 mm (where 235 mm is the cross-sectional height, h1, in the x or z direction, and 114 mm is the cross-sectional width, b1, in the y direction, into the page).
 

Attachments

  • jib-crane-02.png
    jib-crane-02.png
    3.5 KB · Views: 553

Similar threads

  • · Replies 6 ·
Replies
6
Views
2K
  • · Replies 9 ·
Replies
9
Views
14K
Replies
1
Views
5K
  • · Replies 2 ·
Replies
2
Views
3K
Replies
4
Views
14K
  • · Replies 12 ·
Replies
12
Views
9K
  • · Replies 27 ·
Replies
27
Views
11K
  • · Replies 18 ·
Replies
18
Views
5K
  • · Replies 3 ·
Replies
3
Views
2K
  • · Replies 12 ·
Replies
12
Views
10K