Resonant cavity and circuit analysis

Click For Summary

Discussion Overview

The discussion revolves around the analysis of resonant cavities in the context of electromagnetic theory and circuit representation. Participants explore the relationship between the modes of a resonant cavity, as derived from Maxwell's equations, and their corresponding RCL circuit models. The conversation includes technical aspects of circuit analysis and the implications of different modes, specifically TM and TE modes.

Discussion Character

  • Technical explanation
  • Mathematical reasoning
  • Debate/contested

Main Points Raised

  • One participant suggests that solving Maxwell's equations for a resonant cavity leads to an eigenvalue problem, with different modes corresponding to RCL circuits.
  • Another participant proposes that each extremum of the electric field corresponds to a capacitor, while nodes correspond to inductors, leading to a ladder circuit representation.
  • A specific example is provided where the TM02 mode is described to have 11 elements (8 inductors and 3 capacitors) before reduction to an equivalent circuit.
  • Concerns are raised about the narrowband nature of the LC circuit approximation.
  • One participant questions the reasoning behind associating extremums of the electric field with capacitors and nodes with inductors, seeking clarification on the relationship.
  • Another participant explains that the extremum of the electric field corresponds to areas of high voltage and low current, which aligns with capacitor behavior, while zero electric field regions relate to higher current states.
  • A participant expresses uncertainty regarding the concept of low currents in this context, indicating a need for further clarification on induced currents.

Areas of Agreement / Disagreement

Participants exhibit varying levels of understanding regarding the relationship between electromagnetic modes and circuit elements, with some agreement on the basic principles but ongoing questions and clarifications needed about specific details and reasoning.

Contextual Notes

Participants acknowledge limitations in their understanding of both electromagnetic theory and circuit analysis, which may affect their interpretations and discussions.

dRic2
Gold Member
Messages
887
Reaction score
225
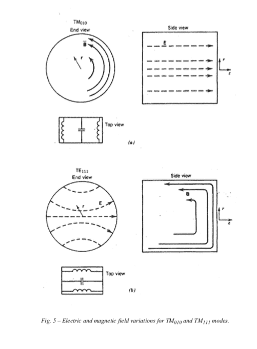
As I understand, if you solve the Maxwell's field equations for a resonant cavity, supposing a time dependence of the form ##e^{iwt}##, you get an eigenvalue problem and different modes as possible solutions. I'm reading some notes where the author states that each mode can be associated with a corresponding RCL circuit. Assuming ideal conducting walls you have no resistances (a part from a possible device to which the cavity is coupled), but I don't get how to draw the corresponding circuit for each TM or TE mode. To better explain myself I'll post some pictures:
Schermata 2020-05-06 alle 23.31.31.png
Schermata 2020-05-06 alle 23.31.35.png
 
Physics news on Phys.org
You should start with each extremum of E corresponding to capacitor, and node corresponding to inductor. You will get ladder circuit. Afterward, you need to treat each section of ladder as resonator in primary resonance, and calculate values of L and C. After calculation is complete for each section, produce the equivalent circuit for the frequency of interest. Some sections will reduce to single capacitors, while others - for single inductors.
For example, TM02 will have 11 elements (8 inductors and 3 capacitors) before reduction. Of course, such LC circuit approximation is intrinsically narrowband.
 
  • Like
Likes   Reactions: dRic2
Thanks a lot. But I am pretty weak in both E&M and circuit analysis...

trurle said:
You should start with each extremum of E corresponding to capacitor, and node corresponding to inductor.
Can you explain why this is so?
 
dRic2 said:
Can you explain why this is so?
Extremum of E corresponds to resonator area with large swings of voltage but low currents. This state is well approximated by capacitor. Opposite is correct for zero of electric field.
 
trurle said:
low currents
Why do you say that ? I suppose we are talking about induced currents, but I don't see it
 

Similar threads

  • · Replies 9 ·
Replies
9
Views
1K
  • · Replies 1 ·
Replies
1
Views
2K
  • · Replies 2 ·
Replies
2
Views
4K
  • · Replies 73 ·
3
Replies
73
Views
10K
  • · Replies 1 ·
Replies
1
Views
2K
  • · Replies 16 ·
Replies
16
Views
4K
  • · Replies 3 ·
Replies
3
Views
2K
  • · Replies 6 ·
Replies
6
Views
4K
  • · Replies 11 ·
Replies
11
Views
2K
Replies
15
Views
3K